VIVAX BH-02T Series Built-In Ceramic Circuit Board

Built-in Hob

Dear Customer,
Pieces of packaging (plastic bags, polystyrene etc.) must not be left within reach of children, as they are potentially dangerous. Please dispose of packaging thoughtfully by the appropriate means.
To this effect, we recommend that you read the entire guide carefully before operating the product and keep it as a reference. If you transfer the device to a third party, please give them this manual, to the new owner familiar with the device functions and warnings relevant to the safe use of the device.
Warning: All our appliances are only for domestic use, not for commercial use.
THIS APPLIANCE SHALL BE INSTALLED IN ACCORDANCE WITH THE REGULATIONS IN FORCE AND ONLY USED IN A WELL VENTILATED SPACE. READ THE INSTRUCTIONS BEFORE INSTALLING OR USING THIS APPLIANCE
WARNING:
MAINTENANCE
Do not allow sugar, sauces or juices to burn on the cooking plate.
This can DAMAGE the glass surface or even melt of the glass surface or make subsequent cleaning much more difficult!
The light color change on the plate are normal and don’t have any influence on working performances.
IMPORTANT AND SAFETY
WARNINGS
- WARNING: This appliance must be earthed!
- Please find required information as power and ratings for your cooker from rating label is which located behind of appliance.
- Ensure that the electricity supply is turned OFF before installing your appliance.
- Ensure that the appliance is switched off before replacing the lamp to avoid the possibility of electric shock.
- If the supply cord is damaged, it must be replaced by the manufacturer, its services agent or similar qualified persons in order to avoid hazard.
- Keep the electrical cable of your cooker away from the hot areas; do not let them touch the appliance. Keep them away from sharp sides and heated surfaces.
- Usage of your appliance creates moisture and heat in the room; make sure that your kitchen is well ventilated.
- Prolonged intensive use of the appliance may call for additional ventilation, for example opening increasing the level of mechanical ventilation where present.
- When the cooker is hot never touch the cooker glass by hand.
- This appliance is for cooking purposes only. It must not be used for other purposes, for example room heating. All our appliances are only for domestic use, not for commercial use.
- Before starting to use your appliance, keep curtains, paper or inflammable things away from your appliance. Do not keep combustible or inflammable things in or near the appliance.
- This appliance can be used by children aged from 8 years and above and persons with reduced physical, sensory or mental capabilities or lack of experience and knowledge if they have been given supervision or instruction concerning use of the appliance in a safe way and understand the hazards involved.
- Children shall not play with the appliance.
- Cleaning and user maintenance shall not be made by children unless they are supervised.
- Use glove when using cooker. Do not touch on hot surfaces.
- Do not use cooker in potentially explosive atmospheres.
- If the current rate of the fuse in your installation is less than 16 Amp, have a qualified electrician fit a16 Amp fuse.
- When the oven is being used, some parts may become hot; children should be kept away and supervised at all times.
- Do not splash cool water in an oven tray or inside the oven when the surface of the appliance is still hot. Arising steam may cause burns and sudden temperature exchange may cause damages on the surface of the appliance
- WARNING: Accessible parts may become hot during use. Young children should be kept away.
- WARNING: The appliance and its accessible parts become hot during use. Care should be taken to avoid touching heating elements.
Children less than 8 years of age shall be kept away unless continuously supervised. - Do not use harsh abrasive cleaners or sharp metal scrapers to clean the oven door glass since they can scratch the surface which may result in shattering of the glass.
- On burners or electric hot plates should not put unstable or deformed pots to prevent their roll over, which can cause injury.
- If the current rate of the fuse in your installation is less than 32 Ampere, have a qualified electrician fit a 32 A fuse. (only for models with 4 Hot plates)
- This appliance is produced in accordance with the safety regulations. Incorrect use will harm people and appliance.
- The cooker must be supplied via a suitable double pole isolating switch, having contact separation of at least 3 mm in all poles placed in a readily accessible position adjacent to the unit.
- Children should be supervised to ensure that they do not play with the appliance. Never let them play with the appliance.
- The cooker may be located in a kitchen, a kitchen/diner or bed-sitting room but not in a room containing a bath or shower.
- CAUTION: glass lids may shatter when heated.
Turn off all the burners before shutting the lid.
Hob surface should be allowed to cool before closing the lid!
Any spillage should be removed from the lid before opening. - Do not put flammable, combustible, explosive liquid able or deformable by heat any material in the oven against possible risk of danger even if your appliance is not in use.
- Bread may catch fire if the toasting time is too long. Close supervision is necessary during toasting an dcooking.
- CAUTION: The cooking process has to be supervised. A short term cooking process has to be supervised continiously.
- WARNING: Before cleaning, servicing or obtaining access to terminals, all supply circuits must be disconnected.
- WARNING: Unattended cooking on a hob with fat or oil can be dangerous and may result in fire. NEVER try to extinguish a fire with water, but switch off the appliance and then cover flame e.g. with a lid or a fire blanket (wet kitchen cloth).
- WARNING: Danger of fire: do not store items on the cooking surfaces.
- WARNING: If the surface is cracked, switch off the appliance to avoid the possibility of electric shock
- The appliance is not intended to be operated by means of an external timer or separate remote-control system
- WARNING: This appliance is not intended for use by persons (including children) with reduced physical, sensory or mental capabilities, or lack of experience and knowledge, unless they have been given supervision or instruction concerning use of the appliance by a person responsible for their safety.
- Children should be supervised to ensure that they do not play with the appliance.
- Never place an empty pan on the burner or electric. panel that works.
- Metallic objects such as knives, forks, spoons and lids should not be placed on the hob surface since they can get hot.
- The glass ceramic can be damaged by objects falling onto it.
- WARNING: If the surface is cracked, switch off the appliance to avoid the possibility of electric shock, for hob surfaces of glass ceramic or similar material which protect live parts
- Do not attempt to repair the appliance yourself, please contact an authorized service center. Contact an authorized service center and insist on the use of original spare parts.
- A steam cleaner is not to be used
POSITION OF THE APPLIANCE
Before you start to use appliance, please carefully read „IMPORTANT AND SAFETY WARNINGS” chapter!
Before using hob plate, please remove all flammable tapes, styrofoam or any other ambalage materials on cooker. Also take out user manual and other flammable materials from appliance.
The appliance must not be installed close to the decorative doors or cabinets to avoid overheating.
This device should use only after you installed into kitchen cabinet or base.
Allow disconnection of the appliance after installation, by accessible plug or switch in the fixed wiring.
MAIN PARTS


1. 1700 W VC Zone / 1500W (2000W Rapid-Option) Hotplate
2. 1200 W Zone VC Zone / 1000W Hotplate
3. Glass plate
4. Heating zone selection controls
5. Power regulating controls
6. ON/OFF Control
7. Dual zone (option)
8. Power mechanical controls
CHOOSING THE RIGHT COOKWARE
Do not use cookware with jagged edges or a curved base.

Make sure that the base of your pan is smooth, sits flat against the glass, and is the same size as the cooking zone. Always centre your pan on the cooking zone.

VITROCERAMIC COOKER USE
TOUCH CONTROLS
- The controls respond to touch, so you don’t need to apply any pressure.
- Use the ball of your finger, not its tip.
- You will hear a beep each time a touch is registered.
- Make sure the controls are always clean, dry, and that there is no object (e.g. a utensil or a cloth) covering them. Even a thin film of water may make the controls difficult to operate.

Always lift pans off the ceramic hob – do not slide, or they may scratch the glass.

START COOKING
After power on, the buzzer beeps once, all the indicators light up for 1 second then go out, indicating that the ceramic hob has entered the stat of standby mode.

KEEP WARM FUNCTION (option, not all models)
Keep warm function keeps the cooked food placed on a cooking area warm. The selected hob is operated with a lower power in this function. Keep warm function is also a cooking level.

FINISH COOKING
After power on, the buzzer beeps once, all the indicators light up for 1 second then go out, indicating that the ceramic hob has entered the stat of standby mode.

WARNING
“H” will show which cooking zone is hot to touch (>60°C). It will disappear when the surface has cooled down to a safe temperature. It can also be used as an energy saving function if you want to heat further pans, use the hotplate that is still hot.
Locking the controls
You can lock the controls to prevent unintended use (for example children accidentally turning the cooking zones on).
When the controls are locked, all the controls except the ON/OFF control are disabled.
To lock the controls until the Hob is TURNED OFF:
- Press front left hob selection key ( ) and minus key ( – ) simultaneously, you shall hear a short warning signal at this time.
- Remove your fingers from the stove control panel.
- Press the front left hob selection key again
- The child lock is activated at this time and the icon ” L ” is displayed on all hobs to indicate this condition.
The and icons ” L ” and ” H ” are displayed alternatively if any hob is hot.
To unlock the controls:
Make sure the ceramic hob is turned on:
The ” L ” icon is diplayed on all displays when the stove is On and the child lock is active.
The ” L ” and ” H ” icons are displayed alternatively if any hob is hot. You may turn the stove On or Off with the Power ( ) key only.

WARNING: Child lock is deactivated until the stove is turned off only with the steps performed in this section. In other words, child lock shall be activated again if the unit is turned off and on again. Thus, the child lock shall be activated whenever the stove is turned off and on.
To Deactivate the Child Lock completely:
The ” L ” icon is diplayed on all displays when the stove is On and the child lock is active.
The ” L ” and ” H ” icons are displayed alternatively if any hob is hot. You may turn the stove On or Off with the Power ( ) key only.
- Press front left hob selection key ( ) and minus key ( – ) simultaneously, you shall hear a short warning signal at this time.
- Press the minus key ( – ) again. This shall be performed right after the 1st step. Child lock is deactivated permanently. In other words, child lock shall continue to be deactivated even if the unit is turned off and on again.
- Unit switches to stand-by after these procedures. However, the icon ” H “shall be displayed in case of a hot hob even if the unit switches to stand-by mode.

WARNING: Child Lock shall be deactivated in case of a power outage.
WARNING : When the hob is in the lock mode, all the controls are disable except the ON/OFF ; you can always turn the ceramic hob off with the ON/OFF control in an emergency, but you shall unlock the hob first in the next operation.
The settings below are guidelines only. The exact setting will depend on several factors, including your cookware and the amount you are cooking. Experiment with the Ceramic hob to find the settings that best suit you.
| Heat Setting | Suitability |
| U | • Warm function |
| 1-2 | • delicate warming for small amounts of food • melting chocolate, butter, and foods that burn quickly • gentle simmering · slow warming |
| 3-4 | • reheating • rapid simmering • cooking rice |
| 5-6 | • pancakes |
| 7-8 | • sautéing • cooking pasta |
| 9 | • stir-frying • searing • bringing soup to the boil • boiling water |
HOTPLATE COOKER USE

1. 180mm Hotplate power adjustment
2. 145mm Hotplate power adjustment
3. 180mm Hotplate power adjustment
4. 145mm Hotplate power adjustment
NOTE: The control panel above is only for illustration purposes. Consider the control panel on your device.
COOKING GUIDELINES
Take care when frying as the oil and fat heat up very quickly, particularly if you’re using the highest power level. At extremely high temperatures oil and fat will ignite spontaneously and this presents a serious fire risk.
Cooking tips
- When food comes to the boil, reduce the temperature setting.
- Using a lid will reduce cooking times and save energy by retaining the heat.
- Minimize the amount of liquid or fat to reduce cooking times.
- Start cooking on a high setting and reduce the setting when the food has heated through.
CARE AND CLEANING
| What? | How? | Important! |
| Everyday soiling on glass (fingerprints, marks, stains left by food or non-sugary spillovers on the glass) | 1. Switch the power to the cooktop off. 2. Apply a cooktop cleaner while the glass is still warm (but not hot!) 3. Rinse and wipe dry with a clean cloth or paper towel. 4. Switch the power to the cooktop back on. | • When the power to the cooktop is switched off, there will be no ‘hot surface’ indication but the cooking zone may still be hot! Take extreme care. |
| • Heavy-duty scourers, some nylon scourers and harsh/abrasive cleaning agents may scratch the glass. Always read the label to check if your cleaner or scourer is suitable. | ||
| • Never leave cleaning residue on the cooktop: the glass may become stained. | ||
| Boilovers, melts, and hot sugary spills on the glass | Remove these immediately with a fish slice, palette knife or razor blade scraper suitable for Ceramic glass cooktops, but beware of hot cooking zone surfaces: | • Remove stains left by melts and sugary food or spillovers as soon as possible. If left to cool on the glass, they may be difficult to remove or even permanently damage the glass surface. • Cut hazard: when the safety cover is retracted, the blade in a scraper is razor-sharp. Use with extreme care and always store safely and out of reach of children. |
| 1. Switch the power to the cooktop off at the wall. | ||
| 2. Hold the blade or utensil at a 30° angle and scrape the soiling or spill to a cool area of the cooktop. | ||
| 3. Clean the soiling or spill up with a dish cloth or paper towel. | ||
| 4. Follow steps 2 to 4 for ‘Everyday soiling on glass’ above. | ||
| Spillovers on the touch controls | 1. Switch the power to the cooktop off. 2. Soak up the spill 3. Wipe the touch control area with a clean damp sponge or cloth. 4. Wipe the area completely dry with a paper towel. 5. Switch the power to the cooktop back on. | The cooktop may beep and turn itself off, and the touch controls may not function while there is liquid on them. Make sure you wipe the touch control area dry before turning the cooktop back on. |
WARNING
Spilled sauce, fruit juice, etc. should be wiped off as soon as possible with a soft cloth soaked in warm water with a detergent.
Do not allow sauces or juices to burn on the cooking plate. This can DAMAGE the glass surface or even melt of the glass surface or make subsequent cleaning much more difficult! The light color change on the plate are normal and don’t have any influence on working performances.
Do not use a steel wool or knives to clean dirt deposits. Grease the deposits with a cloth soaked with a very damp detergent, but be careful not to scratch glass top.
The light color change on the plate are normal and don’t have any influence on working performances.
A steam cleaner is not to be used!
HINTS AND TIPS
| Problem | Possible causes | What to do |
| The cooktop cannot Be turned on. | No power. | Make sure the ceramic hob is connected to the power supply and that it is switched on. Check whether there is a power outage in your home or area. If you’ve checked everything and the problem persists, call a qualified technician. |
| The touch controls are unresponsive. | The controls are locked. | Unlock the controls. See section ‘Using your ceramic cooktop’ for instructions. |
| The touch controls are difficult to operate. | There may be a slight film of water over the controls or you may be using the tip of your finger when touching the controls. | Make sure the touch control area is dry and use the ball of your finger when touching the controls. |
| The glass is being scratched. | Rough-edged cookware. | Use cookware with flat and smooth bases. See ‘Choosing the right cookware’. See ‘Care and cleaning’. |
| Some pans make crackling or clicking noises. | This may be caused by the construction of your cookware (layers of different metals vibrating differently). | This is normal for cookware and does not indicate a fault. |
VITROCERAMIC Error Codes and Recommendations for Solutions
Error codes, their probable causes and recommendations for solutions are provided in the chart below.
Contact an authorized service center for any service intervention. Do not attempt to repair the device yourself!
| Error Code | Error Description | Potential Cause for Error | Solution |
| ER 03 & continuous signal sound | Constant use of buttons; control unit is disrupted after 10 seconds. | Water or cooking utensils on the glass over the control unit | Clean the operating surface of the stove |
| ER 20 | Flash fault. | ^ C error. | Replace the electronic board. |
|
ER 21 | Excessive temperature | The ambient temperature for electronics is too high | Allow the cooking surface to cool down. Check the temperature of the unit. |
| ER 22 | Control unit is turned after 3.5 – 7.5 seconds. Short circuit or simillar problem | Short circuit error in detection of keys. | Replace the electronic board |
| ER 31 | Software data is incorrect | – | New configuration is required |
| ER 36 | Temperature sensor error | Short circuit or electronic board turns off | Replace the electronic board |
| ER 40 | Power supply is too low to turn on the appliance | Primarry PTC is too hot | Disconnect the hob from power supply |
|
ER 47 | Communication error between the electronic board configuration and the heating elements | No communication or faulty communication | Make sure that the connection cable is connected correctly and functionally |
| ER 400 | Incorrect connection | Control unit is connected incorrectly | Connect the hob to correct mains voltage |
WARNING: If the device is operated at max. level for too long time, it can turn off automatically. This is an ordinary measure for safety of the device.
INSTALLATION
Selection of installation equipment
Cut out the work surface according to the sizes shown in the drawing. For the purpose of installation and use, a minimum of 50mm space shall be preserved around the hole. Be sure the thickness of the work surface is at least 30mm. Please select heat-resistant work surface material to avoid larger deformation caused by the heat radiation from the hotplate. As shown below:


The cooker hob can be used on the table top of cabinet. The hob should be placed horizontally. As shown below:

Under any circumstances, make sure the ceramic cooker hob is well ventilated and the air inlet and outlet are not blocked. Ensure the ceramic cooker hob is in good work state. As shown below.
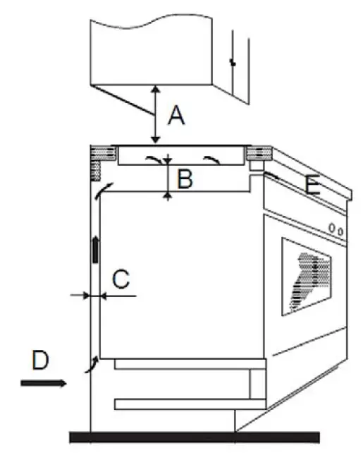
Note: The safety distance between the hotplate and the cupboard above the hotplate should be at least 650mm.

| A (mm) (min) | B (mm) | C (mm) | D | E |
| 650 | 50 mini | 30mini | Air intake | Air exit 10 mm |
Before locating the fixing brackets
The unit should be placed on a stable, smooth surface (use the packaging). Do not apply force onto the controls protruding from the hob.
Fix the hob on the work surface by screw four brackets on the bottom of hob (see picture) after installation. Adjust the bracket position to suit for different work surface’s thickness.
Put sealing track on the edge of the hob

Attach the worktop to the worktop using the brackets provided in the accessory, as shown in the illustration below.


Cautions
- The cooker hob must be installed by qualified personnel or technicians. We have professionals at your service. Please never conduct the operation by yourself.
- The cooker hob shall not be mounted to cooling equipment, dishwashers and rotary dryers.
- The cooker hob shall be installed such that better heat radiation can be ensured to enhance its reliability.
- The wall and induced heating zone above the work surface shall withstand heat.
- To avoid any damage, the sandwich layer and adhesive must be resistant to heat.
- A steam cleaner is not to be used.
- This ceramic can be connected only to a supply with system impedance no more than 0.427 ohm. In case necessary, please consult your supply authority for system impedance information.
Connecting the hob to the mains power supply
The power supply should be connected in compliance with the relevant standard, or a single-pole circuit breaker. the method of connection is shown below.
- If the cable is damaged or needs replacing, this should be done by an after-sales technician using the proper tools, so as to avoid any accidents.
- If the appliance is being connected directly to the mains supply, an omnipolar circuit breaker must be installed with a minimum gap of 3mm between the contacts.
- The installer must ensure that the correct electrical connection has been made and that it complies with safety regulations.
- The cable must not be bent or compressed.
- The cable must be checked regularly and only replaced by a properly qualified person.



TECHNICAL SPECS
| Cooking Hob Model | BH-02TVC | BH-02T X | BH-04TVC | BH-04T X |
| Cooking Zone | 2 Zones | 2 zones | 4 zones | 4 zones |
| Supply Voltage | 220-240V~ 50Hz | 220-240V AC/380-415V 2N AC, 50Hz | ||
| Installed Electric Power | 2900W | 2500W | 6000W | 5500W |
| Product Size DxWxH | 300 x 520 x 55 mm | 590 x 520 x 55 mm | ||
| Building-in Dimensions AxB | 270 x 490 mm | 560 x 490 mm | ||
Disposal of Electrical and Electronic Equipment
To protect our environment and to recycle the raw materials used as completely as possible, the consumer is asked to return unserviceable equipment to the public collection system for electrical and electronic.
The symbol of the crossed indicates that this product must be returned to the collection point for electronic waste to feed it by recycling the best possible raw material recycling.
By ensuring this product you will prevent possible negative effects on the environment and human health, which could otherwise be caused due to improper disposal of that product. The recycling of materials from this product, you will help to preserve a healthy environment and natural resources.
For detailed information about the collection of EE products contact the dealer where you purchased the product.
EU Declaraton of Conformity
This device is manufactured in accordance with the applicable European standards and in accordance with all applicable Directives and Regulations. EU declaration of conformity can be downloaded from the following link: www.msan.hr/dokumentacijaartikala

















