TESLA HV6400TB Ceramic Hob

CERAMIC HOB HV6400TB User Manual
Product Overview
The Ceramic Hob HV6400TB is a high-quality electric cooking appliance designed for home use. It has four heating zones, each with a different power output, and a user-friendly interface for easy operation. The hob has a total power output of 6000W (230V~).
Top View

User Interface
The user interface consists of the following controls:
- Zone select key
- ON/OFF key
- Power/Timer slider regulating key
- Timer key
- Child lock key
The hob also features special functions for safety and convenience:
- Protection from over-heating
- Residual heat indicator
- Auto Shutdown Protection
- Protection against unintended operation
Product Usage Instructions
Before using your new Ceramic Hob, please read the safety warnings and product overview carefully.
Using the Touch Controls
To use the touch controls, make sure that they are free from any objects or liquids. Press the zone select key to choose the heating zone you want to use, and then adjust the power output using the power/timer slider regulating key. The timer key can be used to set a cooking time for your dish. The child lock key can be used to prevent accidental changes to the settings.
Choosing the Right Cookware
Use cookware with a smooth, flat base that is the same size as the heating zone. Do not use cookware with jagged edges or a curved base. Always center your pan on the cooking zone to ensure maximum efficiency. Lift pans off the ceramic hob to avoid scratching the glass.
Congratulations on the purchase of your new ceramic Hob.
We recommend that you spend some time to read this Instruction / Installation Manual in order to fully understand how to install correctly and operate it.
For installation, please read the installation section.
Read all the safety instructions carefully before use and keep this Instruction / Installation Manual for future reference.
SAFETY WARNINGS
Your safety is important to us. Please read this information before using your cooktop.
- The appliance is not to be used by persons (including children) with reduced physical, sensory or mental capabilities, or lack of experience and knowledge, unless they have been given supervision or instruction. Children being supervised not to play with the appliance.
- WARNING: if the surface is cracked, switch off the appliance to avoid the possibility of electric shock, for hob surfaces of glass-ceramic or similar material which protect live parts.
- WARNING: a steam cleaner is not be used o that the appliance is not intended to be operated by means of external timer or separated remote-control system.
- DANGER OF FIRE: do not store items on the cooking surfaces.
- CAUTION: the cooking process has to be supervised. A short-term cooking process has to be supervised continuously.
- WARNING: unattended cooking on a hob with fat or oil can be dangerous and may result in a fire.
- If the supply cord is damaged, it must be replaced by the manufacturer, its service agent or similarly qualified persons in order to avoid a hazard.
- This appliance can be used by children aged from 8 years and above and persons with reduced physical, sensory or mental capabilities or lack of experience and knowledge if they have been given supervision or instruction concerning use of the appliance in a safe way and understand the hazards involved. Children shall not play with the appliance. Cleaning and user maintenance shall not be made by children without supervision.
- WARNING: the appliance and its accessible parts become hot during use.
- Care should be taken to avoid touching heating elements.
- Children less than 8 years of age shall be kept away unless continuously supervised.
- WARNING: unattended cooking on a hob with fat or oil can be dangerous and may result in fire.
- Never try to extinguish a fire with water but switch off the appliance and then cover flame e.G., With a lid for a fire blanket.
- CAUTION: the cooking process has to be supervised. A short-term cooking process has to be supervised continuously.
- WARNING: danger of fire: do not store items on the cooking surfaces.
- WARNING: use only hob guards designed by the manufacturer of the cooking appliance or indicated by the manufacturer of the appliance
in the instructions for use as suitable or hob guards incorporated in the appliance. The use of inappropriate guards can cause accidents. Power cord can’t accessible after installation.
PRODUCT OVERVIEW
Top View

Heating Zone Power
| Heating Zone | Max. Power (220-240V- 50/60 Hz) |
![]() | 1200W |
![]() | 1800W |
![]() | 1200W |
![]() | 1800W |
| TOTAL POWER | 6000W (230V~) |
User interface

![]() | A | Zone select key | |||
![]() | B | ON/OFF key | |||
![]() | C | Power/Timer slider regulating key | |||
D![]() | Timer key | ||||
E![]() | Child lock key | ||||
Product functions
- The ceramic hob caters for all kind of cooking, with its radiant heat cooking zones and its electronic touch controls and multi-functions, making it the ideal choice for the modern family.
- The ceramic hob is extremely user-friendly, durable, and safe.
SPECIAL FUNCTIONS
Protection from over-heating
A sensor monitors the temperature in the cooking zones. When the temperature exceeds a safe level, the cooking zone is automatically switched off.
Residual heat indicator
When the hob has been operating for some time, there will be some residual heat. The letter “H” appears to warn you that it is too hot to touch the surface.
Auto Shutdown Protection
Auto shut down is a safety protection function for your ceramic hob. It shut down automatically if ever you forget to turn off your cooking. The default working times for various power levels are shown in the below table:
| Power level | 1~2 | 3~4 | 5 | 9 |
| Default working timer (min) | 360 | 300 | 240 | 90 |
Protection against unintended operation
If the electronic control detects a button being held down for approx 10 seconds it will switch off automatically. The control sends out an audible error signal to warn the sensors have detected the presence of an object. The display will indicate an error code ER03 if the hob is still hot. The display “H” and ER03 flash alternatively.
Before using your New Ceramic Hob
- Read this guide, taking special note of the ‘Safety Warnings’ section.
- Remove any protective film that may still be on your Ceramic hob.
Using the Touch Controls

- The controls respond to touch, so you don’t need to apply any pressure.
- Use the ball of your finger, not its tip.
- You will hear a beep each time a touch is registered.
- Make sure the controls are always clean, dry, and that there is no object (e.g., a utensil or a cloth) covering them. Even a thin film of water may make the controls difficult to operate.
Choosing the right Cookware
Do not use cookware with jagged edges or a curved base.

Make sure that the base of your pan is smooth, sits flat against the glass, and is the same size as the cooking zone. Use pans whose diameter is as large as the graphic of the zone selected. Using a pot a slightly wider energy will be used at its maximum efficiency. If you use smaller pot efficiency could be less than expected. Always centre your pan on the cooking zone.

Always lift pans off the ceramic hob – do not slide, or they may scratch the glass.

USING YOUR CERAMIC HOB
To start cooking
- Place a suitable pan on the cooking zone that you wish to use.
- Make sure the bottom of the pan and the surface Of the cooking zone are clean and dry.

- Make sure the bottom of the pan and the surface Of the cooking zone are clean and dry.
- Touch the ON/OFF key for 1 seconds.
After power on, the buzzer beeps once, all displays show” 0″, indicating that the ceramic hob has entered the state of standby mode.
- According to the heating zone where the pan is placed, select a relevant zone select key by pressing key (A). The symbol 0. selected will be flashing.

- Adjust heat setting by touching the slider regulating key(C) control.
- If you don’t choose a heat setting within 20 seconds, the ceramic hob will automatically switch off. You will need to start again at step 2.
- You can modify the heat setting at any time during cooking.
Using Child Lock Function
- You can lock the controls to prevent unintended use (for example children accidentally turning the cooking zones on).
- When the controls are locked, all the controls except the OFF control are disabled.
To lock the controls
Press the ”
” key Start child lock. The hob emits a beep and the indicator will show “Lo “.
To unlock the controls
- Press the”
” key Relieving child lock. - You can now start using your hob.
Using the Timer
- You can set it to turn one cooking zone off after the set time is up.
- You can set the timer for up to 99 minutes.
- Select the relevant cooking zone which is working by touching the zone select key (A).
- Press the timer key “
“, the timer indicators will show “00”. - Using the “+” or “—” buttons , you can realize the setting of timing from 1 to 99 minutes.
When the time is set, it will begin to count down immediately. The indicator will return to show power level after 5 seconds. The red dot next to power level indicator will illuminate indicating that zone has set timer. - If you need to check the remaining time, you can operate step 1 and step 2 again.
- When cooking timer expires, the corresponding cooking zone will be switch off automatically. Other cooking zone will keep operating if they are turned on previously.
- The timer function only works when at least one cooking is turned on.
- If you do not select any zone and touch the timer (F) directly to active the timer function, it only work as a Minute Minder. Buzzer will only bips for seconds and the timer indicator will turn off when the setting time finished but cooking zones will not be switch off and still working.
CARE AND MAINTENANCE
Care
Warning
Always switch off the electricity supply before performing maintenance work. In the event of a fault, contact customer services.

Damaged power cables should be replaced by a competent person or qualified electrician.
For domestic use only.
Never place an empty pan on the hob as this will cause an error message to appear on the control panel.
When a cooking zone has been on for a long time, the surface remains hot for some times afterwards so do not touch the ceramic surface.
For sealed foods, please do not heat them before opening removing the lid so as to avoid any dangers of explosion due to heating expansion.
If the surface of the hob is cracked, disconnect from power supply to avoid any possibility of electric shocks.
Do not place rough or uneven pans on the hob, as they could damage the ceramic surface.
Avoid banging pots and pans down on the hob. The ceramic surface is tough but not unbreakable.
Do not put detergents or flammable materials beneath the hob.
Appliance cleanliness
CAUTION
- Avoid rubbing with any abrasive or with the base of the pans, ete, as this will wear the markings on the top of the ceramic hob over time.
- Clean the ceramic hob on a regular basis to prevent the build up of food residue.
- The appliance should be cleaned after use.
- The surface of the ceramic hob may be easily cleaned in the following way:
Type of dirt Cleaning method Cleaning materials Lime scale Apply white vinegar to the surface, then wipe it dry with soft cloth Special ceramic cleaner Burnt-on stains Clean with damp cloth and dry it with a soft cloth Special ceramic cleaner Light stains Clean with damp cloth and dry it with a soft cloth Cleaning sponge Melted plastics Use a scraper suitable far ceramic glass to remove residue Special ceramic cleaner
By means of a scraper immediately remove any aluminum fail bits, food spills, grease splashes, sugar marks and other high sugar content food from the surface in order to avoid damaging the hob. Subsequently clean the
surface with some towel and appropriate product, rinse with water and dry by means of a clean cloth. Under no circumstance should sponges or abrasive cloths be used; also avoid using aggressive chemical detergents such as oven sprays and spot removers.

TROUBLE SHOOTING
Before calling the customer services, please check that the appliance is correctly connected, any of the following cases are not covered by the guarantee
- Damage caused by improper use, storage or maintenance
- Damage caused by unauthorized disassembly and repair.
- Damage caused by misuse.
- Using the ceramic hob for commercial purposes.
If an abnormality comes up, the ceramic hob will enter the protective state automatically and display corresponding protective codes:
| Error Message | Possible Cause | What to do |
| ER03 | Water or pot on the glass over the control | Clean the user interface |
| E | The thermocouple was loose or broken | Please contact the supplier to reconnect the thermocouple. |
| ER21 | The temperature inside the produce was too high | The produce must be stopped and cooling. |
The above are the judgment and inspection of common failures.
Please do not disassemble the unit by yourself to avoid any dangers and damages to the ceramic hob and please contact the supplier.
TECHNICAL SPECIFICATION
| Cooking Hob | HV6400TB |
| Cooking Zones | 4 Zones |
| Supply Voltage | 220-240V~ |
| Installed Electric Power | 6000W (230V) |
| Product Size LxWxH (mm) | 590X520X50 |
| Building-in Dimensions AxB (mm) | 560X490 |
Weight and Dimensions are approximate. Because we continually strive to improve our products, we may change specifications and designs without prior notice.
INSTALLATION
Selection of installation equipment
Cut out the work surface according to the sizes shown in the drawing.
For the purpose of installation and use, a minimum of 5 cm space shall be preserved around the hole.
Be sure the thickness of the work surface is at least 30 mm. Please select
heat-resistant work surface material to avoid larger deformation caused by the heat radiation from the hotplate. As shown below:

| L (mm) | W (mm) | H (mm) | D (mm) | A (mm) | B (mm) | X (mm) |
| 590 | 520 | 50 | 45 | 560 | 490 | 50 mini |
Under any circumstances, make sure the Ceramic cooker hob is well ventilated and the air inlet and outlet are not blocked. Ensure the ceramic cooker hob is in good work state. As shown below.
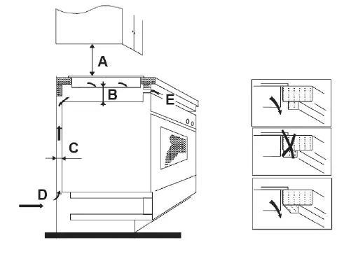
Note: The safety distance between the hotplate and the cupboard above the hotplate should be at least 650 mm.

| A (mm) | B (mm) | C (mm) | D | E |
| 650 | 50 mini | 20 mini | Air intake | Air exit 5mm |
Before you install the hob, make sure that
- The work surface is square and level, and no structural members interfere with space requirements
- The work surface is made of a heat-resistant material
- If the hob is installed above an oven, the oven has a built-in cooling fan
- The installation will comply with all clearance requirements and applicable standards and regulations
- A suitable isolating switch providing full disconnection from the mains power supply is incorporated in the permanent wiring, mounted, and positioned to comply with the local wiring rules and regulations.
- The isolating switch must be of an approved type and provide a 3 mm air gap contact separation in all poles (or in all active [phase] conductors if the local wiring rules allow far this variation of the requirements)
- The isolating switch will be easily accessible to the customer with the hob installed
- You consult local building authorities and by-laws if in doubt regarding installation
- You use heat-resistant and easy-to-clean finishes (such as ceramic tiles) far the wall surfaces surrounding the hob.
When you have installed the hob, make sure that
- The power supply cable is not accessible through cupboard doors or drawers
- There is adequate flow of fresh air from outside the cabinetry to the base of the hob
- If the hob is installed above a drawer or cupboard space, a thermal protection barrier is installed below the base of the hob
- The isolating switch is easily accessible by the customer
Installation

Stretch out the supplied seal along the underside edge of the hob, ensuring the ends overlap.

Do not use adhesive to fix the ho b into the worktop. once the seal is fitted position the hob into the cutout in the worktop. Apply gentle downwards pressure onto the hob to push it into the worktop ensuring a good seal around the outer edge (fig. 3)

Cautions
- The ceramic hotplate must be installed by qualified personnel or technicians. We have professionals at your service. Please never conduct the operation by yourself.
- The hob will not be installed directly above a dishwasher, fridge, freezer, washing machine or clothes dryer, as the humidity may damage the hob electronics
- The ceramic hotplate shall be installed such that better heat radiation can be ensured to enhance its reliability.
- The wall and induced heating zone above the table surface shall withstand heat.
- To avoid any damage, the sandwich layer and adhesive must be resistant to heat.
Connecting the hob to the mains power supply

AII installation work must be carried out by a competent person or qualified electrician. Before connecting the mains supply ensure that the mains voltage corresponds to the voltage on the rating plate inside the cooker hood.
WARNING: THIS APPLIANCE MUST BE EARTHED.
This hob must be connected to the mains power supply only by a suitably qualified person. Before connecting the hob to the mains power supply, check that:
- The domestic wiring system is suitable for the power drawn by the hob.
- The voltage corresponds to the value given in the rating plate
- The power supply cable sections can withstand the load specified on the rating plate.
To connect the hob to the mains power supply, do not use adapters, reducers, or branching devices, as they can cause overheating and fire.
The power supply cable must not touch any hot parts and must be positioned so that its temperature will not exceed 75˚C at any point.
Check with an electrician whether the domestic wiring system is suitable without alterations. Any alterations must only be made by a qualified electrician.

This appliance is supplied with 3 core mains cable colored as follows:
- Brown = L or Live
- Blue = N or Neutral
- Green and Yellow = E or Earth
This appliance requires a 32 Amp Miniature Circuit Breaker.
- If the cable is damaged or to be replaced, the operation must be carried out the by after-sale agent with dedicated tools to avoid any accidents.
- If the appliance is being connected directly to the mains an omni polar circuit-breaker must be installed with a minimum opening of 3mm between contacts.
- The installer must ensure that the correct electrical connection has been made and that it is compliant with safety regulations.
- The cable must not be bent or compressed.
- The cable must be checked regularly and replaced by authorized technicians only
DISPOSAL:
Do not dispose this product as unsorted municipal waste. Collection of such waste separately for special treatment is necessary.
This appliance is labeled in compliance with European directive 2011/65/EU
for Waste Electrical and Electronic Equipment (WEEE). By ensuring that this appliance is disposed of correctly, you will help prevent any possible damage to the environment and to human health, which might otherwise be caused if it were disposed of in the wrong way.
The symbol on the product indicates that it may not be treated as normal household waste. It should be taken to a collection point for the recycling of electrical and electronic goods.
This appliance requires specialist waste disposal. For further information regarding the treatment, recover and recycling of this product please contact your local council, your household waste disposal service, or the shop where you purchased it.
For more detailed information about treatment, recovery and recycling of this product, please contact your local city office, your household waste disposal service or the shop where you purchased the product.










If the surface of the hob is cracked, disconnect from power supply to avoid any possibility of electric shocks.














