Bellini BCA64GK Ceramic Hob

Thank you for choosing Bellini Appliances. Bellini appliances carry a 3-year in-home warranty, be sure to retain your user manual and receipt.
For all warranty and technical queries please phone:
Australia 1300 373 199
New Zealand 0800 764 912
Safety instructions
This User Instruction Manual contains important information, including safety & installation points, which will enable you to get the most out of your appliance. Please keep it in a safe place so it is easily available for future reference; for you or any person not familiar with the operation of the appliance.
Caution!
- Do not use the ceramic hob until you have read this instruction manual. The ceramic hob is intended for household use only.
- The appliance becomes hot during operation. Take care not to touch the hot surface.
- Always keep children away from the ceramic hob.
- While in operation, direct contact with the ceramic hob may cause burns!
- Ensure small items of household equipment, including connection leads, do not touch the hob as the insulation material of this equipment is usually not resistant to high temperatures.
- Do not leave the ceramic hob unattended when frying. Oils and fats may catch fire due to overheating or boiling over.
- Do not switch on the hob until a pan has been placed on it.
- Do not put pans weighing over 25kg on the hob.
- Do not use the ceramic hob in the event of a technical fault. Any faults must be fixed by an appropriately qualified and authorised person.
- In the event of any incident caused by a technical fault, disconnect the power and report the fault to the service center to be repaired.
- The rules and provisions contained in this instruction manual should be strictly observed. Do not allow anybody who is not familiar with the contents of this instruction manual to operate the ceramic hob.
- The ceramic hob should not be cleaned using steam cleaning equipment.
- IMPORTANT: The adjacent furniture or housing and all materials used in the installation must be able to withstand a minimum temperature of 95°C above the ambient temperature of the room it is located in, whilst in use.
- Any damage caused by the appliance being installed in contravention of this temperature limit, or by placing adjacent cabinet materials closer than 4mm to the appliance, will be the liability of the owner.
Child Safety
- We strongly recommend that babies and young children are prevented from being near to the appliance and not allowed to touch the appliance at any time.
- If it is necessary for younger family members to be in the kitchen, please ensure that they are kept under close supervision at all times.
General Safety
- This appliance is not intended for use by persons (including children) with reduced physical, sensory or mental capabilities, or lack of experience and knowledge, unless they have been given supervision or instruction concerning use of the appliance by a person responsible for their safety.
- Children should be supervised to ensure that they do not play with the appliance.
- NEVER try to extinguish a fire with water, switch off the appliance and then cover flame e.g. with a lid or a fire blanket.
- WARNING: Danger of fire – do not store items on the cooking surfaces.
- Means for disconnection must be incorporated in the fixed wiring in accordance with the wiring rules.
- Do not allow electrical fittings or cables to come into contact with areas on the appliance that get hot.
- Do not use the appliance to heat the room it is located in or to dry clothing.
- Do not install the appliance next to curtains or soft furnishings.
- If the supply cord is damaged, it must be replaced by the manufacturer, its service agent or similarly qualified persons in order to avoid a hazard.
- The appliance is not intended to be operated by means of an external timer or a separate remote-control system.
- Power cord can’t be accessible after installation.
- This product can be worked but not through an outside timer and remote control.
- Warning: If the surface is cracked, switch off the appliance to avoid the possibility of electric shock, for hob surfaces of glass, ceramic or similar material which protect live parts.
- Warning: a steam cleaner is not to be used.
- CAUTION: The cooking process has to be supervised. A short-term cooking process has to be supervised continuously.
- WARNING: Unattended cooking on a hob with fat or oil can be dangerous and may result in a fire.
- This appliance should be connected to a circuit that incorporates an isolating switch which can be accessible by the user after installation providing full disconnection from the power supply. The disconnection may be achieved by incorporating a switch in the fixed wiring in accordance with the wiring rules.
- Warning: Before obtaining access to terminals, all supply circuits must be disconnected.
- WARNING: Use only hob guards designed by the manufacturer of the cooking appliance or indicated by the manufacturer of the appliance in the instructions for use as suitable or hob guards incorporated in the appliance. The use of inappropriate guards can cause accidents.
- WARNING: The appliance and its accessible parts become hot during use.
- Care should be taken to avoid touching heating elements.
- If a stationary cooktop is not provided with a supply cord and a plug or by other means of disconnection from the supply having an air gap contact the separation in all active (phase) conductors, the instructions shall state that such means for disconnection shall be incorporated in the fixed wiring according to the wiring rules.
Installation
IMPORTANT:
The appliance must be installed by a qualified technician according to the current local regulations and in compliance with the manufacturer’s instructions.
Electrical connection
Before connecting the appliance, make sure that the supply voltage marked on the Rating Plate corresponds with your mains supply voltage.
WARNING: THIS APPLIANCE MUST BE EARTHED.
- The kitchen area should be dry and aired and equipped with efficient ventilation. When installing the ceramic, easy access to all control elements should be ensured.
- This is a Y-type design built-in ceramic, which means that its back wall and one side wall can be placed next to a high piece of furniture or a wall. Coating or veneer used on fitted furniture must be applied with a heat-resistant adhesive (min. 95°C).This prevents surface deformation or detachment coating.
- The cooktop should be installed according to the manufacturer’s instructions.
Installation of ceramic hob:
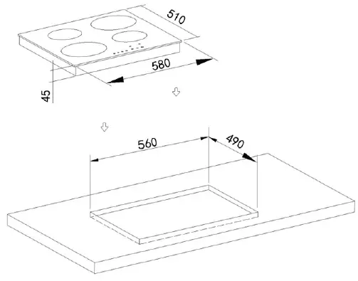
- Make an opening with the dimensions given in the diagram for the hob to be mounted on the worktop.
- Check seal for perfect fit and overall cover. Lower the ceramic hob into place and align correctly.
- Using a standard screwdriver, tighten the tension clamps evenly starting at the centre and moving diagonal, until the built-in rim is tight on the worktop.

Preparing the unit for a built-in appliance
WARNING
- The appliance can be installed on a work surface with a thickness of between 30 and 40 mm and rear of the appliance should be ≥40mm away from the wall and kept ≥100mm away from the side of the work surface.
- Carry out all cutting of the unit and work surface then carefully remove shavings or sawdust before inserting the appliances.
- To ensure a correct ventilation of the hob, please comply with the dimensions shows in figures.
- Always refer to the manufacturer for specific instructions.
- Make sure the surface is level and square and that no part interferes with the space required for installation.
- Prepare the cut as indicated (see installation dimensions).

Installing the hob
WARNING
- Risk of cutting
- Be careful of cutting edges.
- End parts in foamed plastic – be careful.
- During transportation, these could cause slight injury or cuts.
Remove the material and envelope of documents from the packaging. Before proceeding with installation, read the work instructions carefully.
Step.1
Put a towel or cloth on the work surface. Place the hob face down on the protected surface.
Step.2
Apply the strip seal, supplied with the hob, which is for sealing it onto the work surface. Do not use silicone. Apply the seal to the edge of the bottom of the hob, leaving about 3mm from the edge of the glass. Apply the seal all around the circumference. Cut any excess and bring the two ends of the seal together so they match.
Step.3
Fix the brackets (4 pcs) on the front side and rear side by screw. Put the hob in the cut-out cabinet, and make it centered. Ensure that the front edge of the hob is parallel to the side edge of the work surface.
- IMPORTANT: You must observe the ventilation requirements shown in the drawing opposite.
- IMPORTANT: There are ventilation holes around the outside of the hob. YOU MUST ensure that these holes are not blocked by the worktop, when you put the hob into position (see drawing opposite).
- IMPORTANT: Do not use a silicon sealant to seal the appliance against the aperture. This will make it difficult to remove the hob from the aperture in the future, particularly if it needs to be serviced.
- Carefully turn the hob back over and then gently lower it into the aperture hole that you have cut out.

Fitting guidelines
The ceramic hob is manufactured to work with a two-phase alternating current (400V2N~50Hz). The voltage rating of the ceramic hob heating elements is 230V. Adapting the ceramic hob to operate with a one-phase current is possible by appropriate bridging in the connection box according to the connection diagram below. The connection diagram is also found on the cover of the connection box. Remember that the connection wire should match the connection type and the power rating of the ceramic hob.
The connection cable must be secured in a strain-relief clamp.
Warning!
Remember to connect the safety circuit to the connection box terminal marked with The electricity supply for the ceramic hob must have a safety switch that enables the power to be cut off in case of emergency. The distance between the working contacts of the safety switch must be at least 3mm. Before connecting the ceramic hob to the power supply it is important to read the information on the data plate and the connection diagram.
| Wires for each ceramic cooktop | |||
| model | Adaptive voltage range and wires | The wiring diagram | |
| 220-240 1N~ 50-60Hz | 380-420 2N~ 50-60Hz | KADO K 1/5 | |
| BCA64GK | H05VV-F 3G2.5 | ![]() H05VV-F 4G2.5 | |
- The cable connections must be in accordance with the diagram located on the bottom of the hob.
- The cable type must be connected to the corresponding power supply terminal box.
- You should use a good quality screwdriver to carefully, fully tighten all of the terminal screws.
- If when the hob is first switched on, only two of the zones work, you should recheck that the terminal screws are all fully tightened. This should be done before contacting the Customer Care Department.
- IMPORTANT: The appliance must NOT be connected to the mains supply by means of a 13A plug and socket.
- This appliance must be wired into a 30A double pole switched fused spur outlet, having 3 mm contact separation and placed in an easily accessible position adjacent to the appliance. It should not be located above the appliance and no more than 1.25m away from it.
- The cable can be looped if necessary, but make sure that is not kinked or trapped when the hob is in position. Care must be taken to avoid the cable being in contact with hot parts of the appliance.
Replacing the mains supply cable
- If the main supply cable is damaged, then it must be replaced appropriately.
- The mains supply cable should be replaced in accordance with the following instructions:
- Switch the appliance off at the control switch.
- Open the terminal block on the underside of the hob.
- Unscrew the terminal screws fixing the cable.
- The “green-yellow” earth wire must be connected to the terminal marked. It must be about 10 mm longer than the live and neutral wires.

- The “blue” neutral wire must be connected to the terminal marked with the letter (N)
- the live wire (L1) must be connected to the terminal marked with the letter (L1)(220-240V 1N~).
- The “blue” neutral wire must be connected to the terminal marked with the letter (N)
- the live wire L1 must be connected to the terminal marked with letter (L1), the live wire L2 must be connected to the terminal marked with letter (L2) (380-420V 2N~).

- the live wire L1 must be connected to the terminal marked with letter (L1), the live wire L2 must be connected to the terminal marked with letter (L2) (380-420V 2N~).
Description of the Ceramic hob surface layout
4 zone ceramic hob schematic diagram

Display and control mode
Display mode
- Cooking zone working indicator: the corresponding indicator light displays when the cooking zone is working;
- Cooking zone residual heat indicator: the corresponding indicator flashes when the cooking zone stops working (once every 1 second);
- The whole hob standby mode indicator: all cooking zone indicator lights alternately turn on and off.
Control panel

Control panel layout:
| Power Button & Programming Knob | Function |
| M1 | Power button: press and hold for 3s to turn on / off |
| BM1 | NO.1 cooking zone power level selecting |
| BM2 | NO.2 cooking zone power level selecting |
| BM3 | NO.3 cooking zone power level selecting |
| BM4 | NO.4 cooking zone power level selecting |
Icon description is indicated:
| Indicator light | Function |
| 1 | NO.1 cooking zone indicator light: indicates the working status of this zone, high-temperature warning, etc |
| 2 | NO.2 cooking zone indicator light: indicates the working status of this zone, high-temperature warning, etc |
| 3 | NO.3 cooking zone indicator light: indicates the working status of this zone, high-temperature warning, etc |
| 4 | NO.4 cooking zone indicator light: indicates the working status of this zone, high-temperature warning, etc |
NOTED: Description for each kind of blinking indicator light
- Power on: After the appliance is powered on, all of the indicator lights on the display screen will light up for 2s, then the appliance goes into shutdown mode.
- Standby mode: Under shutdown status, press and hold the button for 3s, all cooking zone indicator lights will alternately turn on and off. The hob will enter standby mode.
- High-temperature warning: Press and hold the power button “ ” manually for 3s until the hob switches off, and the whole appliance will stop heating. If the indicator light corresponding to the burner stops blinking, it indicates that the heating furnace surface is still at a high temperature.
Using the ceramic hob
Before first use
IMPORTANT: You should clean the ceramic hob surface (see “Maintenance and cleaning” section).
- You should switch on one cooking zone at a time, for 5 minutes at the maximum setting. This will help to eliminate any new smell that exists and evaporate any humidity that has formed on the heating elements during transit.
- Do not immediately use more than one zone to burn.
- You must place a saucepan half full with cold water on the cooking zone when you burn.
Operation instruction
Power On
- After the appliance is powered on, all of the indicator lights on the display screen will light up for 2s, then the appliance goes into shutdown mode.
- Shutdown status: All the display are turned off except for the indicator light on the heated cooking zone. At this time, only the power button “ ” can be long pressed to operate, and the operations of other programming knobs are invalid.
Standby mode
- Under shutdown status, press and hold the button for 3s, all cooking zone indicator lights alternately turn on and off. The hob will enter standby mode.
- Under standby mode, if no cooking zone has a heating operation, the appliance will go into shutdown status automatically after 1 minute.
Heating control
- Under standby mode, you can set the power level by the corresponding programming knobs. In the process of adjusting the power level, clockwise rotation can increase the power level from 0 to 15 (maximum), and then rotate back to “0” for a cycle; Counterclockwise rotation can be adjusted from 15 to 1 power levels, and then rotate back to “0” for a cycle.
- When the hob is in heating status, press and hold the power button for 3s to switch off, all the cooking zones stop heating. The indicator light of the previously heated cooking zone blinks, indicating that the surface of the corresponding cooking zone is in a high-temperature state, that is high temperature warning.
- When one of the cooking zones needs to stop heating, the cooking zone can be selected through the corresponding programming knob, turn the programming knob to adjust the power level to “0” which turns off this cooking zone. At this time, other cooking zones’ heating is not affected.
Power level adjustment
- You can select the appropriate output power level by rotating the programming knob of the corresponding cooking zone.
- The power level is divided into 16 levels, including the shutdown level (0 levels). For the programming knob, rotate clockwise to increase the power level and anticlockwise rotation to decrease the power level. When rotating anticlockwise, if the power level is “0” at the beginning, you will rotate the 15 and then decrease the gear successively.
- When the power level of any cooking zone is set to 0, the power output of the zone will be stopped automatically.
- If one of the burners has been heated, and when the power level of all the cooking zones is 0, the appliance will automatically enter the shutdown status after 1 minute without effectively programming knob operation.
Shutdown
- Under standby mode or heating mode, press and hold the button for 3s, and the appliance will go into shutdown mode.
Default timing
- All the cooking zones have a default timing function. The relationship between default timing and power level is referred to in the table below;

- When all the default timing is reached, the cooking zones will switch off automatically and enter into standby mode.
Protection function
- High-temperature protection:
The electronic temperature sensor on the control panel will transmit the real-time temperature to the chip of the control panel. The control sensor starts protection when the electronic temperature sensor gauges the current temperature is higher than a certain value, to reduce the heating level of the cooking zone currently, and resumes the heating level after the temperature drops. - Residual heat protection:
When the whole appliance stops heating, the indicator lights of the relative cooking zone will display, indicating that the cooking surface temperature is too high, to avoid getting burnt do not touch the surface. - As long as the cooking zone has heated before, the indicator light will display for 35 minutes continually after the hob turns off.
PCB board fault codes and solutions
When a PCB board failure occurs, the indicator light on the display panel of the cooking zone will show the failure mode, and all the cooking zones that are being heated stop heating, and automatically return to the shutdown state after 1 minute. For the cooking zones that have been working, their indicator light will continue to display, slowly blinking once every second, indicating that the cooking surface temperature is too high. When the fault is indicated, please refer to the scheme in the following table to solve.
How to use the hot plate
Put the pot in the center of the heating zone, turn the knob clockwise and anticlockwise to turn on the hob.
High-temperature indication light:
When the glass plate is too hot, the high-temperature indication light will light up, don’t touch the glass plate until the indicator light goes out.
Shut down: after using, please turn the knob to “OFF”, the hob will stop heating.
Caution!
- Ensure the heating plate is clean-a soiled zone does not transfer all of the heat.
- Protect the plate against corrosion.
- Switch off the plate against corrosion.
- Do not leave pans with dishes containing fats and oils unattended on the switched-on plate; hot fat can spontaneously catch fire.
Hob guidelines
- The first few times the hob top is used, it may give off an acrid, burning smell. This smell will disappear completely with repeated use.
- The worktop is fitted with cooking areas of different diameters and power.
- The positions where the heat will radiate from are clearly marked on the hob top. The saucepans must be positioned exactly on these zones for efficient heating to occur.
- Pans should have the same diameter as the cooking zone that they are being used on.
- You should not use saucepans with rough bottoms, as this can scratch the ceramic surface.
- Before use, make sure that the bottoms of the saucepans are clean and dry.
- When cold, the bottom of the pans should be slightly concave, as they expand when hot and lie flat on the surface of the hob. This will allow the heat to transfer more easily.
- The best thickness for the bottom of the pans is 2 – 3 mm of enamel steel and 4–6 mm for stainless steel with sandwich-type bottoms.
- If these rules are not followed, then there will be a great loss of heat and energy. Heat not absorbed by the saucepan will spread to the hob, frame, and surrounding cabinets.
- Preferably cover pans with a lid to permit cooking at a lower heat.
- Always cook vegetables and potatoes, etc. in as little water to reduce cooking times.
- Food or liquid that has high sugar content may damage the hob top if it comes into contact with the ceramic hob surface. Any spillages should be wiped up immediately, however, this may not prevent the hob surface from becoming damaged.
- IMPORTANT: The ceramic hob surface is tough; however it is not unbreakable and can be damaged. Especially if pointed or hard objects are allowed to fall on it with some force.
Maintenance and cleaning
Cleaning operations must only be carried out when the hob is cool. The appliance should be disconnected from your mains supply before commencing any cleaning process.
Cleaning the ceramic hob top
- Any residues that are left on the hob top surface from cleaning agents will damage it. You should remove any residues with warm water mixed with a dash of washing-up liquid.
- Abrasive cleaners or sharp objects will damage the hob surface; you should clean it using warm water mixed with a dash of washing-up liquid.
- You may find it easier to clean some deposits whilst the hob surface is still warm. However, you should take care not to burn yourself if cleaning the hob surface when it is still warm.
After each use
- Wipe the appliance over with a damp cloth.
- Dry the appliance by rubbing the surface with a clean cloth.
Cleaning table
| Type of deposit | Remove immediately? | Remove when the appliance has cooled down? | What should I use to remove the deposit? |
| Sugar or food/liquid containing sugar | Yes | No | Ceramic hob scraper |
| Tin foil or plastic | Yes | No | Ceramic hob scraper |
| Fat splashes | No | Yes | Ceramic hob cleaner |
| Metallic discolouration | No | Yes | Ceramic hob cleaner |
| Water splashes or water rings | No | Yes | Ceramic hob cleaner |
Important!
The surface of the hob should only be cleaned with warm water and a small amount of washing-up liquid.
Caution!
Ensure the heating plate is clean-a soiled zone does not transfer all of the heat. Protect the hob against corrosion.
Switch off the hob against corrosion
Do not leave pans with dishes containing fats and oils unattended on the switched-on plate; hot fat can spontaneously catch fire.
IMPORTANT: If your appliance does not appear to be operating correctly, please contact the dealer.
DO NOT ATTEMPT TO REPAIR THE APPLIANCE YOURSELF
Please note that if an engineer is asked to attend whilst the product is under guarantee and finds that the problem is not the result of an appliance fault, then you may be liable for the cost of the call-out charge. The appliance must be accessible for the engineer to perform any necessary repairs. If your appliance is installed in such a way that an engineer is concerned that damage will be caused to the appliance or your kitchen, then they will not complete a repair.
Environmental note
Note:
Before discarding an old appliance, switch off and disconnect it from the power supply. Cut off and render any plugs useless. Cut the cable off directly behind the appliance to prevent misuse. This should be undertaken by a competent person.
This product must not be disposed of together with domestic waste. This product has to be disposed at an authorised place for recycling of electrical and electronic appliances. By collecting and recycling waste, you help save natural resources, and make sure the product is disposed of in an environmentally friendly and healthy way.
WARRANTY
In this warranty:
- Australian Consumer Law means the law as set out in Schedule 2 of the Competition and Consumer Act 2010;
- Company means GSM Retail Australia Pty Ltd ABN 53 007 682 475 of 142-144 Fullarton Road, Rose Park SA 5067. Telephone 1300 373 199. Email [email protected]
- Consumer means a “consumer” as that term is defined in Section 3 of the Australian Consumer Law as the original purchaser of a Bellini product;
- Consumer Guarantees mean the guarantees under the Australian Consumer Law;
- You mean the Consumer.
- Nothing in this warranty affects any person’s rights under the Australian Consumer Law. The benefits to any Consumer under this warranty are in addition to the rights and remedies available under any Consumer Guarantees.
- Subject to the other clauses of this warranty, the Company warrants to the Consumer that the Bellini product will be free of manufacturing defects and will perform to the Company’s specifications.
- The benefit of this warranty extends only to the Consumer as the original purchaser of a Bellini product that is installed in a domestic household area.
The in Home warranty does not apply to Commercial and or industrial usage. - This warranty commences on the date of purchase of the Bellini product by the Consumer and continues for the benefit only of the Consumer until the expiry of three (3) year (Warranty Period).
- If within the Warranty Period a manufacturing defect is discovered in the Bellini product or it fails to perform to the Company’s specifications as a result of some defect in materials, components or workmanship
(Defect) then the Company will, at its option, repair the Bellini product or supply a replacement Bellini product free of charge. A replacement Bellini product may differ from the original product purchased by the Consumer. - This warranty will not apply to any Bellini product:
- Installed by any person other than a qualified tradesperson; or
- Subjected to misuse, neglect, negligence or accidental damage; or
- Operated in any way contrary to any operating or maintenance instructions; or
- Improperly handled, installed or maintained; or
- Altered or modified prior to or after installation; or
- Damaged directly or indirectly by power surges, electrical storm damage or connection to the incorrect power supply
- Industrial and or Commercial usage is inclusive of staff areas in office/ shop environments, hotel/ motel or other similar accommodation or rental-type properties including Bed and Breakfast establishments.
- You must provide proof of your purchase of the Bellini product and the date of purchase in order to obtain
the benefit of this warranty. - If you live outside the service area of the Company or one of its service agents, this warranty does not
cover the cost of transport of the Bellini product for service nor the service agent’s traveling costs to and
from your home. - If you are required to transport the Bellini product to the Company or its service agent, you must ensure it is safely disconnected by a qualified tradesman and securely packed and insured. The Company does not accept any responsibility for loss or damage of the Bellini product prior to it being received by the Company or its service agent.
- You will be responsible for all costs of returning a Bellini product to the Company and for redelivery of the Bellini product by the Company (whether it is the original or a repaired and/or a replacement Bellini product) and for any other expenses you incur in claiming under this warranty.
- The Company or its service agent will examine any Bellini product and if the Company determines that it is defective through no fault of the Owner and is otherwise undamaged, the Company will repair or replace the Bellini product in accordance with this warranty.
DO NOT SEND IN THIS WARRANTY
Fill out the following details and file them with your purchase invoice for safekeeping.
RETAIN & FILE WITH YOUR RECEIPT
Your Purchase Receipt/Invoice is proof of the date of purchase. If you are unable to establish the date of purchase, or if the fault is not covered by this warranty, or if the product is found to be in working order, you will be required to bear all service call charges.
GSM Retail Australia Pty Ltd reserves the right to discontinue items, modify designs and change specifications without incurring obligation. Whilst every effort is made to ensure that descriptions, specifications, and other information in this publication is correct, no warranty is given in respect thereof and the company shall not be liable for any errors therein. Purchased from:
- Co. Name:
- Address:
- Date of Purchase:
- Serial number:
NOTE:
Consistent with our continuing product development policy, improvements may have been made which render the contents of this packaging slightly different to that shown.
For Warranty and technical queries:
- Australia 1300 373 199
- New Zealand 0800 764 912
GSM Retail Australia Pty Ltd ABN:
53 007 582 475
For Warranty and technical queries:
Australia 1300 373 199
For Warranty and technical queries:
New Zealand 0800 764 912 www.belliniappliances.com.au.





















