LOEWE S.77 Floor Stand Motor

Installation instructions
Safety instructions
Observe the information in the instructions. Handle tools with the necessary care and attention. Install your combination of equipment in such a way that it presents no danger to playing children for example and also can not be damaged.
The safety instructions for our TV sets also apply here.
Please turn the Loewe floor stand motor via the motor control of your TV. Do not apply pressure or pull on the screen. If necessary, only hold the TV by the speaker housing to turn it manually.
Never lift the device by the screen. For transport, only hold the unit by the Loewe floor stand motor or, if necessary, by the speaker housing.
To prevent damage to the TV set during transport, the transport securing screw must be screwed back in before the TV set is moved. Remove the transport securing screw before you use the TV set again!
The mounting option can only be used for the TV sets in the following allocation table.
| Loewe bild s.77 + floor / table stand motor | ||
| TV | TV part number | Loewe set-up solution / article number* Solution |
| Loewe bild s.77 edition | 60420D99 | floor stand motor s.77 (60804D00) |
| Loewe bild s.77 | 60420D50 | table stand motor s.77 (60805D00) |
| floor stand motor v (60804B00) | ||
| Loewe bild v + floor / table stand motor + adapter | ||
| TV | TV part number | Loewe set-up solution / article number* Solution |
| Loewe bild v.65 dr+ Loewe bild v.55 dr+ Loewe bild v.55 | 60410Dxx 60411Dxx 60411Dxx | floor stand motor s.77 (60804D00) table stand motor s.77 (60805D00) floor stand motor v (60804B00) + adapter bild v stand s (60806D00) |
Required tools
- Torx screwdriver T20
- Allen wrench SW5
- Spirit level
Scope of delivery
Loewe floor stand motor s.77
- 1 x Brace A
- 1 x Brace B
- 1 x Brace C
- 1 x Support tube with mounting plate E 1 x Countersunk screw M8 x 55 SW5 F 1 x Protective felt
- 4 x Flange head screw M4 x 12 Torx T20 H 2 x adhesive cable tie

Installation Loewe bild v
For mounting the bild v you need the adapter bild stand s
Loewe adapter bild v stand s
Loewe floor stand motor s.77 monteren
For the entire assembly, lay a protective pad on delicate surfaces to prevent scratching.
Strut (A), lay out as shown
Make sure that the recess (groove) shows the illustra-ted form.
Struts (A) used in the support tube with mounting plate (D)

For the entire assembly, lay a protective pad on delicate surfaces to prevent scratching.
Strut (B), lay out as shown
Make sure that the recess (groove) shows the illustra-ted form.
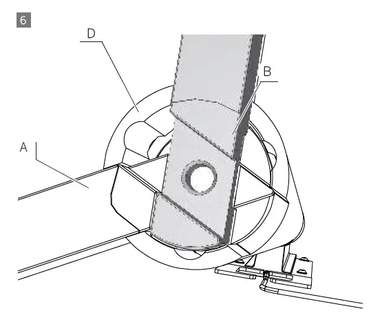
Struts (A and B) used in the support tube with mount-ing plate (D)

For the entire assembly, lay a protective pad on delicate surfaces to prevent scratching.
Strut (C), lay out as shown
Make sure that the recess (groove) shows the illus-trated form.
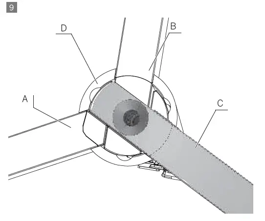
Struts (A, B and C) used in the support tube with mounting plate (D)


For the entire assembly, lay a protective pad on delicate surfaces to prevent scratching.
Push the countersunk screw (E) through the hole and screw it into the support tube by means of spanner SW5. Tightening torque is approx. 5 Nm
Stick protective felt (F) centrically as shown

The struts (A), (B) and (C) are fixed with screw (E) on the support tube (D). Screw (E) tightened with about 5 Nm (well hand-tight). Protective felt (F) is centrically bonded
Put the Loewe floor stand motor s.77 to the future installation site 
Attention! With the help of a third person, the TV can be accurately positioned on the mounting plate of the Loewe floor stand motor s.77
Protect the upper part of the Loewe floor stand motor s.77 from damage by covering it with a fleece from the packaging material
TV should be mounted on the mounting plate by two people (initially held without screws), make sure that the lugs (N1 and N2) of the TV are fitted and lug (N3) locks into place (slightly lift and push the TV to the Loewe floor stand motor s.77)
Screw flange head screws (G) with Torx screwdriver T20 all the way in do not tighten!
Carefully remove the backup tapes (SB), four protection strips (A), stabilisation plate and protective fabric covers
Attention! Protect TV set from damage caused by scratches
Align the TV horizontally with a level
Tighten flange head screws (G) (by hand)
ATTENTION
Unscrew and remove retaining screw for transport (arrow 1) by means of Torx screwdriver T20


Lay out the connecting cable
- Connection cables as well as power and reception cables can be routed in a fabric sleeve (S). This one is not included in the equipment supplied, but can be purchased from a specialist dealer. Information about this on page 16
- The connection area around the TV, refer to the instruc-tion manual of the TV set)


- Lead cable through the Loewe floor stand motor s.77 as illustrated
- Connect cable to the TV (see sketch, arrows), refer to instruction manual

- Lay and connect the Loewe floor stand motor s.77. control line (L) as illustrated, arrow 1
- Make sure the cables are kept loose (not stretched). Fix cable with Velcro cable tie (H) as illustrated, Velcro cable ties (H) included in set of equipment supplied With the second Velcro cable tie (H), if required, make another fixation


Note
There is the option of laying the cables that lead out of the floor stand together in a fabric sleeve. This fabric sleeve is not included. You can buy the fabric sleeve in different lengths and colours from your specialist retailer.
Order number for
- Fabric sleeve, black: 31947 004
- Fabric sleeve, silver: 31947 005
Loewe floor stand motor s.77
Art. Nr. 72630D00
Loewe FSN 7.65_77
Art. Nr. 60804D00
Printed in Germany
Auflage 1, 11/2020 SB
Änderungen vorbehalten
Subject to modifications Modifications reservée
Con riserva di modifiche
Reservado el drecho a modificaciones Wijzigingen voorbehouden
Loewe Technology GmbH, Customer Care Center Industriestraße 11
D-96317 Kronach
Telefon +49 9261 99-500
Telefax +49 9261 99-515
E-mail: [email protected]















