AXMINSTER AW140OSS Oscillating Spindle Sander 
TECHNICAL SPECIFICATIONS
SAFETY INSTRUCTIONS
GENERAL SAFETY INSTRUCTIONS
Read and understand all these instructions before attempting to operate this product and keep them in a safe place for future reference.
Warning! using electric power tools the following basic safety precautions should always be followed to reduce the risk offire, electric shock and injury.
SAFETY INSTRUCTIONS
Before attempting to operate this machine, it is important that you read , understand, and follow these instructions very carefully. They are designed for the safety of yourself and others ensuring a long and trouble-free service life from your machine.
SAFE OPERATION KNOW YOUR POWER TOOL
It is important that you read and understand our instruction manual and any label attached to the power tool. Learn its applications as well as its limitation and the potential hazard associated with this power tool.
WORKAREA
Cluttered benches and work areas invite accidents. Workbenches should be kept tidy. Floors should be kept clean and free from rubbish. Special care should be taken when the floor is slippery due to sawdust or wax.
WORK ENVIRONMENT
Do not expose your power tool to rain, or use in damp or wet locations. Keep the work area well lit. Do not use power tools in areas where is a risk of explosion or fire from combustible materials, flammable liquids, paint, varnish, petrol etc. flammable gases and dust of an explosion nature. As a precaution, it is recommended that you consult an expert on a suitable fire extinguisher and its use .
GUARD AGAINST ELECTRIC SHOCK
Avoid body contact with earthed or grounded surfaces (e.g. pipes, radiators, ranges, and refrigerators).
BEWARE CHILDREN AND PETS
Children and pets should be kept out of the work area. Children not be allowed to touch or operate machinery or touch extension cords. All power tools should be kept out of the reach of children, preferably stored or locked in a secure cabinet or room when not in use.
DO NOT FORCE THE POWER TOOL
The power tool will be do a better and safer job and give you much better service if it is used at the rate for which it was designed.
USE THE RIGHT TOOL
Select the right tool for the job .Do not use a tool for a job for which it was not designed. Do not force a small tool to do the job of a heavy-duty tool. Do not use tools for purposes not intended; for example do not use a circular saw to cut tree limbs or logs.
PERSONAL SAFETY CLOTHING
Do not wear loose clothing, jewellery or anything that could get caught in moving machinery.
EYE PORTECTION
The use of safety goggles is a mandatory requirement (normal glasses are not sufficient for eye protection). Prescription spectacles do not have safety lenses.
FOOTWEAR
Where there is a risk of heavy objects damaging feet or if there is a risk of slipping on wet or slippery floors suitable non-slip safety footwear should be worn.
HAIR
Long hair should be tied back or contained in a protective covering .
HEAD PROTECTION
Where there is a risk of falling objects or hitting your head on protruding or low level Obstructions a hard hat should be worn.
RESPIRATORY PROTECTION
When the machining operation creates dust wear a dust mask. When machining concrete, man-made fiberboards, especially MDF (Medium Density Fibre Board) the resin used in these materials can be hazardous to your health. Use an approved face mask with a replaceable filter.
DUST EXTRACTION EQUIPMENT
If the machine is fitted with dust extraction and collection facilities ensure that these are properly connected and used.
DO NOT ABUSE THE POWER CORD
Never yank or pull on the power cord to disconnect it from the main supply socket. Never carry your power tool by its power cord. Keep the power cord away from heat, oil, solvents, and sharp edges. If the power cord becomes damaged have it replaced by an authorized service facility.
SECURE THE WORKPIECE
Wherever possible secure the workpiece using clamps or a vice. It is safer than using your hand and leaves both hands free to control the power tool.
DO NOT OVER-REACH
Do not over-reach, keep proper footing and maintain your balance at all times.
MAINTAIN TOOLS WITH CARE
Keep cutting tools sharp and clean for better and safer performance. Follow the instructions for lubricating and changing accessories. Check the tool power cord periodically and if damaged have it replaced by an authorized service facility. Inspect extension cords periodically and if damaged replace it. Keep handles dry clean and free from oil and grease. Ensure that ventilation slots are kept clean and free from dust at all times. Blocked ventilation slots can cause overheating and damage to the motor.
DISCONNECT POWER TOOLS
Ensure that power tools are disconnected from the mains supply when not in use, before servicing, lubricating or making adjustments and when changing accessories such as blades, bits and cutters.
REMOVE ADJUSTING KEYS AND WRENCHES
Form the habit of always checking to see that keys and adjusting wrenches are removed from the power tool before turning it on .
AVOID UNINTENTIONAL STARTING
Ensure that the switch is in the OFF position before plugging the power tool into the mains supply.
EXTENSION CORDS AND REELS
Do not use 2 core extension cords or reels on power tools with an earth path. Always use a 3-core extension cord or reel with the earth core connected to earth. When the power tool is to be used outdoors , use only extension cords intended for outdoor use and are so marked. Always unwind any extension cords fully. For extension cords, up to 15 meters use a wire cross-section of 1.5mm. For extension cords over 15 meters but less than 40 meters use a wire cross-section of 2.5mm. Always replace a damaged extension cord before using it. Protect your extension cord from sharp objects, excessive heat and damp or wet locations.
STAY ALERT
Watch what you are doing, use common sense. And do not operate the power tool when you are tired, if taking medication that causes drowsiness, when having consumed alcohol or taken drugs.
CHECK DAMAGED PARTS
Before using the power tool it should be carefully checked to determine that it will operate properly and perform its intended function. Check for the correct alignment of moving parts ensuring they do not bind. Check for broken or missing parts and have them replaced or repaired at an authorized service center. If the power tool requires mounting make sure it is securely attached to a suitable work bench. Check any other condition that may affect the operation of the power tool.
A guard or any other part of the power tool that is damaged should be properly repaired or replaced by an authorized service center unless otherwise indicated in this instruction manual. Any switch that does not operate correctly must be replaced by an authorized service center. Do not use the power tool if the ON/OFF switch does not turn the power tool ON and OFF.
Do not attempt to modify the power tool in any way. The use of any attachment or accessory other than those recommended in this instruction manual could result in damage to the power tool and injury to the operator. Have your power tool repaired by a qualified person . This electric power tool complies with national and international standards and safety requirements . Repairs should only be carried out by qualified persons to do so may result in considerable danger to the user.
PROTECT FURNISHINGS
If using the power tool inside your house protect furnishings with a suitable dust sheet.
FIRE PRECAUTIONS
When using certain power tools your house or workshop general fire precautions should be observed. As aPrecaution, it is recommended that an expert is consulted on obtaining and using a suitable fire extinguisher.
EXTREME CAUTION REQUIRED
Be aware that the paint on old wood could contain high levels of lead . Extreme care should be taken when sanding painted surfaces. The dust may contain LEAD which, if touched, ingested or inhaled will cause poisoning and can be fatal. Any pre-1960’s building may have had paint containing lead on wood or metal structures and surfaces.
STOP!
If you suspect paint in your house contains lead seek professional help . Once lead is in the body it is retained until a fatal level is reached . Small amounts of exposure can cause irreversible brain and nervous system damage. The young and unborn are particularly at risk.
warning!
Some wood and type products especially MDF (Medium Density Fibreboard) can produce dust that can be hazardous to your health. We recommend the use of an approved
face mask with replaceable filters when using this machine in addition to using the dust extraction facility. Ensure that power tools are disconnected from the mains supply when not in use, before servicing, lubricating or making adjustments and when changing accessories such as table inserts and sanding belts.
This machine has been designed for sanding wood, wood-type products and plastics. It must not be used for sanding metal as the sparks could ignite sawdust and wood shavings. It is not recommended that this machine be used for sanding fiberglass or similar materials as the particles generated can cause under ware on bearings etc. Do not attempt to use for sanding operations as a fatal electric shock could occur. This machine is to be use for dry sanding only.
Ensure that the sanding drum is the correct size for the bobbin being used. Do not start the machine whilst it is in contact whit the workpiece. Check the work piece for any protruding nails, screw heads or anything that could tear or damage the sanding drum.
Replace the sanding drum as soon as it becomes worn or if it is torn, torn sanding drums can cause deep scratches that are difficult to remove. Always start sanding with a coarse-grade sanding drum working through the grades to the finest grade.
Never try to modify the machine or fit accessories other than those recommended in this manual. Regularly clean the machine and remove any build up of sawdust inside
and around the machine. A build up of sawdust can be a fire hazard. Never leave the machine unattended while it is still running.
TIP: An acceptable filler which could be a good colour match can be made by mixing the sanding dust with PVA glue.
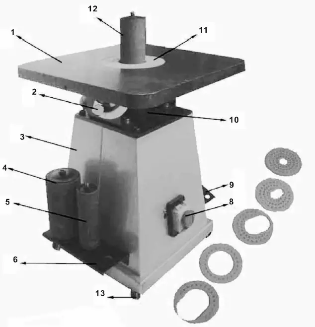
GET TO KNOW YOUR MACHINE
- 0- 45° tilting table
- 0- 45° securing knob
- Machine body
- 50mm(2″) sanding drum
- 22mm(3/4″)sanding drum
- Tool holder for sanding drum
- —-
- ON/OFF switch with emergency stop
- Tool holder for table insert
- Main motor spindle and sanding attachment point
- Table insert
- 38mm(1-1/2″) sanding drum
- Rubber feet
ASSEMBLY
THE MACHINE IS HEAVY AND MAY REQUIRE TWO PERSON LIFTING
Remove the Bobbin Sander from the packaging . The machine comes ready assembled apart from the sanding attachments and the rubber feet.
ATTACHING THE RUBBER FEET
Lower the machine onto its side. Remove the feet from the plastic wrapping. Remove the nut and washer from the thread. Locate the four mounting points on the underneath of the machine. Insert the thread into the hole so that the rubber foot points downward (fig 1 ).
Put on the washer followed by the nut. Tighten with a spanner. Repeat operation for the other three feet. Site the machine at a suitable height enabling sanding operation to be carried out comfortably and in a safe manner.
TO INSTALL THE SANDPAPER ONTO THE RUBBER CYLINDER OR BOBBINS
Caution! MAKE SURE THE MACHINE IS ISOLATED FROM THE SUPPLY BEFORE ANY MAINTENANCE, CLEANING OR ADJUSTMENTS ARE UNDERTAKEN.
The sander has been supplied with a 50mm, 38mm and 22mm rubber cylinder or bobbins (fitted with sanding drum installed) . If you want to change the grade of sanding paper already attached to the bobbins proceed as below. The bobbin consists of a rubber body with a metal axle passing through the center (fig2). The axle has a key which locates into a keyway in the rubber body. Normally these should need not be disturbed unless the rubber body is damaged. At either end of the body are two large compression washers.
At the top is a nut and washer to secure the cylindrical sandpaper. The low part of the axle is threaded which locates into the motor drive. Remove the nut using a suitable
spanner (fig 3), lift away the washer and slide the sanding drum clear of the bobbin.
If removal was difficult sprinkle a small amount of talcum powder onto the rubber to aid fitting the new sandpaper drum. Various grades of sanding drum are available for different jobs . See your stockist for replacement of sanding drum. Offer the sanding drum to the rubber body (fig4). Slide onto the rubber body so it fits centrally with no edge overhanging.
Replace the washer and nut. With a spanner tighten the nut to expand the rubber body. This will grip the sanding drum. Do not over-tighten as this will distort rubber body.
INSTALLING THE BOBBIN ONTO THE MACHINE
Lower the bobbin down through the top of the machine. Locate the thread on the bobbin spindle into the thread on the motor drive spindle. Hold the motor drive spindle with your hand and tighten the bobbin into the motor drive spindle. Select two open ended spanners (fig 5).

With one spanner hold the motor drive spindle and with the other spanners tighten the bobbin spindle. Do not overtighten.
SELECTING TABLE INSERT
The machine comes with two table inserts. There is one with a round cutout and one with oval cutout. For normal sanding choose the insert with the round cutout (fig 6). Notice the cutout on the edge of the table insert. This aligns the peg in the recess on the table (fig 6). Lower into position making sure the table insert locates in the recess and is flush with the table.
To remove simply push with your finger from underneath to dislodge the table insert.
CHECKING THE TABLE TOP ALIGNS WITH ZERO DEGREES
The table top has the facility to tilt between 0°and 45°.
Note! Check that the table is set to 0° with respect to the bobbin. Using a suitable go 0 square placed on the table top, move the square to the bobbin. It should measure go 0 (fig 7).
If the table is not square an adjustment can be made. Located under the work table is a stop bolt that adjusts the level of the table (fig 8 ). Loosen the lock nut and raise or lower the stop bolt. Take note of when table is at go 0 with the bobbin . Tighten the lock nut. Locate the pointer and scale. Slacken the pointer screw. Align with the 0° position on the scale and re-tighten screw.
OPERATING INSTRUCTIONS
TILTING THE TABLE & Note!
Remove the table insert with the round cutout before tilting the table otherwise it will break. The table will tilt 0° – 45°. Once the desired angle has been reached tighten the two locking knobs (fig 8) . Locate the table insert with the oval cutout and place into the table top (fig 9).

STARTING AND STOPPING
The machine is with a no volt switch . In the event of a power failure, the motor will not start once the power is restored. Located on the front of the machine is the ON/OFF button incorporating the emergency stop button. Insert the machine plug into a suitable 13 amp outlet socket. Lift the emergency stop cover to reveal the ON/OFF buttons (fig 10). Press the green button to start. Close the emergency stop cover. Do not close by pushing the large red button as the motor will stop.

EMERGENCY STOP BUTTON
This is the large red button (fig 11 ). Simply hit the button and the machine will stop. There is no need to lift the cover to access the stop button underneath. To start the machine see starting and stopping. In the event of power failure the machine will not restart when the power is restored.

USING THE BOBBIN SANDER
Start the machine and wait the motor has build up to full speed. It can be seen that the bobbin moves up down traveling 24mm in total.
Caution! NEVER START THE MACHINE WITH WORK IN CONTACT WITH THE BOBBIN.
Looking from the front of the machine the motor turns in a clockwise direction (fig 12).
Feed the work across and with the direction of rotation.
NEVER feed the work into the machine and stand with your body directly behind it. The machine could force the work into the operator and cause serious injury.
USING THE BOBBIN SANDER AT ANGLES 0° – 45°
Take out the round insert and store carefully. Put in the oval insert (refer to selecting table insert, page 10) Slacken the table securing knobs either side of the machine. Tilt the table to the desired angle and re-tighten the locking knobs. Feed the work into the machine always with the direction of rotation (fig 13).
Note! Always bear in mind that when the table is tilted to a particular position the angle will only remain constant if the work is run parallel to the bobbin .
DUST EXTRACTION
The machine is fitted with a 50mm diameter dust extraction outlet, and an adaptor from 50mm to 100mm. This is located at the rear of the machine (fig 14) and should be attached to a suitable extractor/collector.
PARTS LIST & DIAGRAM
No. Description
- Base
- Washer4mm
- Cross recessed pan head screw M4x12
- switch
- Hexagon nut M4
- Spring washer 4mm
- Lock washer external teeth 4mm
- Motor
- Key 5x5x50
- Hexagon socket set screw w/flat point”M6x5
- Worm
- Circle for hole 55
- Circle for shaft 32
- Bearing 80106
- Hexagon head screw M8x75
- Washer 5mm
- Rock arm dowel
- Rock arm parts
- Guide column
- Inner sleeve for bobbin shaft
- Bobbin shaft sleeve
- Parallel pin 4×30
- Bearing 61804
- 2″ center board
- 2″ long hole center board
- 1″ center board
- 1″ long hole center board
- Spring-type staright pin 3×8
- Work table
- Cross recessed pan head screw M5x6
- Dust cover
- Hexagon head screw M8x20
- Washer 8mm
- Cross recessed pan head screw M6x20
- Washer 6mm
- Cross recessed pan head screw M5x10
- Rotating disc
- Left frame
- Dial knob
- Hexgon nut M6
- Right frame
- Dial
- Cross recessed pan head screw M8x16
- Dust collect cover
- Hexgagon nut M5
- Hexaqon socket cap head screw M5x3D
- Right core shaft
- Worm wheel
- Worm wheel frame
- Left core shaft
- Hexagon head screw M6x16
- Motor frame
- Hexagon nut M8
- Hexagon head screw M8x25
- Spring washer 8mm
- Hexagon nut M8 left
- 2″ convex washer
- 2″ sand sleeve
- 2″ rubber drum
- 2″ rubber drum washer
- Connecting rod
- key 5x5x50
- 1-1 /2″ rubber drum washer
- 1-1/2″ rubber drum
- 1-1 /2″ sand sleeve
- 1-1 /2″ convex washer
- Big washer
- 3/4″ sand sleeve
- 3/4″ rubber drum
- 3/4″ connecting rod
- Insert parts house
- Cone sleeve
- right sand drum frame
- Cone sleeve nut
- Left snad drum frame
- Cross recessed pan head screw ST3.5×12
- Washer nut
- Rubber washer
- Bottom plate for switch box
- Support board
- Hexaqon socket cap head screw M6x12
- Dial scale
- Point
- Hexagon head screw M6x14
- 3″ center board
- 3″ long hole center board
The Axminster guarantee
Buy with confidence from Axminster! So sure are we of the quality, we cover all parts and labour free of charge for three years!
EU Countries Only
Do not dispose of electric tools together with household waste material. By law they must be collected and recycled separately.
Axminster Tools, Axminster Devon EX13 5PH
axminstertools.com





















