VonHaus 3500113 450W Oscillating Bobbin Spindle Sander Instruction Manual
Safety Instructions
WARNING
Please read and understand these Safety Warnings, Safety Symbols and Instructions carefully and retain for future use.
INTENDED USE.
Only use the Power Tool as described in this manual. The use of any accessory or attachment or performance of any operation with this tool other than those recommended in this instruction manual may present a risk of personal injury and/ or damage to property.
This tool is not intended for use by persons with reduced physical, sensory or mental capabilities, or lack of experience and knowledge, unless they have been given supervision or instructions concerning use of the tool by a person responsible for their safety.
Children should be supervised to ensure they do not play with the tool.
GENERAL SAFETY INFORMATION.
WARNING! Read all safety warnings and all instructions. Failure to follow the warnings and instructions may result in electric shock, fire and/or serious injury.
Please retain all warnings and instructions for future reference.
The term “power tool” in the warnings refers to your mains-operated (corded) power tool.
ELECTRICAL SAFETY.
Avoid body contact with earthed or grounded surfaces such as pipes, radiators, ranges and refrigerators. There is an increased risk of electric shock if your body is earthed or grounded. Do not expose power tools to rain or wet conditions. Water entering the power tool will increase the risk of electric shock.
WORK AREA SAFETY.
Keep your work area clean and well lit. Cluttered or dark areas invite accidents. Do not operate power tools in explosive atmospheres such as in the presence of flammable liquids, gases or dust. Power tools create sparks which may ignite the dust or fumes.
Keep bystanders, children and animals away while operating the power tool. Distractions can cause you to lose control.
BEFORE USE.
WARNING! Know your Power Tool. Do not plug the tool into the power source until you have read and understood the information in this manual. Learn the tool’s applications and limitations, as well as the specific potential hazards related to this tool, in order to reduce the risk of electric shock, fire or serious injury.
WARNING! If any part is missing or damaged, do not plug the tool into the power source or install any accessory until the missing or damaged part is repaired or replaced. Failure to follow this instruction could result in serious personal injury.
Do not use a power tool while you are tired or under the influence of drugs, alcohol or medication. A moment of inattention while operating power tools may result in serious personal injury.
Use personal protective equipment. Always wear eye protection. Protective equipment such as a dust mask, nonskid safety shoes, hard hat, or hearing protection used for appropriate conditions will reduce the risk of personal injury.
WARNING! Contact with, or inhalation of, dusts arising from sanding applications may endanger the health of the operator and possible bystanders. Wear a dust mask specifically designed for protection against dust and fumes and ensure that persons within or entering the work area are also protected.
Always wear eye protection. Any power tool can throw foreign objects into your eyes and cause permanent eye damage.
Always wear safety goggles (not glasses) that comply with ANSI safety standard Z87.1.
Everyday glasses have only impactresistant lenses. They are not safety glasses.
WARNING! Wearing glasses or goggles not in compliance with ANSI Z87.1 when operating this tool could cause serious injury.
Dress appropriately. Do not wear loose clothing or jewellery. Keep your hair, clothing and gloves away from moving parts to prevent them from becoming caught in the tool.
Remove any adjusting key or wrench before turning the power tool on. A wrench or key left attached to a rotating part of the power tool may result in personal injury.
If devices are provided for the connection of dust extraction and collection facilities, ensure that these are connected and properly used to reduce dust-related hazards.
Use clamps, or another practical way, to secure and support the workpiece to a stable platform. Holding the work by hand or against your body leaves it unstable and may lead to loss of control.
Make sure there are no nails or foreign objects in the path of the workpiece to be cut or sanded.
Be aware of hidden hazards, before sanding into walls, floors or ceilings, check for the location of wiring and pipes.
Prevent unintentional starting. Ensure the switch is in the off position before connecting to the power source and/ or battery pack, picking up or carrying the tool. Carrying power tools with your finger on the switch or energising power tools that are switched on invites accidents.
POWER TOOL USE AND CARE.
Use the power tool, accessories and tool bits etc. in accordance with these instructions, taking into account the working conditions and the work to be performed. Use of the power tool for operations different from those intended could result in a hazardous situation.
Do not use the power tool if the switch does not turn it on and off. A power tool that cannot be controlled with the switch is dangerous and must be repaired. Stay alert, watch what you are doing and use common sense when operating a power tool.
Hold the power tool by insulated gripping surfaces when performing an operation where the sanding accessory may contact hidden wiring or its own cord. A sanding accessory contacting a “live” wire may make exposed metal parts of the power tool “live” and could give the operator an electric shock.
Keep hands away from sanding area. Never reach underneath the work piece for any reason. Do not insert fingers or thumb into the vicinity of the blades/ sanding attachments. Do not stabilize the Power Tool by gripping the shoe.
Do not force the power tool. Use the correct power tool for your application.The correct power tool will do the job better and safer at the rate for which it was designed.
Do not overreach. Keep proper footing and balance at all times. This will enable better control of the power tool in unexpected situations.
Always switch the tool off and wait for it to come to a complete standstill before putting the tool down. Do not touch the workpiece or the blade immediately after operating the tool. They can become very hot.
STORAGE & MAINTENANCE.
Disconnect the plug from the power source the power tool before making any adjustments, changing accessories or storing. Such preventative safety measures reduce the risk of starting the power tool accidentally.
Store idle power tools out of reach of children and do not allow persons unfamiliar with the power tool or these instructions to operate the power tool. Power tools are dangerous in the hands of untrained users.
Maintain the power tool. Check for misalignment or binding of moving parts, breakage of parts and any other condition that may affect the power tool’s operation. If damaged, have the power tool repaired before use. Many accidents are caused by poorly maintained power tools.
Keep sanding tools sharp and clean.
Properly maintained sanding tools with sharp sanding edges are less likely to bind and are easier to control.
Keep blades sharp. Dull or damaged blades may cause the Power Tool to swerve or stall under pressure. Always use the appropriate type of blade/sandpaper for the workpiece material and type of cut/sander.
When sanding pipe or conduit, make sure that they are free from water, electrical wiring, etc.
Never use dull blades in the tool. They will cut slower, leave rough cuts and break easily due to added pressure and excessive heat. They will also overload the motor and cause premature failure of the tool.
Have your power tool serviced by a qualified repair person using identical replacement parts only to ensure that the safety of the power tool is maintained.
WARNING! Use only accessories recommended for this oscillating tool. Follow the instructions that accompany the accessories. The use of improper accessories may result in injury to the operator or damage the tool.
SAFETY SYMBOLS
The following safety symbols may appear on this product. Please ensure you understand their meanings before operating this product in order to prevent personal injury and avoid damage to the tool.
- WARNING! Pay attention to all safety and guidance.

- Read manual before use.

- Wear eye and ear protection.

- Wear a dust mask.

- Wear protective gloves.

SPECIFICATION
RATED VOLTAGE | POWER | NO LOAD SPEED | STROKE LENGTH |
| V | W | min-1 | mm |
220-240V, ~ 50/60Hz | 450 | 2000 | 16 |
Product Parts

- On-Board Table Insert Storage
- On/Off Switch
- Motor Housing
- Table Top
- Spindle
- Spindle Lock Nut
- Lower Spindle Washer
- On-Board Spindle Storage
- Upper Spindle Washers (x3)
- Table Insert (x6)
- Sanding Sleeves
- Rubber Drum (x5)
- Dust Extraction Port
- Wrench
BENCH MOUNTING
If the Spindle Sander is to be used in a permanent position, it is recommended that you secure it to a rigid work surface.
Use the holes in the base of the Spindle Sander as a template to mark and drill four holes in your intended mounting surface (ie workbench). Secure the Spindle Sander into position using large bolts, washers and nuts (not supplied).
If the Spindle Sander is intended to be more portable, fix a board to the base which can be easily clamped and removed from various mounting surfaces
If using bolts make sure they are long enough to penetrate the workbench or board sufficiently for a secure fix.
NOTE: Use nylon insert lock nuts or spring washers in the fixings to prevent vibration from loosening the fixings.
NOTE: Never use bolts that require force to push through the Bench Mounting Holes as these maycrack the plastic body as will over-tightening the fixings.
DUST EXTRACTION
It is recommended that the Spindle Sander is used with a dust extraction system for a cleaner and safer work environment.
Attach the hose from the dust extraction system to the Dust Extraction Port (13) and ensure it is secure. For greatest efficiency, activate the dust extraction system before turning on the Spindle Sander.
SELECTING A TABLE INSERT
Failure to use the correct table insert with its matching sanding sleeve could result in pinched fingers or the workpiece being pulled down between the table insert and the sanding sleeve.
The sanding sleeve should fit snugly into the central cut-out of the table insert.
Use the following chart to help determine the correct table insert and upper spindle washer to use with each sanding sleeve.
| Sanding Sleeve Diameter | Table Insert Size | Upper Spindle Washer (9) Size |
| 13mm / 1/2” | 13mm / 1/2” | Small |
| 19mm / 3/4” | 19mm / 3/4” | Medium |
| 26mm / 1” | 26mm / 1” | Medium |
| 38mm / 1 1/2” | 38mm / 1 1/2” | Large |
| 51mm / 2” | 51mm / 2 | Large |
| 76mm / 3” | 76mm / 3” | Large |
SELECTING THE RIGHT GRADE OF SANDING SLEEVE
Sanding sleeves are available in a variety of different
- Grades: coarse (80 grit)
- Medium (160 grit)
- Fine (240 grit)
Use a coarse grit to sand down rough finishes, medium grit to smooth the work, and fine grit to finish off.
Always use good quality sanding sleeve to maximise the quality of the finished task.
It is advisable to do a trial run on a scrap piece of material to determine the optimum grades of sanding sleeve for a particular job.
If there are still marks on your work after sanding, try either going back to a coarser grade and sanding the marks out before recommencing with the original choice of grit, or try using a new piece of sanding sleeve to eliminate the unwanted marks before going on to a finer grit and finishing the job.
FITTING A SANDING SLEEVE
NOTE: All of the Sanding Sleeves (11), except the smallest 13mm (1/2”) Sanding Sleeve fit over a matching Rubber Drum (12).
The Smallest Sanding Sleeve fits over the Spindle alone and uses the Small Washer.
NOTE: Ensure there is no contact between the Sanding Sleeve and the Table Insert before turning the machine on.
Fit the Lower Spindle Washer (7) over the Spindle (5) with the grooves facing upwards. Fig 1.
Select the correct Sanding Sleeve for the intended job. Select the corresponding Rubber Drum, (except when using the 13mm sanding sleeve).
Select the appropriate Table Insert (10) in accordance with the table in ‘Selecting a table insert’.
Fit the Table Insert over the Spindle and onto the Table Ensure the Table Insert is flush with the table. Fig.2.
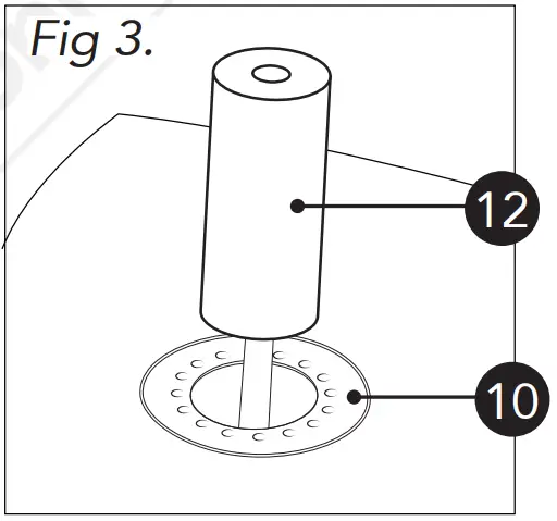
Fit the Rubber Drum over the Spindle. Fig.3.
Slide the Sanding Sleeve over the Rubber Drum. Fig.4.
Fit the Upper Spindle Washer (9) over the Spindle
Use the large washer with the 75mm (3”), 51mm (2”), and 38mm (1 1/2”) Rubber Drums
Use the medium washer with the 26mm (1”) and 19mm (3/4”) Rubber Drums. Fig.5.
Use the small washer with the 13mm (1/2”) Sanding Sleeve. Fig.5.
Fit the Spindle Lock Nut (6) and the Spring Washer on the Spindle. Tighten the nut just enough to expand the Rubber Drum against the Sanding Sleeve. Do not over-tighten. Fig.6.
When the sanding sleeve is completely worn it is possible to turn it upside down and maximise its service life by using the remaining grit.
NOTE: If the sleeve rotates on the drum when switched on, the Spindle Lock Nut has not been sufficiently tightened to compress the drum and therefore grip the sleeve.
IMPORTANT: Do not use a sanding sleeve that is too worn. This can lead to excessive heat build-up and damage the rubber drum. Damaged rubber drums due to worn sanding sleeves will not be covered under warranty.
IMPORTANT: When disassembling the upper and lower Spindle Washers, these may become difficult to remove from the Rubber Drum.
If this occurs use a blunt edge to remove the Washers.
OPERATION
POWERING ON AND OFF
The On/Off Switch (2) is located on the front of the Spindle Sander.
To turn the Spindle Sander ON: Press the green button marked (-).
To turn the Spindle Sander OFF: Press the red button marked (O).
SANDING
WARNING: Do not sand metal with this sander. Sanding metal will cause sparks that may ignite wood and dust particles on the sander or in the workshop.
NOTE: The spindle rotates in an anti-clockwise direction.
Check the machine is mounted securely on the workbench and the Spindle Lock Nut (6) is fastened correctly with appropriate sanding sleeve and table insert in place.
Wear appropriate safety equipment, including face mask and safety glasses, then switch on the dust extraction system (if available).
CLEANING
Remove dust and dirt regularly. Frequently blow or vacuum dust away from all sander parts and the motor housing.
Periodically remove the table insert and lower washer from the spindle and remove any dust accumulation in the table insert area.
Re-lubricate all moving parts at regular intervals Never use caustic agents to clean plastic parts.
Do not use cleaning agents to clean the plastic parts of the tool. A mild detergent on a damp cloth is recommended. Water must never come into contact with the tool.
TROUBLESHOOTING
| PROBLEM | SOLUTION |
| THE TOOL WILL NOT START | Ensure the tool is connected to mains power. Activate the ON/OFF Switch. Check the fuse and replace if required. |
| SANDING SLEEVE DOES NOT ROTATE WITH RUBBER DRUM | Spindle Lock Nut (6) is not tight enough. Tighten Spindle Lock Nut in small increments until the Rubber Drum secures the Sanding Sleeve. |
| LARGE AMOUNTS OF DUST IS BEING PRODUCED | Dust extractor passage is blocked. Turn off the machine at the mains. Remove the Rubber Drum, Table Insert (10) and the Spindle Washer (9). Remove the blockage from the dust extractor passage Incorrect Table Insert used. Change to the correct-sized Table Insert |
| CORROSION IS FORMING ON THE TABLE TOP (4) | Moisture is causing the Table Top to corrode. Using a clean dry cloth, rub a thin film of compatible protective lubrication over the clean Table Top surface. |
| SANDING DRUM NOT OPERATING AT FULL SPEED OR MOTOR SOUNDS DIFFERENT TO NORMAL | Motor over-heating. Switch off and allow to cool for a 1/2hr. Motor faulty. Contact DOMU Customer Service. |
If you are having difficulty using this product and require support, please contact [email protected]
DISPOSAL INFORMATION
Please recycle where facilities exist. Check with your local authority for recycling advice.
WARRANTY
To register your product and find out if you qualify for a free extended warranty please go to www.Vonhaus.com/warranty.
Please retain a proof of purchase receipt or statement as proof of the purchase date.
The warranty only applies if the product is used solely in the manner indicated in the Warnings page of this manual, and all other instructions have been followed accurately. Any abuse of the product or the manner in which it is used will invalidate the warranty.
Returned goods will not be accepted unless repackaged in its original packaging and accompanied by a relevant and completed returns form. This does not affect your statutory rights.
No rights are given under this warranty to a person acquiring the appliance second-hand or for commercial or communal use.
COPYRIGHT
All material in this instruction manual are copyrighted by DOMU Brands.
Any unauthorised use may violate worldwide copyright, trademark, and other laws.
DECLARATION OF CONFORMITY
We:
DOMU Brands Ltd
5th Floor The Tower
Deva City Office Park
Manchester
M3 7BF
Declare under our sole responsibility that the product:
SKU: 3500113
Description: VonHaus 450W Oscillating Bobbin Spindle Sander.
To which this declaration relates is in conformity with the following directives:
2006/42/EC, 2014/30/EU, 2011/65/EU
Thank you for purchasing the 450W Oscillating Bobbin Spindle Sander.
VonHaus is a registered trademark of DOMU Brands Ltd
Made in China for DOMU Brands Ltd M24 2RW.























