INDeSIT BWE 91496X K UK N Washing Machine

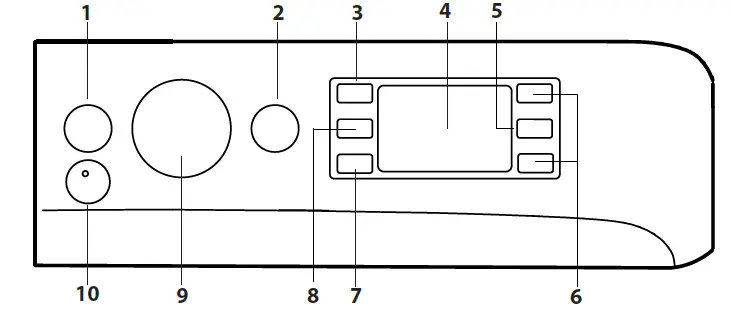
CONTROL PANEL

- ON/OFF button
- START/PAUSE button and indicator light
- TEMPERATURE button
- DISPLAY
- CHILD LOCK button
- OPTION button
- DELAYED START button
- SPIN button
- WASH CYCLE SELECTOR KNOB
- PUSH & GO button
WASH CYCLE TABLE

The cycle duration indicated on the display or instruction manual is an estimate based on standard conditions. The actual duration may vary in relation to several factors, such as the temperature and pressure of the incoming water, ambient temperature, amount of detergent, load quantity and type, load balancing and any additional options selected. The values given for programmed other than the Eco 40-60 programmed are indicative only.
- Eco 40-60 – Test wash cycle in compliance with EU Eco-design regulation 2019/2014. The most efficient programmed in terms of energy and water consumption for washing normally soiled cotton laundry.
Note: spin speed values shown on the display can slightly differs from the values stated in the table.
For all testing institutes:
- Long cotton cycle: set programmed Cotton at temperature 40°C.
- Long synthetics cycle: set cycle Synthetics at a temperature of 40°C.
* By selecting the Spin & Drain cycle and excluding the spin cycle, the washing machine will drain only.
** The duration of the wash cycles can be checked on the display.
**** After programme end and spinning with maximum selectable spin speed, in default programme setting.
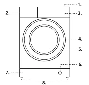
PRODUCT DESCRIPTION
- Top
- Detergent dispenser drawer
- Control panel
- Handle
- Porthole door
- Drain pump (behind the plinth)
- Plinth (removable)
- Adjustable feet (2)

DETERGENT DISPENSER DRAWER
Compartment *: B Do not insert detergent in this compartment. Compartment 1: Washing detergent (powder or liquid)
If liquid detergent is used, the removable plastic partition A (supplied) should be used for proper dosage.
If powder detergent is used, place the partition into slot B.
Compartment 2: Additives (fabric softeners, etc.) Compartment 3: Additives (fabric softener, etc.)
The fabric softener must never exceed the “max” level indicated on the central pin.
- Use powder detergent for white cotton garments, for pre-washing, and for washing at temperatures over 60°C.
- Use powder detergent for white cotton garments, for pre-washing, and for washing at temperatures over 60°C.
- Follow the instructions given on the detergent packaging.
WASH CYCLES
Follow the instructions on the symbols of the garment’s wash care label. The value indicated in the symbol is the maximum recommended temperature for washing the garment.
Cotton
A 30°C cycle for cotton garments. It allows for reducing electricity consumption for heating the water while guaranteeing good washing performance. Suitable for lightly soiled garments.
Synthetics
A 30°C cycle for synthetic garments. It allows for reducing electricity consumption for heating the water while guaranteeing good washing results. Suitable for lightly soiled garments.
Colours
A 30°C cycle that helps to preserve colours, suitable for cotton or synthetic coloured garments. It allows for reducing electricity consumption for heating the water while guaranteeing good washing results. Suitable for lightly soiled garments.
Delicates
Suitable for washing very delicate garments. It is advisable to turn the garments inside out before washing them. For best results, use liquid detergent on delicate garments.
Rapid 30min
For washing lightly soiled garments in a short time. Not suitable for wool, silk and garments to be washed by hand.
Cotton
Suitable for washing towels, underwear, table cloths, etc. made of resistant linen and cotton that are moderately to heavily soiled. Synthetics
Specific for synthetic items. If the dirt is difficult to remove, the temperature can be increased up to 60° and powder detergent can be used too.
Mixed
A 40°C cycle for washing cotton and synthetic garments together. Suitable for lightly soiled underwear.
Eco 40-60
For washing normally soiled cotton garments declared to be washable at 40 °C or 60 °C, together in the same cycle. This is the standard cotton programmed and the most efficient in terms of water and energy consumption.
White
For heavily soiled whites and resistant colors.
Rapid
Allows for varying the garment treatment duration from 20’ to 60’.
- 20’: this cycle refreshes your garments in just 20 minutes.
- 45’: a short cycle designed for washing mixed cotton-synthetic garments.
- 60’: this cycle is designed to wash moderately soiled resistant cotton garments at 60°C in an hour, with good washing performance. For synthetic or mixed garments, the temperature should be lowered to 40°C.
Duvet
For washing clothing padded with goose down, such as double or single duvets (weighing under 3.5 kg), cushions or down jackets. Duvets should be loaded into the drum with their edges folded inwards and no more than ¾ of the total drum volume should be used up. For best results, it is advisable to use liquid detergent to be poured into the detergent drawer. Wool – Woolmark Apparel Care – Blue:
The “Wool” wash cycle is approved by the Woolmer Company for washing wool garments classified as “hand-washable”, provided that the wash complies with the instructions appearing on the garment’s label and with those provided by the manufacturer of this washing machine. (M1127)
20°C
For washing lightly soiled cotton garments, at a temperature of 20 °C. Rinse + Spin
Designed for rinsing and spinning.
Spin + Drain
Designed to spin and drain the water.
DISPLAY
The display is useful when programming the washing machine and provides plenty of information.
The duration of the available wash cycles and the remaining time of a running cycle appear in section A; if the Delayed Start option has been set, the countdown to the start of the selected cycle will appear. Pressing the corresponding button allows for viewing the maximum spin speed and temperature values attained by the machine during the set wash cycle, or the values selected most recently, if these are compatible with the set wash cycle.
The hourglass flashes while the machine processes the data on the basis of the selected cycle. After a maximum of 10 minutes, the icon remains steady lit and the final time remaining is displayed. The “hourglass” icon will then switch off approximately 1 minute after the final time remaining has been displayed.
The “washing phases” relative to the selected cycle and the “washing phase” of the running cycle appear in section B:
- Wash
- Rinse
- Spin
- Drain
When lit, the symbol indicates that the set “Delayed Start” value has appeared on the display.
There are three levels in section C relative to the washing options
Locked door indicator
When lit, the symbol indicates that the door is locked. To prevent any damage, wait until the symbol turns off before opening the door.
To open the door while a cycle is in progress, press the START/PAUSE button ; if the symbol is off, the door can be opened.
DOOR LOCKED INDICATOR
When lit, the symbol indicates that the door is locked. To prevent any damage, wait until the symbol turns off before opening the door. To open the door while a cycle is in progress, press the START/PAUSE button ; if the symbol is off, the door can be opened.
FIRST-TIME USE
DAILY USE
Prepare the laundry by following the suggestions appearing under the “TIPS AND SUGGESTIONS” section.
- Press the ON/OFF button ; the indicator light relative to START/PAUSE will flash slowly green.
- Open the door. Load the laundry while making sure not to exceed the maximum load quantity indicated in the wash cycle table.
- Pull out the detergent dispenser drawer and pour the detergent into the relevant compartments, as described in the “DETERGENT DISPENSER DRAWER” section.
- Close the door.
STARTING CYCLE
Press the “PUSH & GO” button.
The machine will lock the door ( symbol on) and the drum will start to rotate; the door will be unlocked ( symbol OFF) and then locked again ( symbol on) as preparation phase of each washing cycle. The “Clicking” noise is part of the door locking mechanism. Water will enter the drum and start the washing phase once the door is locked.
Traditional programming
- Press the ON/OFF button ; the START/PAUSE indicator light will flash slowly green.
- Open the door. Load the laundry while making sure not to exceed the maximum load quantity indicated in the Wash Cycle Table.
- Pull out the detergent dispenser drawer and pour the detergent into the relevant compartments as described in “DETERGENT DISPENSER DRAWER” section.
- Close the door.
- Use the WASH CYCLE selector knob to select the desired wash cycle: it will be associated with a specific temperature and spin speed that can be
modified. The duration of the cycle will appear on the display. - Modify the temperature and/or spin speed: the machine automatically displays the maximum temperature and spin speed values set for the selected cycle, or the most recently-used settings if they are compatible with the selected cycle. Pressing the button gradually reduces the
temperature down to the cold wash “OFF” setting. Pressing the button gradually reduces the spin speed until it is completely excluded (“OFF”
setting). Pressing these buttons again restores the maximum values. - Select the desired options.
STARTING CYCLE
Press the “Start/Pause” button.
The machine will lock the door ( symbol on) and the drum will start to rotate; the door will be unlocked ( symbol OFF) and then locked again ( symbol on) as preparation phase of each washing cycle. The “Clicking” noise is part of the door locking mechanism. Water will enter the drum and start the washing phase once the door is locked.
PAUSING A CYCLE
To pause the wash cycle, press the START/PAUSE button again; the indicator light will flash amber. If the symbol is not lit, the door may be opened. To start the wash cycle from the point at which it was interrupted, press the START/PAUSE button again.
OPENING THE DOOR, IF NECESSARY
Once a cycle starts, the symbol turns on to signal that the door cannot be opened. While a wash cycle is running, the door remains locked. To open the door while a cycle is under way, for example, to add or remove garments, press the START/PAUSE button to pause the cycle; the indicator light will flash amber. If the symbol is not lit, the door may be opened. Press the START/PAUSE button again to continue the cycle.
CHANGING A RUNNING WASH CYCLE
To change a wash cycle while it is in progress, pause the washing machine using the START/PAUSE button (the relative indicator light will flash amber), then select the desired cycle and press the START/PAUSE button again.
- To cancel a cycle that has already begun, press and hold the ON/OFF button. The cycle will be stopped and the machine will switch off.
END OF THE CYCLE
This will be indicated by the word “END” on the display; when the symbol switches off, the door may be opened. Open the door and switch off the machine. If you do not press ON/OFF button, the washing machine will switch off automatically after about a 10 minutes. Close the water tap, open the door and unload the washing machine. Leave the door ajar to allow the drum to dry.
OPTIONS
- If the selected option is not compatible with the set wash cycle, the indicator light will flash and the option will not be activated.
- If the selected option is not compatible with another previously selected option, the indicator light will flash accompanied by a buzzer (3 beeps), and only the latter option will be activated; the indicator light corresponding to the activated option will turn on.
Stain removal
This option allows for selecting the type of dirt so as to optimally adjust the cycle for removing the stains. The following types of dirt can be selected:
- Food: for stains caused by foodstuffs and beverages, for example.
- Work: for grease and ink stains, for example.
- Outdoor: for mud and grass stains, for example.
- The wash cycle duration varies according to the type of selected dirt.
Rapid
When this button is pressed the first time, the 45’ icon lights up, when pressed the second time the 60’ icon lights up and the third time the 20’
icon lights up.
Delayed Start
To set a delayed start for the selected cycle, press the corresponding button repeatedly until the desired delay period has been reached. When this option has been activated, the symbol lights up on the display. To remove the delayed start setting, press the button until the word “OFF” appears on the display.
Temperature
Each wash cycle has a pre-defined temperature. To modify the temperature, press the button. The value will appear on the display.
Spin
Each wash cycle has a pre-defined spin speed. To modify the spin speed, press the button. The value will appear on the display.
PUSH & GO
To start the PUSH & GO cycle press and hold the relative button for 2 seconds. The lit indicator light indicates that the cycle has started.
This wash cycle is ideal for cotton or synthetic fabrics, as it washes at a temperature of 30°C and a maximum spin speed of 1,000 rpm. Max load 3.5 kg (cycle duration 45’).
How does it work?
- Load the laundry (cotton and/or synthetic garments) and close the door.
- Pour the detergent and additives.
- Start the cycle by pressing and holding the PUSH & GO button for 2 seconds. The relevant indicator light will turn green and the door will lock (the symbol lights up).
N.B.: starting the wash cycle through the PUSH & GO button activates an automatic non-customizable cycle recommended for cotton and synthetic fabrics. This cycle does not allow for setting any additional options.
To open the door while an automatic cycle is under way, press the START/ PAUSE button; if the locked door symbol is off, the door may be opened. Press the START/PAUSE button again to restart the cycle from the point at which it was interrupted. - At the end of the wash cycle the word END will appear on the display.
CHILD LOCK
To activate the control panel lock, press and hold the button for approximately 2 seconds. When the symbol is lit, the control panel is locked (except for the ON/OFF button). This will prevent accidental modifications to wash cycles, especially when children are at home. To deactivate the control panel lock, press and hold the button for approximately 2 seconds.
TIPS AND SUGGESTIONS
Divide the laundry according to:
Type of fabric (cotton, mixed fibers, synthetics, wool, garments to be hand-washed). Color (separate cultured garments from whites, wash new cultured garments separately). Delicates (small garments – such as nylon stockings – and items with hooks – such as bras: insert them in a fabric bag).
Empty the pockets:
Objects such as coins or lighters can damage the washing machine and the drum. Check all buttons.
Follow the dosage recommendation / additives
It optimizes the cleaning result, it avoids irritating residues of surplus detergent in your laundry and it saves money by avoiding waste of surplus detergent
Use low temperature and longer duration
The most efficient programmed in terms of energy consumption are generally those that perform at lower temperatures and longer duration.
Observe the load sizes
Load your washing machine up to the capacity indicated in the “PROGRAMME CHART” table to save water and energy.
Noise and remaining moisture content
They are influenced by the spinning speed: the higher the spinning speed in the spinning phase, the higher the noise and the lower the remaining moisture content.
CARE AND MAINTENANCE
For any cleaning and maintenance, switch off and unplug the washing machine. Do not use flammable fluids to clean the washing machine.
Clean and maintain your washing machine periodically (at least 4 times per year).
Cutting off the water and electricity supplies
Close the water tap after every wash. This will limit wear on the hydraulic system inside the washing machine and help to prevent leaks.
Unplug the washing machine when cleaning it and during all maintenance work.
Cleaning the washing machine
The outer parts and rubber components of the appliance can be cleaned using a soft cloth soaked in lukewarm soapy water. Do not use solvents or abrasives.
The washing machine has a “Auto-Clean” cycle for its internal parts; it must be run without any load in the drum.
To optimize this cycle, it is possible to use either detergent (10% of the quantity specified for lightly soiled garments) or special additives to clean the washing machine. We recommend running a cleaning cycle every 40 wash cycles.
To start the programmed, close the door, turn the machine ON and press button for 5 seconds.
The cycle will start automatically and will run for about 70 minutes. To stop the cycle, press the START/PAUSE button.
Cleaning the detergent dispenser drawer
Remove the dispenser drawer by lifting and pulling it outwards. Wash it under running water; this procedure should be effected regularly. Caring for the door and drum
Always leave the porthole door ajar in order to prevent unpleasant odors from forming.
Cleaning the pump
The washing machine is fitted with a self-cleaning pump that does not require any maintenance. Small items (such as coins or buttons) may sometimes fall into the protective pre-chamber situated at the base of the pump.
- Make sure that the wash cycle has ended and unplug the appliance.
To access the pre-chamber:
- remove the covering panel on the front side of the machine by inserting a screwdriver in the center and sides of the panel and using it as a lever;
- loosen the drainage pump cover by turning it anti-clockwise: it is normal for some water to leak out;
- clean the inside thoroughly;
- screw the cover back on;
- put the panel back in place, making sure the hooks slot in place before pushing the panel onto the appliance.
Checking the water inlet hose
Check the water inlet hose at least once a year. If it is cracked or broken, it must be replaced: during wash cycles, the high pressure of the water could suddenly split the hose open.
Never use hoses that have already been used.
LOAD BALANCING SYSTEM
Before every spin cycle, to avoid excessive vibrations before every spin and to distribute the load in a uniform manner, the drum rotates continuously at a speed which is slightly greater than the washing rotation speed. If, after several attempts, the load is not balanced correctly, the machine spins at a reduced spin speed. If the load is excessively unbalanced, the washing machine performs the distribution process instead of spinning. To encourage improved load distribution and balance, we recommend small and large garments are mixed in the load.
ACCESSORIES
Contact our Technical Assistance Service to check whether the following accessories are available for this washing machine model.
Stacking kit
With this accessory you can secure the tumble dryer to the upper part of your washing machine to save space and facilitate loading and unloading of the tumble dryer.
TRANSPORT AND HANDLING
Do not lift the washing machine by gripping it from the upper section. Unplug the appliance and close the water tap. Check that the door and detergent dispenser drawer are tightly closed. Detach the filling hose from the water tap then detach the drain hose. Empty all the water remaining in the hoses and secure the latter so that they do not get damaged during transport. Apply the transport bolts back on. Repeat, in reverse order, the transport bolt removal procedure described in the “Health & Safety and Installation Guides”.
DEMO MODE: to deactivate this function, switch the washing machine OFF.
Than press and hold “Start/Pause” button, within 5 seconds press also “ON/OFF” button and hold both buttons for 2 seconds.
TROUBLESHOOTING
Your washing machine could occasionally fail to work. Before contacting the Technical Assistance Service, make sure that the problem cannot be easily solved using the following list.
Anomalies Possible causes / Solution
| The machine does not switch on. | The appliance is not plugged into the socket fully, or not enough to make contact. There is no power to the socket, or the fuse has blown in the mains plug. |
| The wash cycle does not start. | The door is not closed properly. |
| The ON/OFF button has not been pressed. | |
| The START/PAUSE button has not been pressed. | |
| The water tap has not been turned on to allow water to flow into the machine. | |
| A delayed start has been set. | |
| The machine does not fill with water (“H2O” appears on the display). | The water inlet hose is kinked. |
| The water inlet hose is not connected to the water supply. | |
| The water pressure is too low. | |
| The water tap has not been turned on to allow water to flow into the machine. | |
| There is no water supply to the house. | |
| The inlet valve filter is blocked. | |
| The START/PAUSE button has not been pressed. | |
| The machine continuously fills with water and continually drains away or Water left in the drum or Stuck on wash. | The top of the drain hose is too low – It must be fitted at a height between 65 and 100 cm from the floor. |
| The drain hose is connected incorrectly to the sink trap allowing water to run into the machine, the drain hose must be positioned higher than the bottom of the sink to prevent water flowing down the drain hose. | |
| The end of the drain hose has been pushed too far down the standpipe, the ‘U’ bracket should be fitted 100 mm from the end of the drain hose. | |
| The machine does not drain or spin – (error lights flashing). | The Pump filter is blocked. |
| The drain hose is kinked. | |
| New Installation – The blanking cap or spigot has not been removed if connected under a sink. | |
| The drain hose or sink trap is blocked. | |
| The machine does spin. | The ‘Spin’ Speed is set to “OFF”. |
| The machine does not heat or poor wash results. | The ‘Temperature’ is set to “OFF”. |
| The programmed takes too long. | Programmed times will vary due to water pressure, the incoming water temperature and if the wash load goes out of balance. This will increase the programmed times accordingly. |
| The Display sticks at one ‘time to end’ for more than 1 Minute or the Display changes the estimated ‘Time to End’ during the programmed. | The display time is for guidance only – it is not a precise time to finish and may vary. |
| The washing machine vibrates a lot during the spin cycle. | The feet have not been adjusted, enabling the machine to rock. |
| New Installation – Either the Transit Bolts including the plastic spacers, or the Polystyrene Packaging have not been removed when installing the machine. | |
| The machine is trapped between cabinets and/or walls. | |
| The load is in a slight out of balance condition and machine is spinning, but at a lower speed. | |
| The machine is noisy. | There will always be some motor, pump and drum noise during spin. |
| The machine leaks from the dispenser. | The dispenser drawer is blocked with detergent and requires cleaning. |
| The water pressure is too high and requires turning down – turn down the tap on the water supply pipe slightly and try again. | |
| The machine is tilting forwards – It must be level when in its final position. | |
| The “Options” and START/PAUSE indicator lights flash rapidly and the display visualises an error code (e.g.: F-01, F-…). | Switch off the machine and unplug it, wait for approximately 1 minute and then switch back on again. If the problem persists contact Technical Assistance Centre. |
| The machine smells. | The machine requires a service wash. Run a auto clean wash cycle with detergent and no laundry. |
| The water level is too low when the machine is washing. | The water level is correct if it can be seen at the bottom of the door. |
| There is too much foam. | The detergent is not suitable for machine washing (it should display the text ‘for washing machines’ or ‘hand and machine wash’ or the like). |
| General. | Your washing machine contains sensors that monitor progress during the wash cycle (eg: Water Levels, Temperatures, Out of Balance loads, Wash time/progress). Normally, if your machine successfully completes the cycle, there is unlikely to be anything wrong! |
| The PUSH & GO option does not activate. | After switching on the machine, a control other than PUSH & GO was activated. Switch the machine off and press the PUSH & GO button. |
Regulatory documentation, standard documentation, ordering spare parts and other product information can be found:
- By visiting our website docs.indesit.eu and parts-selfservice.indesit.com
- Using QR Code
- Alternatively, contact our After-sales Service (See phone number in the warranty booklet). When contacting our After-sales Service, please state the codes provided on your product’s identification plate.
- For User’s Repair & Maintenance Information visit www.indesit.com
The model information can be retrieved using the QR-Code reported in the energy label. The label also includes the model identifier that can be used to consult the portal of the registry at https://eprel.ec.europa.euhttps://eprel.ec.europa.eu


















