INDESIT MTWC 91284 W UK Washing Machine
CONTROL PANEL
- ON/OFF button
- START/PAUSE button and indicator light
- WASH CYCLE PHASE indicator lights
- DOOR LOCKED indicator light
- DELAY START and indicator lights
- OPTION buttons and indicator lights
- CHILD LOCK button and indicator light
- SPIN knob and indicator light
- TEMPERATURE knob and indicator light
- WASH CYCLE SELECTOR KNOB
WASH CYCLE TABLE

The cycle duration indicated on the display or instruction manual is an estimate based on standard conditions. The actual duration may vary in relation to several factors, such as the temperature and pressure of the incoming water, ambient temperature, amount of detergent, load quantity and type, load balancing and any additional options selected. The values given for programmes other than the Eco 40-60 programme are indicative only.
- Eco 40-60 – Test wash cycle in compliance with EU Ecodesign regulation 2019/2014. The most efficient programme in terms of energy and water consumption for washing normally soiled cotton laundry.
For all testing institutes: - Long cotton cycle: set cycle 9 at a temperature of 40°C.
- Long synthetics cycle: set cycle 10 at a temperature of 40°C.
* By selecting the 16 cycle and excluding the spin cycle, the washing machine will drain only.
** After programme end and spinning with maximum selectable spin speed, in default programme setting.
Note: for the Eco 40-60 program in the WASH CYCLE TABLE the value of the maximum effective spin is shown.
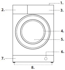
PRODUCT DESCRIPTION 
- Top
- Detergent dispenser drawer
- Control panel
- Handle
- Porthole door
- Drain pump (behind the plinth)
- Plinth (removable)
- Adjustable feet (2)
DETERGENT DISPENSER DRAWER
Compartment 1: Pre-wash detergent (powder)
Compartment 2: Washing detergent (powder or liquid)
If liquid detergent is used, the removable plastic partition A (supplied) should be used for proper dosage. If powder detergent is used, insert the partition into slot B.
Compartment 3: Additives (fabric softener, etc.)
The fabric softener must never exceed the “max” level indicated on the central pin.
NOTE:
- Use powder detergent for white cotton garments, for pre-washing, and for washing at temperatures over 60°C.
- Follow the instructions given on the detergent packaging.
- To remove the drawer, press lever C and pull the drawer outwards.
WASH CYCLES
Follow the instructions on the symbols of the garment’s wash care label. The value indicated in the symbol is the maximum recommended temperature for washing the garment.
Mixed
To wash mixed and coloured items together.
Cotton 60°
Cycle designed to wash cotton garments – mainly white items. It can be used with powder detergent too.
Cotton 40°
Short cycle designed to wash delicate cotton items.
Cotton 30°
Short cycle designed to wash a mixed load of cotton and synthetic fabrics white and coloured items together.
Synthetics 30°
Suitable for washing moderately soiled garments made of synthetic fibres (e.g. polyester, polyacrylic, viscose, etc.) or mixed synthetic-cotton fibres.
Silk & Delicates
To wash all silk and delicate garments. We recommend the use of special detergent which has been designed to wash delicate clothes.
Wool
All wool garments can be washed using programme 7, even those carrying the “hand-wash only” label. For best results, use special detergents and do not exceed 2 kg of laundry.
Express
This cycle refreshes your garments in just 15 minutes.
Cotton 40°-60°
Suitable for washing towels, underwear, table cloths, etc. made of resistant linen and cotton that are moderate to heavily soiled.
Synthetics 40°-60°
Specific for synthetic items. If the dirt is difficult to remove, the temperature can be increased up to 60° and powder detergent can be used too.
Whites
For heavily soiled whites and resistant colours.
Sport
Is designed for washing lightly soiled sports clothing (tracksuits, shorts, etc.); for best results, we recommend not exceeding the maximum load indicated in the “Wash Cycle Table”. We recommend using liquid detergent, and adding the amount suitable for a half-load.
20°C
For washing lightly soiled cotton garments, at a temperature of 20 °C.
Eco 40-60
For washing normally soiled cotton garments declared to be washable at 40 °C or 60 °C, together in the same cycle. This is the standard cotton programme and the most efficient in terms of water and energy consumption.
Rinse + Spin
Designed for rinsing and spinning.
Spin + Drain
Designed to spin and drain the water.
Wash cycle phase indicator lights
Once the desired wash cycle has been selected and has begun, the indicator lights switch on one by one to indicate which phase of the cycle is currently in progress.
- Wash
- Rinse
- Spin
- Drain
- End of Wash Cycle
INDICATOR LIGHTS
The indicator lights provide important information. This is what they can tell you:
Delayed start
If the DELAY TIMER function has been activated, after the wash cycle has been started the indicator light corresponding to the selected delay period will begin to flash:
As time passes, the remaining delay will be displayed and the corresponding indicator light will flash:
The set programme will start once the selected time delay has expired.
DOOR LOCKED INDICATOR
When lit, the symbol indicates that the door is locked. To prevent any damage, wait until the symbol turns off before opening the door. To open the door while a cycle is in progress, press the START/PAUSE button; if the indicator light is off, the door can be opened.
FIRST-TIME USE
Once the appliance has been installed, and before it is used for the first time, run a wash cycle with detergent and no laundry, by setting the “Auto-Clean” cycle.
DAILY USE
Prepare the laundry by following the suggestions appearing under the
“TIPS AND SUGGESTIONS” section.
– Turn the washing machine on by pressing the ON/OFF button. All the
indicator lights will light up for a few seconds, then only the lights
corresponding to the settings for the selected wash cycle will remain lit;
the START/PAUSE indicator light will also flash.
- Open the door. Load the laundry while making sure not to exceed the maximum load quantity indicated in the Wash Cycle Table.
- Pull out the detergent dispenser drawer and pour the detergent into the relevant compartments as described in “DETERGENT DISPENSER DRAWER” section.
- Close the door.
- Set the WASH CYCLE knob to the desired cycle.
- Set the washing temperature.
- – Set the spin speed.
- Select the desired options.
- Press the START/PAUSE button to start the wash cycle; the relative indicator light will light up steady green and the door will lock ( indicator light on).
PAUSING A CYCLE
To pause the wash cycle, press the START/PAUSE button again; the indicator light will flash amber. If the indicator light is not lit, the door may be opened. To start the wash cycle from the point at which it was interrupted, press the START/PAUSE button again.
OPENING THE DOOR, IF NECESSARY
Once a cycle starts, the indicator light turns on to signal that the door cannot be opened. While a wash cycle is running, the door remains locked. To open the door while a cycle is under way, for example, to add or remove garments, press the START/PAUSE button to pause the cycle; the indicator light will flash amber. If the indicator light is not lit, the door may be opened. Press the START/PAUSE button again to continue the cycle.
CHANGING A RUNNING WASH CYCLE
To change a wash cycle while it is in progress, pause the washing machine using the START/PAUSE button (the relative indicator light will flash amber), then select the desired cycle and press the START/PAUSE button again.
NOTE: To cancel a cycle that has already begun, press and hold the ON/OFF button. The cycle will be stopped and the machine will switch off.
END OF THE CYCLE
Once the cycle terminates the indicator light will light up; when the indicator light switches off, the door may be opened. Open the doorand switch off the machine. If you do not press ON/OFF button, the washing machine will switch off automatically after about a 10 minutes. Close the water tap, open the door and unload the washing machine. Leave the door ajar to allow the drum to dry.
Delay start
To set a delayed start for the selected cycle, press the corresponding button repeatedly until the desired delay period has been reached (3h-6h-9h). When the button is pressed for the fourth time, the option will deactivate. Once the START/PAUSE button has been pressed, the delay time can only be modified by decreasing it until the set cycle is launched.
Extra rinse
By selecting this option, the efficiency of the rinse is increased and optimal detergent removal is guaranteed. It is particularly useful for sensitive skin.
Easy iron
By selecting this function, the wash and spin cycles will be modified in order to limit the formation of creases.
Temperature
Turning the TEMPERATURE knob to set the wash temperature (see “Wash Cycle Table”). The temperature may be lowered, or even set to a cold wash .
N.B.: If the set value is compatible with the selected cycle, the knob indicator will be lit (fixed light). If it isn’t, it will flash and 3 beeps will be heard. The washing machine will automatically prevent you from selecting a temperature which is higher than the maximum value set for each wash cycle.
Spin
Turning the SPIN SPEED knob to set the spin speed for the selected wash cycle. The spin speed may be lowered, or the spin cycle can be excluded altogether by selecting the symbol .
N.B.: If the set value is compatible with the selected cycle, the knob indicator will be lit (fixed light). If it isn’t, it will flash and 3 beeps will be heard. The washing machine will automatically prevent you from selecting a spin speed which is higher than the maximum speed set for each wash cycle.
CHILD LOCK
to activate the control panel lock, press and hold the button for approximately 2 seconds. The lit symbol signals that the control panel is locked. This prevents wash cycles from being modified accidentally (except for the ON/OFF button), especially if there are children in the home. To deactivate the control panel lock, press and hold the button for approximately 2 seconds.
TIPS AND SUGGESTIONS
Divide the laundry according to:
Type of fabric (cotton, mixed fibres, synthetics, wool, garments to be hand-washed). Colour (separate coloured garments from whites, wash new coloured garments separately). Delicates (small garments – such as nylon stockings – and items with hooks – such as bras: insert them in a fabric bag).
Empty the pockets:
Objects such as coins or lighters can damage the washing machine and the drum. Check all buttons.
Follow the dosage recommendation/additives
It optimizes the cleaning result, it avoids irritating residues of surplus detergent in your laundry and it saves money by avoiding waste of surplus detergent.
Use low temperature and longer duration
The most efficient programmes in terms of energy consumption are generally those that perform at lower temperatures and longer duration.
Observe the load sizes
Load your washing machine up to the capacity indicated in the “Wash Cycle Table” table to save water and energy.
Noise and remaining moisture content
They are influenced by the spinning speed: the higher the spinning speed in the spinning phase, the higher the noise and the lower the remaining moisture content.
CARE AND MAINTENANCE
Before performing cleaning and maintenance, switch the washing machine off and disconnect it from the mains power. Do not use flammable liquids to clean the washing machine. Clean and maintain your washing machine periodically (at least 4 times per year).
Disconnect the water and power supplies
Close the water tap after every wash. This will limit wear on the hydraulic system inside the washing machine and help to prevent leaks. Unplug the washing machine when cleaning it and during all maintenance work.
Clean the washing machine
The outer parts and rubber components of the appliance can be cleaned using a soft cloth soaked in lukewarm soapy water. Do not use solvents or abrasives. The washing machine has a “Auto-clean” cycle for its internal parts; it must be run without any load in the drum. To optimise this cycle, it is possible to use either detergent (10% of the quantity specified for lightly soiled garments) or special additives to clean the washing machine. We recommend running a cleaning cycle every 40 wash cycles. To start the cycle press buttons and simultaneously for 5 seconds. The cycle will start automatically and will run for about 70 minutes. To
stop the cycle, press the START/PAUSE button.
Clean the detergent dispenser drawer
Wash it under running water; this operation should be repeated frequently.
Care for the door and drum
Always leave the porthole door ajar in order to prevent unpleasant odours from forming.
Clean the pump
The washing machine is fitted with a auto-cleaning pump that does not require any maintenance. Small items (such as coins or buttons) may sometimes fall into the protective pre-chamber situated at the base of the pump. Make sure the wash cycle has ended and unplug the appliance.
To access the pre-chamber:
- remove the cover panel on the front of the machine by first pressing it in the centre then pushing downwards on both sides to extract it;
- loosen the drainage pump cover by turning it anti-clockwise: it is normal for some water to leak out;
- clean the inside thoroughly;
- screw the cover back on;
- put the panel back in place, making sure the hooks slot in place before pushing the panel onto the appliance.
Check the water inlet hose
Check the water inlet hose at least once a year. If it is cracked or broken, it must be replaced: during wash cycles, the high pressure of the water could suddenly split the hose open.
NOTE: Never use hoses that have already been used.
LOAD BALANCING SYSTEM
Before every spin cycle, to avoid excessive vibrations before every spin and to distribute the load in a uniform manner, the drum rotates continuously at a speed which is slightly greater than the washing rotation speed. If, after several attempts, the load is not balanced correctly, the machine spins at a reduced spin speed. If the load is excessively unbalanced, the washing machine performs the distribution process instead of spinning. To encourage improved load distribution and balance, we recommend small and large garments are mixed in the load.
ACCESSORIES
Contact our Technical Assistance Service to check whether the following accessories are available for this washing machine model.
Stacking kit
With this accessory you can secure the tumble dryer to the upper part of your washing machine to save space and facilitate loading and unloading of the tumble dryer.
TRANSPORT AND HANDLING
Do not lift the washing machine by gripping it from the upper section. Unplug the appliance and close the water tap. Check that the door and detergent dispenser drawer are tightly closed. Detach the filling hose from the water tap then detach the drain hose. Empty all the water remaining in the hoses and secure the latter so that they do not get damaged during transport. Apply the transport bolts back on. Repeat, in reverse order, the transport bolt removal procedure described in the “Health & Safety and Installation Guides”.
TROUBLESHOOTING
The washing machine may occasionally fail to work. Before contacting the Technical Assistance Service, make sure that the problem cannot be easily solved using the following list.
| Anomalies | Possible causes / Solution |
| The washing machine does not start. | The appliance is not plugged into the socket, or not sufficiently to make contact. |
| There is no power in the house. | |
|
The wash cycle does not start. | The washing machine door is not closed properly. |
| The ON/OFF button has not been pressed. | |
| The START/PAUSE button has not been pressed. | |
| The water tap has not been opened. | |
| A delay has been set for the start time. | |
|
The machine does not fill with water or the indicator light for the first wash cycle stage flashes rapidly. | The water inlet hose is not connected to the tap. |
| The hose is bent. | |
| The water tap has not been opened. | |
| There is no water supply in the house. | |
| The pressure is too low. | |
| The START/PAUSE button has not been pressed. | |
|
The washing machine continuously loads and unloads water. | The drain hose is not fitted between 65 and 100 cm from the floor. |
| The free end of the hose is immersed in water. | |
| The wall drainage system does not have a breather pipe.
If the problem persists even after these checks, turn off the water tap, switch the appliance off and contact the Technical Assistance Service. If the home is on one of the upper floors of a building, there may be problems relating to back-siphonage, causing the washing machine to fill with water and drain continuously. Special anti-siphon valves are available in shops and help to prevent this inconvenience. | |
| The washing machine does not drain or spin. | The cycle does not include drainage: with certain cycles it must be started manually. |
| The drain hose is bent. | |
| The drainage duct is clogged. | |
| The washing machine vibrates a lot during the spin cycle. | The drum was not unlocked correctly during installation. |
| The washing machine is not level. | |
| The washing machine is tucked between furniture cabinets and the wall. | |
| The washing machine leaks. | The water inlet hose is not screwed on properly. |
| The detergent dispenser drawer is obstructed. | |
| The drain hose is not properly attached. | |
| The “Options” lights and the START/PAUSE indicator light flash while one of the wash cycle progress and DOOR LOCKED lights are lit in a fixed manner. | Switch off the machine and unplug it, wait for approximately 1 minute and then switch it back on again. If the problem persists, contact the Technical Assistance Service . |
| There is too much foam. | The detergent is not suitable for machine washing (it should be marked with “for washing machine use” or “hand wash and machine wash” or similar). |
| Too much detergent was used. |




















