TORO 51822 60-Volt Max Lithium-Ion Cordless Brushless Leaf Blower
WARNING
CALIFORNIA
Proposition 65 Warning The power cord on this product contains lead, a chemical known to the Stateof California to cause birth defects or other reproductive harm. Wash hands after handling. Use of this product may cause exposure to chemicals known to the State of California to cause cancer, birth defects, or other reproductive harm.
Introduction
This blower is intended to be used by residential homeowners to move leaf-like debris as needed outdoors. It is designed to use Toro Flex-Force lithium-ion battery pack Models 88640 (provided with Model 51822), 88620, 88625, 88660, or 88675. These battery packs are designed to be charged only by battery charger Models 88602 (provided with Model 51822), 88605, or 88610. Using this product for purposes other than its intended use could prove dangerous to you and bystanders.Read this information carefully to learn how to operate and maintain your product properly and to avoid injury and product damage. You are responsible for operating the product properly and safely.Visit www.Toro.com for more information, including safety tips, training materials, accessory information, help finding a dealer, or to register your product.
Safety
When using electric gardening appliances, always follow basic safety precautions to reduce the risk of fire, electric shock, and personal injury, including the following:
IMPORTANT SAFETY INSTRUCTIONS
Training
- The operator of the appliance is responsible for any accidents or hazards occurring to others or their property.
- . Do not allow children to use or play with the appliance, battery pack, or battery charger; local regulations may restrict the age of the operator.
- Do not allow children or untrained people to operate or service this device. Allow only people who are responsible, trained, familiar with the instructions, and physically capable to operate or service the device.
- Before using the appliance, battery pack, and battery charger, read all the instructions and cautionary markings on these products.
- Become familiar with the controls and proper use of the appliance, battery pack, and battery charger.
Preparation
- Keep bystanders and children away from the operating area.
- Use only the battery pack specified by Toro. Using other accessories and attachments may increase the risk of injury and fire.
- Plugging the battery charger into an outlet that is not 120 V can cause a fire or electric shock.
- Do not plug the battery charger into an outlet other than 120 V. For a different style of connection, use an attachment plug adapter of the proper configuration for the power outlet if needed.
- Do not use a damaged or modified battery pack or battery charger, which may exhibit unpredictable behavior that results in fire, explosion, or risk of injury.
- If the supply cord to the battery charger is damaged, contact an Authorized Service Dealer to replace it.
- Charge the battery pack in a well-ventilated area only.
- Do not expose a battery pack or battery charger to fire or to temperatures higher than 68°C (154°F).
- Follow all charging instructions and do not charge the battery pack outside of the temperature range specified in the instructions. Otherwise, you may damage the battery pack and increase the risk of fire.
- Do not operate the appliance without all guards and other safety protective devices in place and functioning properly on the appliance.
- Dress properly Wear appropriate clothing, including eye protection; long pants; substantial, slip-resistant footwear; and hearing protection. Tie
- back long hair and do not wear loose clothing or loose jewelry that can get caught in moving parts. Wear a dust mask in dusty operating conditions.
Operation
- Avoid dangerous environments Do not use the appliance in rain or in damp or wet locations.
- Use the proper appliance for your application—Using the appliance for purposes other an its intended use could prove dangerous to you and bystanders.
- Prevent unintentional starting Ensure that the switch is in the OFF position before connecting to the battery pack and handling the appliance. Do not carry the appliance with your finger on the switch or energize the appliance with the switch in the ON position.
- Operate the appliance only in daylight or good artificial light.
- Remove the battery pack from the appliance before adjusting it or changing accessories.
- Keep your hands and feet away from the opening and all moving parts.
- Stop the appliance, remove the battery pack from the appliance, and wait for all movement to stop before adjusting, servicing, cleaning, or storing the appliance.
- Remove the battery pack from the appliance whenever you leave it unattended.
- Do not force the appliance—Allow the appliance to do the job better and safer at the rate for which it was designed.
- Do not overreach—Keep proper footing and balance at all times, especially on slopes. Walk, never run with the appliance.
- Stay alert—Watch what you are doing and use common sense when operating the appliance.Do not use the appliance while ill, tired, or under the influence of alcohol or drugs.
- Ensure that the ventilation openings are kept clear of debris.
- Do not insert any object into the opening or use the appliance with a blocked opening. Keep the opening free from dust, lint, hair, or anything else that could reduce the air flow.
- Use extra care when using the appliance to clean stairways.
- Under abusive conditions, the battery pack may eject liquid; avoid contact. If you accidently come into contact with the liquid, flush with water. If the liquid contacts your eyes, seek medical help. Liquid ejected from the battery pack may cause irritation or burns.
- CAUTION A mistreated battery pack may present a risk of fire or chemical burn. Do not disassemble the battery pack. Do not heat the battery pack above 68°C (154°F) or incinerate it. Replace the battery pack with a genuine Toro battery pack only; using another type of battery pack may cause a fire or explosion. Keep battery packs out of the reach of children and in the original packaging until you are ready to use them.
Maintenance and Storage
- Maintain the appliance with care—Keep it clean and in good repair for best performance and to reduce the risk of injury. Follow the instructions for lubricating and changing accessories. Keep handles dry, clean, and free from oil and grease.
- When the battery pack is not in use, keep it away from metal objects such as paper clips, coins, keys, nails, and screws that can make a connection from 1 terminal to another. Shorting the battery terminals may cause burns or a fire.
- Keep your hands and feet away from moving parts.
- Stop the appliance, remove the battery pack from the appliance, and wait for all movement to stop before adjusting, servicing, cleaning, or storing the appliance.
- Check the appliance for damaged parts—If there are damaged guards or other parts, determine whether it will operate properly. Check for misaligned and binding moving parts, broken parts, mounting, and any other condition that may affect its operation. Unless indicated in the instructions, have an Authorized Service Dealer repair or replace a damaged guard or part.
- Check the debris collector frequently for wear or deterioration and replace it when necessary.
- Keep all fasteners on the appliance tight.
- Do not attempt to service or repair the appliance, battery pack, or battery charger except as indicated in the instructions. Have an Authorized Service Dealer perform service using identical replacement parts to ensure that the product is safely maintained.
- Store an idle appliance indoors in a place that is dry, secure, and out of the reach of children.
- Do not dispose of the battery in a fire. The cell may explode. Check with local codes for possible special disposal instructions.
Safety and Instructional Decals
Safety decals and instructions are easily visible to the operator and are located near any area of potential danger. Replace any decal that is damaged or missing.
- Warning read the Operator’s Manual; stay away from moving parts; keep all guards and shields in place; wear eye protection; do not expose to rain.
- Warning keep bystanders away from the machine in all directions.
- Thrown object hazard keep bystanders away.
SAVE THESE INSTRUCTIONS
- Read the Operator’s Manual.
- Call2Recycle® battery recycling program
- Keep the Lithium-Ion battery away from open fire or flames.
- Do not expose to rain.

- Battery charge status

- Battery charge status
- The battery pack is charging.
- The battery pack is fully charged.
- The battery pack is over or under the appropriate temperature range.
- Battery pack charging fault

Setup
Important: The battery pack is not fully charged when you purchase it. Before using the tool for the first time, refer to Charging the Battery Pack (page 10).
Mounting the Battery Charger (Optional)
If desired, mount the battery charger securely on a wall using the wall-mount key holes on the back of the charger.Mount it indoors (such as a garage or other dry place), near a power outlet, and out of the reach of children.Refer to Figure 1 for assistance in mounting the charger. Slide the charger over the appropriately positioned hardware to secure the charger in place (hardware not included).
Assembling the Blower
- Install the blower nozzle into the into the tube

- Slide the blower tube onto the blower housing. You may need to press down on the tube latch for the blower tube to lock into place (Figure 3).

- Tube latch
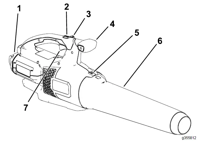
Product Overview
- Battery and battery cavity
- Turbo boost button
- Speed lock
- Handle knob
- Blower tube latch
- Blower tube
- Variable-speed trigger

- Battery charger Model 88602 (included with Model 51822)
- Battery pack Model 88640 (included with Model 51822)
Specifications
| Model | 51822 |
| Rated Voltage | 60V DC maximum, 54 VDC nominal usage |
| Charger Type | 88602 (included with Model 51822), 88605, 88610 |
| Battery Type | 88640 (included with Model 51822), 88620, 88625, 88660, or 88675 |
Appropriate Temperature Ranges
| Charge/ store the battery pack at | 5°C (41°F) to 40°C (104°F)* |
| Use the battery pack at | -30°C (-22°F) to 49°C (120°F) |
| Use the blower at | 0°C (32°F) to 49°C (120°F) |
Charging time will increase if you do not charge the battery within this range.
Store the tool, battery pack, and battery charger in an enclosed clean, dry area.
Operation
WARNING
The blower can throw debris, possibly causing serious personal injury to you or bystanders.
- Do not blow hard objects, such as nails or bolts.
- Do not operate the blower near bystanders or pets.
- Be careful of blowing direction (i.e., blow away from bystanders, windows, automobiles, etc.). Only use as much speed as required.
- Use extra care when cleaning debris from stairs or other tight areas.
- Wear safety goggles or other suitable eye protection, long pants, and slip-resistant footwear.
Starting the Blower
- Make sure that the vents on the blower are clear of any dust and debris.
- Align the cavity on the battery pack with the tongue in the handle housing (Figure 6).
- Grasp the handle and push the battery pack into the handle until the latch locks into place (Figure 3).

- To start the blower, squeeze the variable-speed trigger (Figure 7). Note: Engage the speed lock to keep the machine on without pressing the variable-speed trigger (Figure 7).

- Speed lock
- Turbo boost button
- Variable-speed trigger
- battery latch
- Blower venting areas
Adjusting the Air Speed of the Blower
To achieve maximum performance (air speed) , press and hold the turbo boost button for the desired amount of time (Figure 7). To adjust the air speed as you blow, use the variable-speed trigger (Figure 7). To maintain the current air speed, engage the speed lock (Figure 7).
Shutting Off the Blower
To shut off the blower, disengage the speed lock (if in use) and release the variable-speed trigger (Figure 7). Important: After stopping the blower, do not leave the speed lock engaged with the battery pack in the blower. Whenever you are not using the blower or are transporting the blower to or from the work area, remove the battery pack.
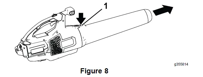
Removing the Blower Tube
Press down on the tab latch to separate the blower tube from the blower (Figure 8).
Removing the Battery from the Blower
Press down on the battery latch to separate the battery from the blower (Figure 9).
Charging the Battery Pack
Important: The battery pack is not fully charged when you purchase it. Before using the tool for the first time, place the battery pack in the charger and charge it until the LED display indicates the battery pack is fully charged. Read all safety precautions Important: Charge the battery pack only in temperatures that are within the appropriate range; refer to Specifications (page 7). Note: At any time, press the battery-charge-indicator button on the battery pack to display the current charge (LED indicators).
- Make sure that the vents on the battery and battery charger are clear of any dust and debris.

- Battery pack cavity
- Battery pack venting areas
- Battery pack terminals
- Battery-charge-indicator button
- LED indicators (current
| Indicator light | Indicates |
| Off | No battery pack inserted |
| Green blinking | Battery pack is charging |
Storage
Important: Store the tool, battery pack, and charger only in temperatures that are within the appropriate range; refer to Specifications (page 7).
Important: If you are storing the battery pack for the off-season, remove the battery pack from the tool and charge the battery pack until 2 or 3 LED indicators turn green on the battery. Do not store a fully charged or fully depleted battery. When you are ready to use the tool again, charge the battery pack until the left indicator light turns green on the charger or all 4 LED indicators turn green on the battery.
- Disconnect the product from the power supply (i.e., remove the plug from the power supply or the battery pack) and check for damage after use.
- Do not store the tool with the battery pack installed.
- Clean all foreign material from the product.
- When not in use, store the tool, battery pack, and battery charger out of the reach of children.
- Keep the tool, battery pack, and battery charger away from corrosive agents, such as garden chemicals and de-icing salts.
- To reduce the risk of serious personal injury, do not store the battery pack outside or in vehicles.
- Store the tool, battery pack, and battery charger in an enclosed clean, dry area.
Preparing the Battery Pack for Recycling
Important: Upon removal, cover the terminals of the battery pack with heavy-duty adhesive tape. Do not attempt to destroy or disassemble the battery pack or remove any of its components.Lithium-ion battery packs labeled with the Call2Recycle seal can be recycled at any participating retailer or battery recycling facility in the Call2Recycle program (US and Canada only). To locate a participating retailer or facility closest to you, please call 1-800-822-8837 or visit www.call2recycle.org. If you cannot locate a participating retailer or facility nearby, or if your rechargeable battery is not labeled with the Call2Recycle seal, please contact your local municipality for more information on how to responsibly recycle the battery. If you are located outside of the US and Canada, please contact your authorized Toro distributor.
Troubleshooting
Perform only the steps described in these instructions. All further inspection, maintenance, and repair work must be performed by an authorized service center or a similarly qualified specialist if you cannot solve the problem yourself.
| Problem | Possible Cause | Corrective Action |
| The tool does not start. | 1. The battery is not fully installed in the tool.
2. The battery pack is not charged.
3. The battery pack is damaged. 4. There is another electrical problem with the tool. | 1. Remove and then replace the battery into the tool, making sure that it is fully installed and latched. 2. Remove the battery pack from the tool and charge it. 3. Replace the battery pack. 4. Contact an Authorized Service Dealer. |
| The tool does not reach full power. | 1. The battery pack charge capacity is too low. 2. The air vents are blocked. | 1. Remove the battery pack from the tool and fully charge the battery pack. 2. Clean the air vents. |
| The battery pack loses charge quickly. | 1. The battery pack is over or under the appropriate temperature range. | 1. Move the battery pack to a place where it is dry and the temperature is between 5°C (41°F) and 40°C (104°F). |
| The battery charger is not working. | 1. The battery charger is over or under the appropriate temperature range.
2. The outlet that the battery charger is plugged into does not have power. | 1. Unplug the battery charger and move it to a place where it is dry and the temperature is between 5°C (41°F) and 40°C (104°F). 2. Contact your licensed electrician to repair the outlet. |
| The LED indicator light on the battery charger is red. | 1. The battery charger and/or battery pack is over or under the appropriate temperature range. | 1. Unplug the battery charger and move the battery charger and battery pack to a place where it is dry and the temperature is between 5°C (41°F) and 40°C (104°F). |
| The LED indicator light on the battery charger is blinking red. | 1. There is an error in the communication between the battery pack and the charger.
2. The battery pack is weak. | 1. Remove the battery pack from the battery charger, unplug the battery charger from the outlet, and wait 10 seconds. Plug the battery charger into the outlet again and place the battery pack on the battery charger. If the LED indicator light on the battery charger is still blinking red, repeat this procedure again. If the LED indicator light on the battery charger is still blinking red after 2 attempts, properly dispose of the battery pack at a battery recycling facility. 2. Properly dispose of the battery pack at a battery recycling facility. |
| The tool does not run or run continuously. | 1. There is moisture on the leads of the battery pack. 2. The battery is not fully installed in the tool.
3. The battery pack is low on charge. | 1. Allow the battery pack to dry or wipe it dry. 2. Remove and then replace the battery in the tool, ensuring that it is fully installed and latched. 3. Charge the battery pack. |
| The speed lock does not hold when engaged. | 1. The speed lock screw is loose. | 1. Tighten the speed lock screw by turning the speed lock screw ¼ turn. If the speed lock still does not hold when engaged, turn the speed lock screw an additional ¼ turn. |





























