INDESIT 8050147658062 Washing Machine

Quick Guide
THANK YOU FOR BUYING A INDESIT PRODUCTIn order to receive a more complete assistance,
please register your product on www.indesit.com/register
Before using the appliance carefully read the Safety Instruction.
Before using the machine, it is imperative that the transport bolts are removed.
For more detailed instructions on how to remove them, see the Installation Guide.
CONTROL PANEL

- ON/OFF button
- START/PAUSE button and indicator light
- TEMPERATURE button
- DISPLAY
- CHILD LOCK button
- OPTION button
- DELAYED START button
- SPIN button
- WASH CYCLE SELECTOR KNOB
- PUSH & GO button
WASH CYCLE TABLE
| Maximum load 8 kg Power input in off mode 0.5 W / in left-on mode 8 W | Detergents and Additives | Recommended detergent | Residual dampness % (***) | Energy consumption kWh | Total water lt | Laundry temperature °C | ||||||||||
| Wash cycle | Temperature | Max. spin speed (rpm) | Max. load for washing (kg) | Duration (h : m) | Drying | Max. load for drying (kg) | Wash | Fabric softener | Powder | Liquid | ||||||
| Setting | Range | 2 | 3 | |||||||||||||
| 1 | Cotton (2) | 30°C | 1400 | 8.0 | 3:55 | 6.0 | ⚪ | ☑ | ☑ | 49 | 1.40 | 105 | 45 | |||
| 2 | Synthetics (3) | 30°C | 1200 | 4.0 | 2:55 | 4.0 | ⚪ | ☑ | ☑ | 35 | 0.80 | 55 | 43 | |||
| 3 | Mixed | 30°C | 1000 | 8.0 | ** | 6.0 | ⚪ | – | ☑ | – | – | – | – | |||
| 4 | Eco 40-60 (1) (Wash) | 30°C | 40°C | 1351 | 8.0 | 3:38 | 6.0 | ⚪ | ☑ | ☑ | 53 | 0.73 | 56 | 34 | ||
| 1351 | 4.0 | 2:48 | ⚪ | ☑ | ☑ | 53 | 0.55 | 53 | 34 | |||||||
| 1351 | 2.0 | 2:25 | ⚪ | ☑ | ☑ | 53 | 0.35 | 35 | 23 | |||||||
| 5 | White | 30°C | 1400 | 8.0 | 2:45 | 6.0 | ⚪ | ☑ | ☑ | 49 | 0.90 | 90 | 55 | |||
| 6 | Delicates | 30 °C | 600 (****) | 1.0 | ** | 1.0 | ⚪ | – | ☑ | – | – | – | – | |||
| 7 | Colours | 40 °C | | 1400 | 8.0 | ** | 6.0 | ⚪ | – | ☑ | – | – | – | – | ||
| 8 | Dark | 30 °C | 800 | 5.0 | ** | 5.0 | ⚪ | – | ☑ | – | – | – | – | |||
| 9 | Antiodour | 40°C | 1000 | 3.5 | ** | 3.5 | ⚪ | ☑ | ☑ | – | – | – | – | |||
| 10 | 20°C | 20 °C | 1400 | 8.0 | 1:50 | 6.0 | ⚪ | – | ☑ | 49 | 0.16 | 90 | 22 | |||
| 11 | Wool | 40 °C | 800 | 2.0 | ** | 2.0 | ⚪ | – | ☑ | – | – | – | – | |||
| 12 | Rapid 30’ | 30 °C | – 30 °C | 1200 (****) | 4.5 | 0:30 | – | – | ⚪ | – | ☑ | 71 | 0.20 | 45 | 27 | |
| 13 | Wash&Dry 45‘ | 30 °C | 30 °C | 1400 | 1.0 | ** | 1.0 | ⚪ | – | ☑ | – | – | – | – | ||
| 14 | AirFresh | – | – | – | – | ** | 1.5 | – | – | – | – | – | – | – | – | |
| 15 | Rinse + Spin | – | – | 1400 | 8.0 | ** | 6.0 | – | ⚪ | – | – | – | – | – | – | |
| 16 | Spin + Drain * | – | – | 1400 | 8.0 | ** | 6.0 | – | – | – | – | – | – | – | – | |
| 4 | Eco 40-60 (4) (Wash&Drying) | 40 °C | 40 °C | 1351 | 6.0 | 9:20 | 6.0 | ⚪ | ☑ | ☑ | 0 | 3.80 | 75 | 33 | ||
| 1351 | 3.0 | 5:10 | 3.0 | ⚪ | ☑ | ☑ | 0 | 1.98 | 47 | 32 | ||||||
The cycle duration indicated on the display or instruction manual is an estimate based on standard conditions. The actual duration may vary in relation to several factors, such as the temperature and pressure of the incoming water, ambient temperature, amount of detergent, load quantity and type, load balancing and any additional options selected. The values given for programmed other than the Eco 40-60 programmed are indicative only.
- Eco 40-60 (Wash) – Test wash cycle in compliance with EU Eco-design regulation 2019/2014. The most efficient programmed in terms of energy and water consumption for washing normally soiled cotton laundry.
Note: spin speed values shown on the display can slightly differs from the values stated in the table. - Eco 40-60 (Wash & Drying)- Test wash and drying cycle in compliance with EU Eco-design regulation 2019/2014. To access “wash and dry” cycle select “Eco 40-60” wash programmed and set option level to “
”. The most efficient programmed in terms of energy and water consumption for washing and drying normally soiled cotton laundry. At the end of cycle the garments can be immediately stored to the cupboard.
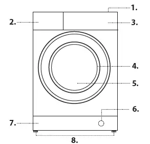
PRODUCT DESCRIPTION
- Top
- Detergent dispenser drawer
- Control panel
- Handle
The cycle duration indicated on the display or instruction manual is an estimate based on standard conditions. The actual duration may vary in relation to several factors, such as the temperature and pressure of the incoming water, ambient temperature, amount of detergent, load quantity and type, load balancing and any additional options selected. The values given for programmed other than the Eco 40-60 programmed are indicative only.
- Eco 40-60 (Wash) – Test wash cycle in compliance with EU Eco-design regulation 2019/2014. The most efficient programmed in terms of energy and water consumption for washing normally soiled cotton laundry.
Note: spin speed values shown on the display can slightly differs from the values stated in the table.
For all testing institutes: - Long cotton cycle: set cycle 6 at a temperature of 40°C.
- Long synthetics cycle: set cycle 7 at a temperature of 40°C.
- The display will show the suggested spin speed as default value.
* By selecting the 16 cycle and excluding the spin cycle, the washing machine will drain only.
** The duration of the wash cycles can be checked on the display.
*** After programmed end and spinning with maximum selectable spin speed, in default programmed setting.
PRODUCT DESCRIPTION
- Top
- Detergent dispenser drawer
- Control panel
- Handle
- Porthole door
- Drain pump (behind the plinth)
- Plinth (removable)
- Adjustable feet (2)

DETERGENT DISPENSER DRAWER
Compartment 1: Do not pour detergent into the compartment 1.
Detergent should only be poured into the compartment 2.
Compartment 2: Washing detergent (powder or liquid) If liquid detergent is used, the removable plastic partition A (supplied) should be used for proper dosage. If powder detergent is used, insert the partition into slot B.
Compartment 3: Additives (fabric softener, etc.) The fabric softener must never exceed the “max” level indicated on the central pin.

- Use powder detergent for white cotton garments, for pre-washing, and for washing at temperatures over 60°C.
- Follow the instructions given on the detergent packaging.
- To remove the drawer, press lever C and pull the drawer outwards.
WASH CYCLES
Follow the instructions on the symbols of the garment’s wash care label.
The value indicated in the symbol is the maximum recommended temperature for washing the garment.

Cotton: suitable for washing towels, underwear, table cloths, etc. made of resistant linen and cotton that are moderately to heavily soiled.
Synthetics: specific for synthetic items. If the dirt is difficult to remove, the temperature can be increased up to 60° and powder detergent can be used too.
Colors
A 30°C cycle that helps to preserve colors, suitable for cotton or synthetic cultured garments. It allows for reducing electricity consumption for heating the water while guaranteeing good washing results. Suitable for lightly soiled garments.
Mixed: for washing lightly to normally soiled resilient garments in cotton, linen, synthetic fibers and mixed fibers.
Eco 40-60: for washing normally soiled cotton garments declared to be washable at 40 °C or 60 °C, together in the same cycle. This is the standard cotton programmed and the most efficient in terms of water and energy consumption.
White: suitable for resistant linen and cotton that are heavily soiled.
Delicates: use programmed 6 to wash very delicate garments. It is advisable to turn the garments inside out before washing them. For best results, use liquid detergent on delicate garments.
When selecting an exclusively time-based drying function, a drying cycle is performed at the end of the wash cycle that is particularly delicate, thanks to light handling and appropriate temperature control of the water jet.
Rapid 30min
For washing lightly soiled garments in a short time. Not suitable for wool, silk and garments to be washed by hand.
Cotton
Suitable for washing towels, underwear, table cloths, etc. made of resistant linen and cotton that are moderately to heavily soiled. Synthetics
Specific for synthetic items. If the dirt is difficult to remove, the temperature can be increased up to 60° and powder detergent can be used too. Mixed
A 40°C cycle for washing cotton and synthetic garments together. Suitable for lightly soiled underwear.
Eco 40-60
For washing normally soiled cotton garments declared to be washable at 40 °C or 60 °C, together in the same cycle. This is the standard cotton programmed and the most efficient in terms of water and energy consumption.
White
For heavily soiled whites and resistant colors.
Rapid
Allows for varying the garment treatment duration from 20’ to 60’.
- 20’: this cycle refreshes your garments in just 20 minutes.
- 45’: a short cycle designed for washing mixed cotton-synthetic garments.
- 60’: this cycle is designed to wash moderately soiled resistant cotton garments at 60°C in an hour, with good washing performance.
For synthetic or mixed garments, the temperature should be lowered to 40°C. Duvet
For washing clothing padded with goose down, such as double or single duvets (weighing under 2 kg), cushions or down jackets.
Duvets should be loaded into the drum with their edges folded inwards and no more than ¾ of the total drum volume should be used up.
For best results, it is advisable to use liquid detergent to be poured into the detergent drawer. Wool – Woolmer Apparel Care – Blue:

The “Wool” wash cycle is approved by the Woolmer
Company for washing wool garments classified as “hand-washable”, provided that the wash complies with the instructions appearing on the garment’s label and with those provided by the manufacturer of this washing machine. (M1253)
20°C
For washing lightly soiled cotton garments, at a temperature of 20 °C. Rinse + Spin
Designed for rinsing and spinning.
Spin + Drain
Designed to spin and drain the water.
DISPLAY
The display is useful when programming the washing machine and provides plenty of information’s

The duration of the available wash cycles and the remaining time of a running cycle appear in section A; if the Delayed Start option has been set, the countdown to the start of the selected cycle will appear. Pressing the corresponding button allows you to view either the maximum spin speed, temperature and drying time values attained by the machine during the set wash cycle, or the values selected most recently (if compatible with the set wash cycle).
The hourglass flashes while the machine processes the data on the basis of the selected cycle. After a maximum of 10 minutes, the
icon remains steady lit and the final time remaining is displayed.
The “hourglass” icon will then switch off approximately 1 minute after the final time remaining has been displayed.
The “washing phases” relative to the selected cycle and the “washing phase” of the running cycle appear in section B:
Wash
Rinse
Spin
Drain
When lit, the
symbol indicates that the set “Delayed Start” value has appeared on the display.
There are three levels in section C relative to the washing options.
DOOR LOCKED INDICATOR
When lit, the symbol indicates that the door is locked. To prevent any damage, wait until the symbol turns off before opening the door.
To open the door while a cycle is in progress, press the START/PAUSE button
; if the symbol
is off, the door can be opened.
FIRST-TIME USE
DAILY USE
Prepare the laundry by following the suggestions appearing under the “TIPS AND SUGGESTIONS” section.
Rapid programming
- Press the ON/OFF button
; the START/PAUSE indicator light
will flash slowly green. . - Open the door. Load the laundry while making sure not to exceed the maximum load quantity indicated in the cycle table.
- Pull out the detergent dispenser drawer and pour the detergent into the relevant compartments as described in “DETERGENT DISPENSER DRAWER” section.
- Close the door.
STARTING CYCLE
Press the PUSH & GO button.
The machine will lock the door (
symbol on) and the drum will start to rotate; the door will be unlocked (
symbol OFF) and then locked again (
symbol on) as preparation phase of each washing cycle. The “Clicking” noise is part of the door locking mechanism. Water will enter the drum and start the washing phase once the door is locked.
Traditional programming
- Press the ON/OFF button
; the START/PAUSE indicator light
will flash slowly green. - Open the door. Load the laundry while making sure not to exceed the maximum load quantity indicated in the Wash Cycle Table.
- Pull out the detergent dispenser drawer and pour the detergent into the relevant compartments as described in “DETERGENT DISPENSER DRAWER” section.
- Close the door.
- Use the WASH CYCLE selector knob to select the desired wash cycle: it will be associated with a specific temperature and spin speed that can be modified. The duration of the cycle will appear on the display.
- Modify the temperature and/or spin speed: the machine automatically displays the maximum temperature and spin speed values set for the selected cycle, or the most recently-used settings if they are compatible with the selected cycle. Pressing the button gradually reduces the button gradually reduces the
button gradually reduces the temperature down to the cold wash “OFF” setting. Pressing the
button gradually reduces the spin speed until it is completely excluded (“OFF” setting). Pressing these buttons again restores the maximum values. - Select the desired options.
STARTING CYCLE
Press the START/PAUSE
button.
The machine will lock the door (
symbol on) and the drum will start to rotate; the door will be unlocked (
symbol OFF) and then locked again (
symbol on) as preparation phase of each washing cycle. The “Clicking” noise is part of the door locking mechanism. Water will enter the drum and start the washing phase once the door is locked.
PAUSING A CYCLE
To pause the wash cycle, press the START/PAUSE
button again; the indicator light will flash amber.
If the
symbol is not lit, the door may be opened.
To start the wash cycle from the point at which it was interrupted, press the START/PAUSE
button again. ain.
OPENING THE DOOR, IF NECESSARY
Once a cycle starts, the
symbol turns on to signal that the door cannot be opened. While a wash cycle is running, the door remains locked. To open the door while a cycle is under way, for example, to add or remove garments, press the START/PAUSE button
to pause the cycle; the indicator light will flash amber. If the
symbol is not lit, the door may be opened. Press the START/PAUSE button
again to continue the cycle.
CHANGING A RUNNING WASH CYCLE
To change a wash cycle while it is in progress, pause the washing machine using the START/PAUSE button
(the relative indicator light will flash amber), then select the desired cycle and press the START/PAUSE button
again.
To cancel a cycle that has already begun, press and hold the ON/O
FF button. The cycle will be stopped and the machine will switch off.
END OF THE CYCLE
This will be indicated by the word “END” on the display; when the
symbol switches off, the door may be opened.
Open the door, unload the laundry and switch off the machine.
If you do not press ON/OFF button,
the washing machine will switch off automatically after about a 10 minutes.
OPTIONS
- If the selected option is not compatible with the set wash cycle, the indicator light will flash and the option will not be activated.
Stain removal
This option allows for selecting the type of dirt so as to optimally adjust the cycle for removing the stains.
The following types of dirt can be selected:
Food, for stains caused by foodstuffs and beverages, for example.
Work, for grease and ink stains, for example.
Outdoor, for mud and grass stains, for example
The wash cycle duration varies according to the type of selected dirt.
Rapid
When this button is pressed the first time, the 45’ icon lights up, when pressed the second time the 60’ icon lights up and the third time the 20’ icon lights up.
Delayed Start – (
) ![]()
To set a delayed start for the selected cycle, press the corresponding button repeatedly until the desired delay period has been reached. When this option has been activated, the
symbol lights up on the display.
To remove the delayed start setting, press the button until the word “OFF” appears on the display.
Spin ![]()
- Each wash cycle has a pre-defined spin speed.
- To modify the spin speed, press the
button. - The value will appear on the display.
PUSH & GO
To start the PUSH & GO cycle press and hold the relative button for 2 seconds. The lit indicator light indicates that the cycle has started. This wash cycle is ideal for cotton or synthetic fabrics, as it washes at a temperature of 30°C and a maximum spin speed of 1200 rpm. Max load 3,5 kg (cycle duration 59’).
During the last phase of the cycle garments will be treated with steam, that will relax the fibers making ironing easier and quicker.
How does it work?
- Load the laundry (cotton and/or synthetic garments) and close the door.
- Pour the detergent and additives.
- Start the cycle by pressing and holding the PUSH & GO button for 2 seconds. The relevant indicator light will turn green and the door will lock (the symbol lights up).
N.B.: starting the wash cycle through the PUSH & GO button activates an automatic non-customizable cycle recommended for cotton and synthetic fabrics. This cycle does not allow for setting any additional options.
To open the door while an automatic cycle is under way, press the START/PAUSE button; if the locked door symbol is off, the door may be opened. Press the START/PAUSE button again to restart the cycle from the point at which it was interrupted. - At the end of the wash cycle the word END will appear on the display.
CHILD LOCK
To activate the control panel lock, press and hold the
button for approximately 2 seconds.
The lit “
“ symbol signals that the control panel is locked.
This prevents wash cycles from being modified accidentally (except for the ON/OFF
button), especially if there are children in the home.
To deactivate the control panel lock, press and hold the
button for approximately 2 seconds.
TIPS AND SUGGESTIONS
Divide the laundry according to:
Type of fabric (cotton, mixed fibres, synthetics, wool, garments to be hand-washed). Color (separate cultured garments from whites, wash new
coloured garments separately). Delicates (small garments – such as nylon stockings – and items with hooks – such as bras: insert them in a fabric bag).
Empty the pockets:
Objects such as coins or lighters can damage the washing machine and the drum. Check all buttons.
Follow the dosage recommendation / additives
It optimizes the cleaning result, it avoids irritating residues of surplus detergent in your laundry and it saves money by avoiding waste of surplus detergent.
Use low temperature and longer duration
The most efficient programmed in terms of energy consumption are generally those that perform at lower temperatures and longer duration.
Observe the load sizes
Load your washing machine up to the capacity indicated in the “Wash Cycle Table” table to save water and energy.
Noise and remaining moisture content
They are influenced by the spinning speed: the higher the spinning speed in the spinning phase, the higher the noise and the lower the remaining moisture content.
CARE AND MAINTENANCE
Before performing cleaning and maintenance, switch the washer-dryer off and disconnect it from the mains power. Do not use flammable liquids to clean the washer-dryer. Clean and maintain your washer-dryer periodically (at least 4 times per year).
Disconnect the water and power supplies
Close the water tap after every wash. This will limit wear on the hydraulic system inside the washer-dryer and help to prevent leaks. Unplug the washer-dryer when cleaning it and during all maintenance work.
Clean the washer-dryer
The outer parts and rubber components of the appliance can be cleaned using a soft cloth soaked in lukewarm soapy water.
Do not use solvents or abrasives. The washer-dryer has a “Auto-clean” cycle for its internal parts; it must be run without any load in the drum. To optimize this cycle, it is possible to use either detergent (10% of the quantity specified for lightly soiled garments) or special additives to clean the washer-dryer. We recommend running a cleaning cycle every 40 wash cycles.
To start the cycle press buttons
and
simultaneously for 5 seconds. The cycle will start automatically and will run for about 70 minutes. To stop the cycle, press the START/PAUSE
button.
Clean the detergent dispenser drawer
Wash it under running water; this operation should be repeated frequently.
Care for the door and drum
Always leave the porthole door ajar in order to prevent unpleasant odors from forming.
Clean the pump
The washer-dryer is fitted with a auto-cleaning pump that does not require any maintenance.
Small items (such as coins or buttons) may sometimes fall into the protective pre-chamber situated at the base of the pump.
- Make sure the wash cycle has ended and unplug the appliance.
To access the pre-chamber:
- remove the cover panel on the front of the machine by first pressing it in the center then pushing downwards on both sides to extract it;
- loosen the drainage pump cover by turning it anti-clockwise: it is normal for some water to leak out;
- clean the inside thoroughly;
- screw the cover back on;
- put the panel back in place, making sure the hooks slot in place before pushing the panel onto the appliance.
Check the water inlet hose
Check the water inlet hose at least once a year.
If it is cracked or broken, it must be replaced: during wash cycles, the high pressure of the water could suddenly split the hose open.
- Never use hoses that have already been used.
LOAD BALANCING SYSTEM
Before every spin cycle, to avoid excessive vibrations before every
spin and to distribute the load in a uniform manner, the drum rotates continuously at a speed which is slightly greater than the washing rotation speed. If, after several attempts, the load is not balanced correctly, the machine spins at a reduced spin speed. If the load is excessively unbalanced, the washer-dryer performs the distribution process instead of spinning. To encourage improved load distribution and balance, we recommend small and large garments are mixed in the load.
ACCESSORIES
Contact our Technical Assistance Service to check whether the following accessories are available for this washer-dryer model.
Stacking kit
With this accessory you can secure the tumble dryer to the upper part of your washer-dryer to save space and facilitate loading and unloading of the tumble dryer.
TRANSPORT AND HANDLING
Do not lift the washer-dryer by gripping it from the upper section. Unplug the appliance and close the water tap. Check that the door and detergent dispenser drawer are tightly closed. Detach the filling hose from the water tap then detach the drain hose. Empty all the water remaining in the hoses and secure the latter so that they do not get damaged during transport. Apply the transport bolts back on. Repeat, in reverse order, the transport bolt removal procedure described in the “Health & Safety and Installation Guides”.
DEMO MODE: to deactivate this function, switch the washing machine OFF.
Than press and hold “Start/Pause”
button, within 5 seconds press also “ON/OFF”
button and hold both buttons for 2 seconds.
TROUBLESHOOTING
Anomalies /Possible causes / Solution
- The machine does not switch on.
- The appliance is not plugged into the socket fully, or not enough to make contact.
- There is no power to the socket, or the fuse has blown in the mains plug.
- The wash cycle does not start.
- The door is not closed properly.
- The ON/OFF button has not been pressed.
- The START/PAUSE button has not been pressed.
- The water tap has not been turned on to allow water to flow into the machine.
- A delayed start has been set.
- The machine does not fill with water (“H2O” appears on the display).
- The water inlet hose is kinked.
- The water inlet hose is not connected to the water supply.
- The water pressure is too low.
- The water tap has not been turned on to allow water to flow into the machine.
- There is no water supply to the house.
- The inlet valve filter is blocked.
- The START/PAUSE button has not been pressed.
- The machine continuously fills with water and continually drains away or Water left in the drum or Stuck on wash.
- The top of the drain hose is too low – It must be fitted at a height between 65 and 100 cm from the floor.
- The drain hose is connected incorrectly to the sink trap allowing water to run into the machine, the drain hose must be positioned higher than the bottom of the sink to prevent water flowing down the drain hose.
- The end of the drain hose has been pushed too far down the standpipe, the ‘U’ bracket should be fitted 100 mm from the end of the drain hose.
- The machine does not drain or spin – (error lights flashing).
- The Pump filter is blocked.
- The drain hose is kinked.
- New Installation – The blanking cap or spigot has not been removed if connected under a sink.
- The drain hose or sink trap is blocked.
- The machine does spin.
- The ‘Spin’ Speed is set to “OFF”.
- The machine does not heat or poor wash results.
- The ‘Temperature’ is set to “OFF”.
- The programme takes too long.
- Programme times will vary due to water pressure, the incoming water temperature and if the wash load goes out of balance. This will increase the programme times accordingly.
- The Display sticks at one ‘time to end’ for more than 1 Minute or the Display changes the estimated ‘Time to End’ during the programme.
- The display time is for guidance only – it is not a precise time to finish and may vary.
- The washing machine vibrates a lot during the spin cycle.
- The feet have not been adjusted, enabling the machine to rock.
- New Installation – Either the Transit Bolts including the plastic spacers, or the Polystyrene Packaging have not been removed when installing the machine.
- The machine is trapped between cabinets and/or walls.
- The load is in a slight out of balance condition and machine is spinning, but at a lower speed.
- The machine is noisy. There will always be some motor, pump and drum noise during spin.
- The machine leaks from the dispenser.
- The dispenser drawer is blocked with detergent and requires cleaning.
- The water pressure is too high and requires turning down – turn down the tap on the water supply pipe slightly and try again.
- The machine is tilting forwards – It must be level when in its final position.
- The “Options” and START/PAUSE indicator lights flash rapidly and the display visualises an error code (e.g.: F-01, F-…).
- Switch off the machine and unplug it, wait for approximately 1 minute and then switch back on again. If the problem persists contact Technical Assistance Centre.
- The machine smells.
- The machine requires a service wash. Run a auto clean wash cycle with detergent and no laundry.
- The water level is too low when the machine is washing.
- The water level is correct if it can be seen at the bottom of the door.
- There is too much foam.
- The detergent is not suitable for machine washing (it should display the text ‘for washing machines’ or ‘hand and machine wash’ or the like).
- General.
- Your washing machine contains sensors that monitor progress during the wash cycle (eg: Water Levels, Temperatures, Out of Balance loads, Wash time/progress). Normally, if your machine successfully completes the cycle, there is unlikely to be anything wrong!
- The PUSH & GO option does not activate.
- After switching on the machine, a control other than PUSH & GO was activated. Switch the machine off and press the PUSH & GO button.
Regulatory documentation, standard documentation, ordering spare parts and other product information can be found:
- By visiting our website docs.indesit.eu and parts-selfservice.indesit.com
- Using QR Code
- Alternatively, contact our After‑sales Service (See phone number in the warranty booklet). When contacting our After‑sales Service, please state the codes provided on your product’s identification plate.
- For User’s Repair & Maintenance Information visit www.indesit.com

The model information can be retrieved using the QR-Code reported in the energy label. The label also includes the model identifier that can be used to consult the portal of the registry at https://eprel.ec.europa.eu



Food, for stains caused by foodstuffs and beverages, for example.
Work, for grease and ink stains, for example.
















