InDesiT 869991664180 Integrated Washing Machine

THANK YOU!
THANK YOU FOR BUYING A INDESIT PRODUCT In order to receive a more complete assistance, please register your product on www.indesit.com/register
Before using the appliance carefully read the Safety Instruction.
Before using the machine, it is imperative that the transport bolts are removed.
For more detailed instructions on how to remove them, see the Installation Guide.
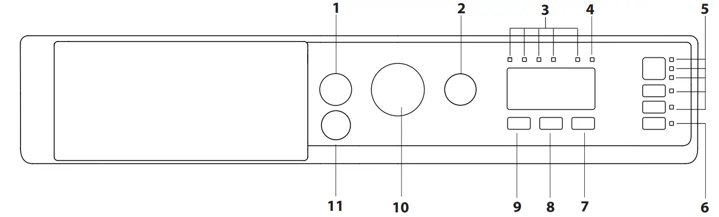
CONTROL PANEL
- ON/OFF button
- START/PAUSE button with indicator light
- WASH CYCLE PROGRESS indicator lights
- DOOR LOCKED indicator light
- FUNCTION buttons with indicator lights
- CHILDLOCK button with indicator light
- DELAY TIMER button
- SPIN button
- TEMPERATURE button
- WASH CYCLE knob
- PUSH & GO button

WASH CYCLE TABLE
| Maximum load 9 kg Power input in off mode 0,5 W / in left-on mode 8 W | Detergents and Additives | Recommended detergent | Residual dampness %(**) | Energy consumption kWh | Total water l | Laundry temperature °C | ||||||||
| Wash cycle | Temperature | Maximum spin (r.p.m.) | Maximum load (kg) | Duration (h : m) | Wash | Fabric softener | Powder | Liquid | ||||||
| Setting | Range | 2 | 3 | |||||||||||
| 1 | Cotton 30° | 30°C | 1000 | 4,5 | 1:40 | – | √ | – | – | – | – | |||
| 2 | Synthetics 30° | 30°C | 1000 | 4,5 | 1:30 | – | √ | – | – | – | – | |||
| 3 | Colours | 30°C | 1000 | 4,5 | 1:35 | – | √ | – | – | – | – | |||
| 4 | Delicates | 30°C | 600 | 1,0 | 1:20 | – | √ | – | – | – | – | |||
| 5 | Rapid 30’ | 30°C | 1000 (***) | 4,5 | 0:30 | – | √ | 71 | 0,2 | 45 | 27 | |||
| 6 | Cotton (2) | 40°C | 1400 | 9,0 | 3:55 | √ | √ | 49 | 1,4 | 105 | 45 | |||
| 7 | Synthetics (3) | 40°C | 1400 | 4,0 | 2:55 | √ | √ | 35 | 0,8 | 55 | 43 | |||
| 8 | Mixed | 40°C | 1400 | 9,0 | 1:45 | – | √ | – | – | – | – | |||
| 9 | Eco 40-60 (1) | 40°C | 40°C | 1351 | 9,0 | 3:48 | √ | √ | 53 | 0,80 | 59 | 35 | ||
| 1351 | 4,5 | 2:54 | √ | √ | 53 | 0,59 | 57 | 34 | ||||||
| 1351 | 2,5 | 2:25 | √ | √ | 53 | 0,35 | 38 | 26 | ||||||
| 10 | White Cotton | 60°C | 1400 | 9,0 | 2:45 | √ | √ | 49 | 0,9 | 90 | 55 | |||
| 11 | Sport | 40°C | 600 | 3,5 | 1:35 | – | √ | – | – | – | – | |||
| 12 | 20°C | 20 °C | 1400 | 9,0 | 1:50 | – | √ | 49 | 0,2 | 90 | 22 | |||
| 13 | Wool | 40°C | 800 | 2,0 | 1:10 | – | √ | – | – | – | – | |||
| 14 | Anti Odour | 40°C | 1000 | 3,5 | 1:45 | – | √ | – | – | – | – | |||
| Rinse + Spin | – | – | 1400 | 9,0 | 0:55 | – | – | – | – | – | – | – | ||
| Spin + Drain * | – | – | 1400 | 9,0 | 0:10 | – | – | – | – | – | – | – | – | |
The cycle duration indicated on the display or instruction manual is an estimate based on standard conditions. The actual duration may vary in relation to several factors, such as the temperature and pressure of the incoming water, ambient temperature, amount of detergent, load quantity and type, load balancing and any additional options selected. The values given for programmes other than the Eco 40-60 programme are indicative only.
- Eco 40-60 – Test wash cycle in compliance with EU Ecodesign regulation 2019/2014. The most efficient programme in terms of energy and water consumption for washing normally soiled cotton laundry.
For all testing institutes: - Long cotton cycle: set cycle 6 at a temperature of 40°C.
- Long synthetics cycle: set cycle 7 at a temperature of 40°C.
Note: for the Eco 40-60 program in the WASH CYCLE TABLE the value of the maximum effective spin is shown.
* By selecting the
cycle and excluding the spin cycle, the washing machine will drain only.
** After programme end and spinning with maximum selectable spin speed, in default programme setting.
*** The display will show the suggested spin speed as default value.
PRODUCT DESCRIPTION
- Top
- Detergent dispenser drawer
- Control panel
- Handle
- Porthole door
- Drain pump
- Adjustable feet (4)

DETERGENT DISPENSER DRAWER
Compartment 1:
Do not insert detergent in this compartment. Compartment 2: Washing detergent (powder or liquid)
Compartment 3: Additives (fabric softener, etc.) The fabric softener must never exceed the “max” level indicated on the central pin.
! Use powder detergent for white cotton garments, for pre-washing, and for washing at temperatures over 60°C.
! Follow the instructions given on the detergent packaging.
WASH CYCLES
Follow the instructions on the symbols of the garment’s wash care label. The value indicated in the symbol is the maximum recommended temperature for washing the garment.
Cotton 30°
A 30°C cycle for cotton garments. It allows for reducing electricity consumption for heating the water while guaranteeing good washing performance. Suitable for lightly soiled garments.
Synthetics 30°
A 30°C cycle for synthetic garments. It allows for reducing electricity consumption for heating the water while guaranteeing good washing results. Suitable for lightly soiled garments.
Colours
A 30°C cycle that helps to preserve colours, suitable for cotton or synthetic coloured garments. It allows for reducing electricity consumption for heating the water while guaranteeing good washing results. Suitable for lightly soiled garments.
Delicates
Suitable for washing very delicate garments. It is advisable to turn the garments inside out before washing them. For best results, use liquid detergent on delicate garments. For washing silk items and curtains, select cycle 4 and activate the
option.
Rapid 30’
For washing lightly soiled garments in a short time. Not suitable for wool, silk and garments to be washed by hand.
Cotton
Suitable for washing towels, underwear, table cloths, etc. made of resistant linen and cotton that are moderately to heavily soiled.
Synthetics
Suitable for washing moderately soiled garments made of synthetic fibres (e.g. polyester, polyacrylic, viscose, etc.) or mixed synthetic-cotton fibres.
Mixed
A 40°C cycle for washing cotton and synthetic garments together. Suitable for lightly soiled underwear.
Eco 40-60
For washing normally soiled cotton garments declared to be washable at 40 °C or 60 °C, together in the same cycle. This is the standard cotton programme and the most efficient in terms of water and energy consumption.
! The cycle runs only at 40°C as per regulation.
White Cotton
For heavily soiled whites and resistant colours.
Sport
A cycle designed for washing lightly soiled sports clothing (tracksuits, shorts, etc.); for best results, we recommend not exceeding the maximum load indicated in the “Wash Cycle Table”. We recommend using liquid detergent and adding the amount suitable for a half-load.
20 °C
For washing lightly soiled cotton garments, at a temperature of 20 °C.
Wool – Wool Care : The wool wash cycle of this machine has been approved by The Woolmark Company for the washing of machine washable wool products provided that the products are washed according to the instructions on the garment label and those issued by the manufacturer of this washing machine. The Woolmark symbol is a Certification mark in many countries.
M2227
Anti odour
Use this cycle (for synthetic fabrics) to wash garments with bad odours (e.g. smoke, sweat, fried food). The cycle is designed to remove bad odours while preserving the fabric fibres.
Rinse + Spin
Designed for rinsing and spinning.
Spin + Drain
Designed to spin and drain the water.
WASH CYCLE PHASE INDICATOR LIGHTS
Once the desired wash cycle has been selected and has begun, the indicator lights switch on one-by-one to indicate which phase of the cycle is currently in progress.
Wash
Rinse
Spin
Drain
End of Wash Cycle
DOOR LOCKED INDICATOR
When lit, the symbol indicates that the door is locked. To prevent any damage, wait until the symbol turns off before opening the door.
To open the door while a cycle is in progress, press the START/PAUSE
button; if the indicator light is off, the door can be opened.
FIRST-TIME USE
Once the appliance has been installed, and before it is used for the first time, run a wash cycle with detergent and no laundry, by setting the “Auto-Clean” cycle.
DAILY USE
Prepare the laundry by following the suggestions appearing under the “TIPS AND SUGGESTIONS” section.
Rapid programming
– Turn the washing machine on by pressing the ON/OFF
button. All the indicator lights will light up for a few seconds, then only the lights corresponding to the settings for the selected wash cycle will remain lit; the START/PAUSE
indicator light will also flash.
– Open the door. Load the laundry while making sure not to exceed the maximum load quantity indicated in the cycle table.
– Pull out the detergent dispenser drawer and pour the detergent into the relevant compartments as described in “DETERGENT DISPENSER DRAWER section”.
– Close the door.
STARTING CYCLE
Press the PUSH & GO button.
The machine will lock the door (
symbol on)and the drum will start to rotate; the door will be unlocked (
symbol OFF) and then locked again (
symbol on) as preparation phase of each washing cycle. The “Clicking” noise is part of the door locking mechanism. Water will enter the drum and start the washing phase once the door is locked.
Traditional programming
– Turn the washing machine on by pressing the ON/OFF
button. All the indicator lights will light up for a few seconds, then only the lights corresponding to the settings for the selected wash cycle will remain lit; the START/PAUSE
indicator light will also flash.
– Open the door. Load the laundry while making sure not to exceed the maximum load quantity indicated in the Wash Cycle Table.
– Pull out the detergent dispenser drawer and pour the detergent into the relevant compartments as described in “DETERGENT DISPENSER DRAWER” section.
– Close the door.
– Set the WASH CYCLE knob to the desired cycle.
– Modify the temperature and/or spin: pressing the
button allows for gradually reducing the temperature down to the cold wash level (20°C). The spin speed may be progressively reduced by pressing the
button, until it is completely excluded (the “
” setting. If these buttons are pressed again, the maximum values are restored.
– Select the desired wash cycle.
– Select the desired options.
STARTING CYCLE
Press the START/PAUSE
button.
The machine will lock the door (
symbol on)and the drum will start to rotate; the door will be unlocked (
symbol OFF) and then locked again (
symbol on) as preparation phase of each washing cycle. The “Clicking” noise is part of the door locking mechanism. Water will enter the drum and start the washing phase once the door is locked.
PAUSING A CYCLE
To pause the wash cycle, press the START/PAUSE
button again; the indicator light will flash . If the
indicator light is not lit, the door may be opened. To start the wash cycle from the point at which it was interrupted, press the START/PAUSE
button again.
OPENING THE DOOR, IF NECESSARY
Once a cycle starts, the
indicator light turns on to signal that the door cannot be opened. While a wash cycle is running, the door remains locked.
To open the door while a cycle is under way, for example, to add or remove garments, press the START/PAUSE
button to pause the cycle; the indicator light will flash . If the
indicator light is not lit, the door may be opened. Press the START/PAUSE
button again to continue the cycle.
CHANGING A RUNNING WASH CYCLE
To change a wash cycle while it is in progress, pause the washing machine using the START/PAUSE
button (the relative indicator light will flash ), then select the desired cycle and press the START/PAUSE
button again.
! To cancel a cycle that has already begun, press and hold the ON/OFF
button. The cycle will be stopped and the machine will switch off.
END OF THE CYCLE
Once the cycle terminates the
indicator light will light up; when the
indicator light switches off, the door may be opened. Open the door, unload the laundry and switch off the machine. If you do not press “ON/ OFF”
button, the washing machine will switch off automatically after about a 10 minutes. Close the water tap, open the door and unload the washing machine. Leave the door ajar to allow the drum to dry.
FUNCTIONS
- If the selected option is not compatible with the set wash cycle, the indicator light will flash and the option will not be activated.
- If the selected option is not compatible with another previously selected option, the indicator light will flash accompanied by a buzzer, and only the latter option will be activated; the indicator light corresponding to the activated option will turn on.
Stain removal
This option allows for selecting the type of dirt so as to optimally adjust the cycle for removing the stains. The following types of dirt can be selected:
Food: for stains caused by foodstuffs and beverages, for example.
Work: for grease and ink stains, for example. –
Outdoor: for mud and grass stains, for example.
! The wash cycle duration varies according to the type of selected dirt.
Extra rinse
By selecting this option, the efficiency of the rinse is increased and optimal detergent removal is guaranteed. It is particularly useful for sensitive skin.
Easy iron
By selecting this function, the wash and spin cycles will be modified in order to limit the formation of creases.
Delay start
To set a delayed start for the selected cycle, press the corresponding button repeatedly until the desired delay period has been reached (3h-6h-9h). When the button is pressed for the fourth time, the option will deactivate. Once the START/PAUSE
button has been pressed, the delay time can only be modified by decreasing it until the set cycle is launched.
Temperature ![]()
Each wash cycle has a predefined temperature. To modify the temperature, press the
button.
Spin 
Each wash cycle has a predefined spin speed. To modify the spin speed, press the
button.
Push & Go
To start the Push & Go cycle press and hold the relative button for 2 seconds. The lit indicator light indicates that the cycle has started.
This wash cycle is ideal for cotton or synthetic fabrics, as it washes at a temperature of 30°C and a maximum spin speed of 1.000 rpm. Max load 3,5 kg (cycle duration 45’).
How does it work?
- Load the laundry (cotton and/or synthetic garments) and close the door.
- Pour the detergent and additives.
- Start the cycle by pressing and holding the Push & Go button for 2 seconds. The relevant indicator light will turn green and the door will lock (
the symbol lights up).
N.B.: starting the wash cycle through the Push & Go button activates an automatic non-customisable cycle recommended for cotton and synthetic fabrics. This cycle does not allow for setting any additional options. To open the door while an automatic cycle is under way, press the START/ PAUSE
button; if the locked door symbol is off, the door may be opened. Press the START/PAUSE
button again to restart the cycle from the point at which it was interrupted. - Once the programme is finished, the
indicator light turns on.
CHILD LOCK 
to activate the control panel lock, press and hold the button for approximately 2 seconds. The lit
symbol signals that the control panel is locked. This prevents wash cycles from being modified accidentally (except for the ON/OFF
button), especially if there are children in the home. To deactivate the control panel lock, press and hold the button for approximately 2 seconds.
TIPS AND SUGGESTIONS
Divide the laundry according to:
Type of fabric (cotton, mixed fibres, synthetics, wool, garments to be hand-washed). Colour (separate coloured garments from whites, wash new coloured garments separately). Delicates (small garments – such as nylon stockings – and items with hooks – such as bras: insert them in a fabric bag).
Empty the pockets:
Objects such as coins or lighters can damage the washing machine and the drum. Check all buttons.
Follow the dosage recommendation / additives
It optimizes the cleaning result, it avoids irritating residues of surplus detergent in your laundry and it saves money by avoiding waste of surplus detergent
Use low temperature and longer duration
The most efficient programmes in terms of energy consumption are generally those that perform at lower temperatures and longer duration.
Observe the load sizes
Load your washing machine up to the capacity indicated in the “PROGRAMME CHART” table to save water and energy.
Noise and remaining moisture content They are influenced by the spinning speed: the higher the spinning speed in the spinning phase, the higher the noise and the lower the remaining moisture content.
CARE AND MAINTENANCE
Before performing cleaning and maintenance, switch the washing machine off and disconnect it from the mains power. Do not use flammable liquids to clean the washing machine. Clean and maintain your washing machine periodically (at least 4 times per year).
Disconnect the water and power supplies
Close the water tap after every wash. This will limit wear on the hydraulic system inside the washing machine and help to prevent leaks.
Unplug the washing machine when cleaning it and during all maintenance work.
Clean the washing machine
The outer parts and rubber components of the appliance can be cleaned using a soft cloth soaked in lukewarm soapy water. Do not use solvents or abrasives.
The washing machine has a “Auto-clean” cycle for its internal parts; it must be run without any load in the drum.
To optimise this cycle, it is possible to use either detergent (10% of the quantity specified for lightly soiled garments) or special additives to clean the washing machine. We recommend running a cleaning cycle every 40 wash cycles.
To start the cycle press buttons
and
simultaneously for 5 seconds.
The cycle will start automatically and will run for about 70 minutes. To stop the cycle, press the START/PAUSE
button.
Clean the detergent dispenser drawer
Wash it under running water; this operation should be repeated frequently.
Care for the door and drum
Always leave the porthole door ajar in order to prevent unpleasant odours from forming.
Check the water inlet hose
Check the water inlet hose at least once a year. If it is cracked or broken, it must be replaced: during wash cycles, the high pressure of the water could suddenly split the hose open.
! Never use hoses that have already been used.
Cleaning the water filter / draining residual water
Switch off and unplug the washing machine, take out the kitchen plinth before cleaning the water filter or draining residual water. The kitchen plinth must be mounted back all the time once the cleaning operation is over. If you used a hot wash programme, wait until the water has cooled down before draining any water. Clean the water filter regularly, to avoid that the water cannot drain after the wash due to obstruction of the filter.
If the water cannot drain, the display indicates that the water filter may be clogged.
- Place a container close to the pump to collect any spillage.
- Remove, pulling it out, the “emergency drain hose” from the base of the washing machine .

Remove the stopper of the “emergency drain hose” at the end of the hose and let the water flow into the container.
- Turn the exhaust filter handle and pull it out of the housing .
When the container of plinth is full with water, plug the stopper to the hose end, and reinsert the small hose in the washing machine’s base .
After, empty the container .
Afterwards firmly close the emergency drain hose with the stopper . - Remove filter: Lay a cotton cloth beneath the water filter, which can absorb a small amount of rest water . Then remove the water filter by turning it out anticlockwise .

- Clean the water filter: remove residues in the filter and clean it under running water .
- Insert the water filter: Reinsert the water filter again by turning it in clockwise direction . Make sure to turn it in as far as it goes; the filter handle must be in vertical position . To test water tightness of the water filter, you can pour about 1 liter of water into the detergent dispenser .

Then reinstall the kitchen plinth.
LOAD BALANCING SYSTEM
Before every spin cycle, to avoid excessive vibrations before every spin and to distribute the load in a uniform manner, the drum rotates continuously at a speed which is slightly greater than the washing rotation speed. If, after several attempts, the load is not balanced correctly, the machine spins at a reduced spin speed. If the load is excessively unbalanced, the washing machine performs the distribution process instead of spinning.
To encourage improved load distribution and balance, we recommend small and large garments are mixed in the load.
TRANSPORT AND HANDLING
Do not lift the washing machine by gripping it from the upper section. Unplug the appliance and close the water tap. Check that the door and detergent dispenser drawer are tightly closed. Detach the filling hose from the water tap then detach the drain hose. Empty all the water remaining in the hoses and secure the latter so that they do not get damaged during transport. Apply the transport bolts back on. Repeat, in reverse order, the transport bolt removal procedure described in the “Health & Safety and Installation Guides”.
TROUBLESHOOTING
The washing machine may occasionally fail to work. Before contacting the Technical Assistance Service, make sure that the problem cannot be easily solved using the following list.
| Anomalies | Possible causes / Solution |
| The washing machine does not start. | The appliance is not plugged into the socket, or not sufficiently to make contact. |
| There is no power in the house. | |
| The wash cycle does not start. | The washing machine door is not closed properly. |
The ON/OFF button has not been pressed. | |
| The START/PAUSE | |
| The water tap has not been opened. | |
| A delay has been set for the start time. | |
| The machine does not fill with water or the indicator light for the first wash cycle stage flashes rapidly. | The water inlet hose is not connected to the tap. |
| The hose is bent. | |
| The water tap has not been opened. | |
| There is no water supply in the house. | |
| The pressure is too low. | |
| The START/PAUSE | |
| The washing machine continuously loads and unloads water. | The drain hose is not fitted between 65 and 100 cm from the floor. |
| The free end of the hose is immersed in water. | |
| The wall drainage system does not have a breather pipe. If the problem persists even after these checks, turn off the water tap, switch the appliance off and contact the Technical Assistance Service. If the home is on one of the upper floors of a building, there may be problems relating to back-siphonage, causing the washing machine to fill with water and drain continuously. Special anti-siphon valves are available in shops and help to prevent this inconvenience. | |
| The washing machine does not drain or spin. | The cycle does not include drainage: with certain cycles it must be started manually. |
| The drain hose is bent. | |
| The drainage duct is clogged. | |
| The washing machine vibrates a lot during the spin cycle. | The drum was not unlocked correctly during installation. |
| The washing machine is not level. | |
| The washing machine is tucked between furniture cabinets and the wall. | |
| The washing machine leaks. | The water inlet hose is not screwed on properly. |
| The detergent dispenser drawer is obstructed. | |
| The drain hose is not properly attached. | |
| The “Options” lights and the START/PAUSE indicator light flash while one of the wash cycle progress and DOOR LOCKED lights are lit in a fixed manner. | Switch off the machine and unplug it, wait for approximately 1 minute and then switch it back on again. If the problem persists, contact the Technical Assistance Service . |
| There is too much foam. | The detergent is not suitable for machine washing (it should be marked with “for washing machine use” or “hand wash and machine wash” or similar). |
| Too much detergent was used. | |
| The Push & Go function does not activate. | After switching on the machine, a control other than Push & Go was activated. Switch the machine off and press the Push & Go button. |
Policies, standard documentation, ordering of spare parts and additional product information can be found by:
- Visiting the website http://docs.indesit.eu and parts-selfservice.indesit.com
- Using QR Code

- Alternatively, contact our technical Assistance Service (See phone number in the warranty booklet). When contacting our After-sales Service, please state the codes provided on your product’s identification plate.
For User’s Repair & Maintenance Information visit www.indesit.com
The model information can be retrieved using the QR-Code reported in the energy label. The label also includes the model identifier that can be used to consult the portal of the registry at https://eprel.ec.europa.eu

























