
GSF SERIES
GALVANIZED SHUTTER FAN
COMPLETE WITH CORD AND PLUG AND PULL CHAIN SWITCH OPERATION INSTRUCTIONS
READ AND SAVE THESE INSTRUCTIONS


Models: GSF3-10A/GSF3-12A/GSF3-14A/GSF3-16A/ GSF3-18A/GSF3-20A/ GSF3-24A/GSF2-30B
WARRANTY
CANARM Ltd. warrants every new fan to be free of defects in material and workmanship to the extent that, within a period of one year from the date of purchase CANARM Ltd. shall either repair or replace at CANARM’s option, any unit or part thereof, returned freight prepaid and found to be defective.
This warranty does not include any labour or transportation costs incidental to the removal and reinstallation of the unit at the user’s premises.
NOTICE: No warranty claims will be honored by CANARM Ltd. unless prior authorization is obtained.
Installation or Product problems? Do not return to store of purchase.
Contact Canarm Service at 1-800-265-1833 (CANADA) 1-800-267-4427 (U.S.A.)
1-800-567-2513 (EN FRANCAIS) Monday to Friday 8:00 – 5:00pm e.s.t.
USER MANUAL
PLEASE READ AND SAVE THESE INSTRUCTIONS
PLEASE READ AND SAVE THESE INSTRUCTIONS. READ CAREFULLY BEFORE ATTEMPTING TO ASSEMBLE, INSTALL, OPERATE, OR MAINTAIN THE PRODUCT DESCRIBED. PROTECT YOURSELF AND OTHERS BY OBSERVING ALL SAFETY INFORMATION. FAILURE TO COMPLY WITH INSTRUCTIONS COULD RESULT IN PERSONAL INJURY AND/OR PROPERTY DAMAGE! RETAIN INSTRUCTIONS FOR FUTURE REFERENCE.
BEFORE YOU BEGIN
WARNING!
Installation, trouble shooting, and replacement of parts are to be performed only by authorized service technicians.
Electrical Requirements:
- The motor amperage and voltage ratings must be checked for compatibility to supply voltage prior to final electrical connection. Please refer to the motor’s nameplate label.
- Wiring must conform to local, state, and national codes.
Tools / Materials NeededNot Included:
- Mounting Fasteners (8)
- Sealant or Caulk
- Regular Screwdriver Set
UNPACKING
Contents:
- Shutter Mounted Exhaust Fan
- User Manual
Inspect:
- After unpacking fan, carefully inspect for any damage that may have occurred during transit. Check for loose, missing, or damaged parts.
- Check all bolts, screws, set-screws, etc. for looseness that may have occurred during transit. Tighten as needed. Rotate propeller by hand to ensure it turns freely.
- See Important Safety Instructions on page 3, and Cautions and Warnings as shown.
IMPORTANT SAFETY INSTRUCTIONS
Fans are UL/CUL Listed, Standard 507.
- Do not depend on any switch as the sole means of disconnecting power when installing or servicing the fan.
- Always disconnect, lock-out, and tag-out power source before installing or servicing. Failure to disconnect power source can result in fire, shock, or serious injury.
- Motor will restart without warning after thermal protector trips. Do not touch operating motor; it may be hot enough to cause injury.
- Do not place body parts or objects in fan or motor openings while motor is connected to the power source.
- All electrical connections should be made by a qualified electrician.
- CAUTION – For General Ventilating Use Only. Do Not Use To Exhaust Hazardous Or Explosive Materials And Vapors.
- Follow all local and state/provincial electrical and safety codes in the United States and Canada, as well as the National Electrical Code (NEC) and the Occupational Safety and Health Act (OSHA) in the United States, and the Canadian Electric Code (CEC) in Canada.
- Always disconnect power source before working on or near a motor or its connected load.
- Protect the power cable from coming in contact with sharp objects.
- Do not kink or create tight bends in the power cable and never allow the cable to come in contact with oil, grease, hot surfaces, or chemicals.
- Make certain that the power source conforms to the requirements of your specific exhaust fan model. The fan frame and motor must be electrically grounded to a suitable electrical ground, such as a grounded water pipe or ground wire system.
- Do not operate any fan with a damaged cord or plug. Discard fan or return to an authorized service facility for examination and/or repair.
- Do not cover cord with throw rugs, runners, or similar coverings. Do not route cord under furniture or appliances. Arrange cord away from traffic area and similar danger locations.
- The discharge air is to be directed to the building exterior.
Thermal Protection.
INSTALL IN INTERIOR WALL.
CAUTION – MOUNT WITH THE LOWEST MOVING PARTS AT LEAST 2.5 m (8.2 ft) ABOVE FLOOR OR GRADE LEVEL.
CAUTION: HOT SURFACE. AVOID CONTACT.
WARNING – For indoor use only.
WARNING – To reduce the risk of electric shock, do not expose to water or rain.
WARNING – To reduce the risk of fire or electric shock, do not use this fan with any solid-state speed control device.
Suitable for commercial or industrial use only.
INSTALLATION INSTRUCTIONS
WARNING - TO REDUCE THE RISK OF FIRE, ELECTRIC SHOCK, OR INJURY TO PERSONS, OBSERVE THE FOLLOWING:
a) Use this unit only in the manner intended by the manufacturer. If you have questions, contact the manufacturer.
b) Before servicing or cleaning unit, switch power off at service panel and lock the service disconnecting means to prevent power from being switched on accidentally. When the service disconnecting means cannot be locked, securely fasten a prominent warning device, such as a tag, to the service panel.
c) Installation work and electrical wiring must be done by qualified person(s) in accordance with all applicable codes and standards, including fire-rated construction.
d) Sufficient air is needed for proper combustion and exhausting of gases through the flue (chimney) of fuel burning equipment to prevent back drafting. Follow the heating equipment manufacturer’s guideline and safety standards such as those published by the National Fire Protection Association (NFPA), and the American Society for Heating, Refrigeration and Air Conditioning Engineers (ASHRAE), and the local code authorities.
e) When cutting or drilling into wall or ceiling, do not damage electrical wiring and other hidden utilities.
1. The unit should be only securely mounted on the wooden plank.
NOTE: Allowing the fan frame to flex or move will result in excess vibrations, which may cause possible premature motor, propeller, or shutter failure.
2. Install the shutter fan through 8 holes with screws. (Screws are not included.)
Install a wooden plank


- Screws
- 8 Holes
| Minimum Thickness | Fan Model | Screw Size | Screw Picture | |
| Wooden Plank | 10mm | All Models | 3/16″ x 1-1/4″ | ![]() |
3. Please ensure that the fan is installed such that there is adequate space around the fan, so that the intake air is not restricted.

WARNING: This fan is recommended to be mounted by a qualified electrician.
Fan frame and motor must be securely and adequately grounded to a suitable electrical ground, such as a ground water pipe or ground wiring system.
Wiring Diagram
Thermostat Temperature Range: 32°F~130°F (0°C~54°C)
For GSF3-10A / GSF3-12A / GSF3-14A

For GSF3-16A

For: GSF3-18A

For: GSF3-20A/ GSF3-24A

For: GSF2-30B

| Power source | 115V, 60Hz |
| Mounting Position | Vertical |
| Frame Material | Galvanized Steel |
| Shutter Blade Material | Aluminum Alloy |
| Propeller Material | Aluminum Alloy and Galvanized Steel |
| Agency Compliance | UL/CUL 507 |
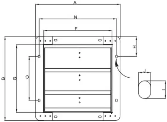
Dimensions (Inches)




For: GSF3-10A/GSF3-12A/GSF3-14A

For: GSF3-16A / GSF3-18A / GSF3-20A / GSF3-24A / GSF3-30B

Performance

OPERATING INSTRUCTIONS
- Keep the area free of objects that could impede air flow on both the intake and exhaust side of fan.
- For proper exhaust operation, a window, door, or louver should be opened for fresh air intake on the opposite side of the area to be ventilated.
- Connect power plug to any standard 115-volt AC outlet. Caution: Make sure the Speed Control is in the OFF position.
- Use the pull chain switch to select the desired operating speed. The speed runs as HIGH—MID—LOW— OFF.
- Press the Thermostat Switch on, select a thermostat setting. Ambient temperature is regulated by adjusting the thermostat to a desired position. To set, allow the unit to operate and cool down the room. When the desired temperature is reached, turn the control knob just until the fan turns off. This is your ideal setting. The fan will start automatically when the room temperature raise above this set point, and will turn off when the set point is reached.

A. Thermostat Switch
B. Thermostat Knob
C. Pull Chain
Thermostat control panel

GSF3-10A / GSF3-12A / GSF3-14A
GSF3-16A
GSF3-18A
GSF3-20A
GSF3-24A
GSF2-30B
MAINTENANCE
- Disconnect power source before servicing.
- Periodically clean off accumulated dirt from the propeller, guard, motor, and shutter.
Do not depend on any switch as the sole means of disconnecting power when installing or servicing. If power disconnect is not visible, utilize OSHA Lock out/Tag out procedure.
Failure to do so may result in fatal electrical shock.
Employ proper lock-out/tag-out procedures when performing maintenance.
TROUBLESHOOTING
| Symptom | Possible Cause(s) | Solution |
| Excessive noise | Loose propeller | Tighten set screws on propeller hub. |
| Bent or damaged propeller | Replace propeller | |
| Loose guard assembly or motor fasteners. | Tighten as required to 15-20 lbs. per inch. | |
| Fan inoperative | Blown fuse or open circuit breaker | Replace fuse or reset circuit breaker |
| Defective motor | Replace motor | |
| Switch in OFF position | Turn switch ON | |
| Insufficient air flow | Blocked intake or exhaust opening | Clear intake and exhaust openings of any obstructions. Clean motor, guard, propeller, and shutter assembly. Increase the opening of the fresh air intake. |
| Low voltage | Check electrical wiring. | |
| Speed control set too low | Increase speed with controller |
Canarm Ltd. – Corporate Head Office 2157 Parkedale Avenue, PO Box 367 Brockville, Ontario Canada K6V 5V6
Tel: (613) 342-5424; Fax: (613) 342-8437 www.canarm.com [email protected]
GSF-M-04_08_22


















