CANARM CF-24C Downrod Mount Series Fan

TOOLS AND MATERIALS REQUIRED
- Philips Screw Driver
- Blade Screw Driver
- Wiring supplies as required by electrical code.
NOTE: FOR OPTIMUM QUIETNESS, FULLY ASSEMBLE FAN AND RUN 24 HOURS
SAFETY PRECAUTIONS
- Turn off power at main electrical service box before starting installation
- Electrical connections must comply with local code ordinances, national electrical codes, CEC, NEC and ANSI/NFPA 70.
- Make sure the installation site you choose allows the fan blades to rotate freely without any obstructions.
- When mounting the fan on a ceiling outlet box, Use an approved (CSA for Canada and UL for U.S.) ceiling fan box marked “FOR FAN SUPPORT”. Ensure the outlet box is securely installed in place such that it is able to support at least the fan weight.
- WARNING: To reduce the risk of fire, electric shock, or other personal injury, mount fan only on an outlet box or supporting system marked acceptable for fan support of 35 lbs (15,9 kg) or less and use the mounting screws provided with the outlet box. Most outlet boxes commonly used for the support of lighting fixtures are not acceptable for fan support and may need to be replaced. Consult a qualified electrician if in doubt.
- Total Fan Weight For Reference: 24″approximate 8.5 kgs(18.74lbs).
WARNING
- Used Batteries must be disposed of according to your local recycling regulations, many retail outlets provide special battery recycling drop off boxes.
- Do not mix battery types or voltages to avoid personal injury and/or damage to the fan and remote control.
- WARNING: TO REDUCE THE RISK OF INJURY TO PERSONS, ENSURE THE FAN LOWER COVER IS SECURELY ATTACHED ON THE FAN UPPER COVER BEFORE USE
- DO NOT operate reversing switch while fan blades are in motion.
- WARNING: TO REDUCE THE RISK OF FIRE, ELECTRIC SHOCK, OR PERSONAL INJURY, MOUNT TO OUTLET BOX MARKED ACCEPTABLE FOR FAN SUPPORT AND USE MOUNTING SCREWS PROVIDED WITH THE OUTLET BOX.
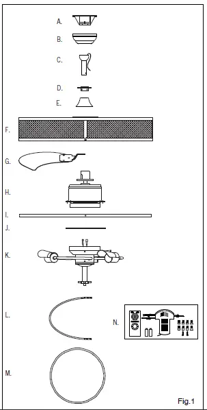
ASSEMBLY DRAWING
- A. Mounting Bracket
- B. Canopy
- C. Downrod Assembly
- D. Upper Connector
- E. Yoke Cover
- F. Fan Upper Cover
- G. Fan Blade
- H. Fan Motor Assembly
- I Fan Lower Cover
- J. Retainer Ring
- K. Light Kit
- L. C Tube
- M. Circle Ring
- N. Remote Control
ATTACH THE FAN BLADES
- Insert the blade arm into the fan as shown.
- Attach the blades to the fan motor assembly using the motor screws.

INSTALLATION
NOTE: All set screws must be checked and retightened where necessary, before and after installation
- Install the upper cover to the yoke by tightening the 6 upper cover screws.
- Install the lower cover to the upper cover by tightening the 4 lower cover screws.
- Install the retainer ring to the fan motor by tightening the 4 retainer ring screws.

LIGHT KITS
DETACHABLE LIGHT KITS (Refer to one of the following light kits for your model)
- Remove light kit screws and washers.
- Connect polarized connectors of light kit to corresponding connectors found in switch housing.
LIGHT KITS
WARNING: BE SURE TO TURN OFF POWER BEFORE INSTALLING
- Carefully tuck electrical wires back into switch housing, align light kit with switch housing and secure with three light kit screws and washers.
WARNING: To reduce the risk of injury to persons, ensure the fan lower cover is securely attached on the fan upper cover before use.
MOUNTING DOWNROD MOUNT
- Remove cotter pin and bolt from yoke (see fig.5a).
- Loosen jam screw in yoke until it is flush with the inside surface (see fig.5b).
- Obtain downrod and yoke cover.
- Place downrod inside yoke cover (see fig.5f).
- Route wires exiting motor through yoke cover and downrod (see fig.5c).
- Insert bolt through hole in shaft and downrod. Be careful not to damage or cut the fan wires (see fig.5d).
- Tighten flat washer and bolt. Secure with cotter pin through hole in the end of the bolt (see fig.5d).
- Secure downrod in position by tightening jam screws. Slide yoke cover down so it is flush with the motor housing (see fig.5e and 5f).
- Slide the upper connector onto the downrod (see fig.5f).

- Place the circle ring into the center of the fan.
- Tighten the C tube to the lower connector first and then insert the C tube to the upper connector.
- Tighten with star washers and upper and lower connector screws.
- Tighten the C tube to the circle ring with hex nuts, lock washers and circle ring screws.
- Repeat the 2nd, 3rd and 4th C tube as above.

- Tighten the upper connector with upper connector jam screws.
- Ensure to tighten these 2 jam screws to avoid possible noise.
- Route wires exiting motor through canopy and ball. Secure the ball to the downrod with pin and screw
- Install the decorative cap and finial.
- Install specified bulb type and wattage.
INSTALL MOUNTING BRACKET
WARNING: To Reduce The Risk Of Fire, Electric Shock, Or Personal Injury, Mount To UL/CSA Listed Outlet Box Marked Acceptable for Fan Support And Use Mounting Screws Provided With The Outlet Box.
- Install J-Hook through centre of outlet box and into the wooden joist.
- Secure mounting bracket and rubber gaskets to outlet box.
- Hang the safety cable onto the J-hook.
- Hang fan on temporary hook and install safety cable.

ELECTRICAL HOOK-UP
Make the following wire connections using the wire nuts supplied.
a To the household supply wires
Connect the following 4 GREEN wires to the GREEN supply wire.
- GREEN wire from the downrod
- GREEN wire from the receiver
- GREEN wire from the motor
- GREEN wire from the mounting bracket
Connect BLACK receiver unit wire to BLACK supply wire.
Connect WHITE receiver unit wire to WHITE supply wire.
b To the light wires
Connect WHITE receiver wires to the WHITE wire from motor.
Connect BLUE receiver wires to the BLUE wire from motor.
c To the fan wires
Connect RED receiver wires to the RED wire from motor.
Connect GREY receiver wires to the GREY wire from motor.
Connect PINK receiver wires to the PINK wire from motor.
- After making the wire connections, ensure the wires should be spread apart with the grounded conductor and the equipment-grounding conductor on one side of the outlet box and the ungrounded conductor on the other side of the outlet box.
- Ensure the splices after being made should be turned upward and pushed carefully up into the outlet box.
- Make sure no bare wire is visible at the wire nuts.
- Use a cable tie supplied to tighten each group of wires for easy installation.
NOTE: Once ground wires are connected, carefully tuck all wires and wire nuts into the metal outlet box making sure that the wires are clear of the hemisphere and downrod when positioned in mounting bracket.
ELECTRICAL HOOK-UP
- Push all connected wires up into ceiling box.
- Position the receiver into the canopy as shown direction.
TRANSMITTER (REMOTE)
- Learning code and matching mode is used between transmitter and receiver.
- Turn “ON” the supply power. Within 30 seconds, press “FAN ON/OFF” button on the transmitter for 5 seconds. Transmitter and receiver are connected after hearing a long “beep”.
- If the transmitter cannot control the fan, check to ensure all wiring connections are properly connected according to the instruction manual. Check to ensure the batteries are in the right position. Check whether there are any similar remote controls in use nearby. Check whether they work with the same frequency.
- Low voltage of battery will affect the sensitivity of the transmitter.
The indicator light will flash when battery voltage is low. Replace the batteries for better performance. - Take out the batteries from the transmitter when leaving unused for long periods of time.
REMOTE CONTROL
- LED indicated light
- ON/OFF the fan
- Speed of the fan (①low speed – ⑤high speed)
- Timing control of the fan
- Short press: ON/OFF the light
- Direction of the fan (reverse switch)
- Long press(hold for 3 seconds): Dimming
- Two 1.5V AAA Batteries
MOUNTING FAN ASSEMBLY
- Place two screws and washers on mounting bracket (marked B on diagram) which correspond with slots in canopy. Screw in two turns.
- Position canopy to mounting plate aligning slots to screws (marked B on diagram) then turn to lock.
- Position and tighten the two screws and washers (marked A on diagram) then tighten the two screws (marked B on diagram).
ENGAGE HEMISPHERE (Downrod Mount Only)
- Carefully rotate fan assembly until groove in hemisphere locks over tab of canopy assembly.
WARNING: Failure to seat tab in groove could cause damage to electrical wires and possible shock or fire hazard.
NOTE: When installing fan on sloped ceiling, make sure tab on hanger bracket faces towards the top of the slope. Depending on the slope, a longer downrod may be required to prevent fan blades from hitting the ceiling.
WARNING: Ensure that all connections, set screws and screws are securely tightened before the next step. To clean the fixture, turn off the power, wait for it to cool, and wipe the fixture with a clean, soft cloth.
TROUBLESHOOTING
Fan will not start
- Check wiring connections to fan.
- Check fuses and circuit breakers.
- Check wiring connections in switch housing.
CAUTION: Turn power off for last two items.
Fan sounds noisy
- Check to make sure that all screws in motor housing are snug.
- Check to make sure that blade bracket screws are tight.
- Check to make sure that wire nut in switch housing are not rattling against wall of switch housing.
- If fan has a light kit make sure switch housing screws and set screws are tight.
- Some fan motors are sensitive to signals from solid state variable controls. If solid state controller is used, change to an alternative control. (See a representative for a list of available controls.)
- Allow a 24 hour break in period to eliminate most noises.
Fan wobbles or shakes excessively
- Check that all blades are screwed firmly into blade brackets.
- Check that blade brackets are secured firmly to motor.
- Check distance from tip of blades to ceiling.
- Check distance between blade tip to blade tip. All measurements should be equal. Loosen blade screws and position blade until even then re-tighten.
- Check that the downrod hemisphere notch is engaged in canopy.
- Check to make sure that jam screws in downrod are tightened.
- Make sure canopy and mounting bracket are tightened securely to wooden joist.
- Make sure warpage has not occurred in wooden blades. If so, contact the customer service department for replacement parts.
Supplier’s Declaration of Conformity 47 CFR § 2.1077 Compliance Information
Unique Identifier: CANARMNA
Responsible Party
CanarmInc.
808 Commerce Park Drive, Ogdensburg, New York, USA 13669 1-800-267-4427
This equipment has been tested and found to comply with the limits for a Class B digital device, pursuant to Part 15 of the FCC Rules. These limits are designed to provide reasonable protection against harmful interference in a residential installation. This equipment generates, uses and can radiate radio frequency energy and, if not installed and used in accordance with the instructions, may cause harmful interference to radio communications. However, there is no guarantee that interference will not occur in a particular installation. If this equipment does cause harmful interference to radio or television reception, which can be determined by turning the equipment off and on, the user is encouraged to try to correct the interference by one or more of the following measures:
- Reorient or relocate the receiving antenna.
- Increase the separation between the equipment and receiver.
- Connect the equipment into an outlet on a circuit different from that to which the receiver is connected.
- Consult the dealer or an experienced radio/TV technician for help.
CAUTION:
Any changes or modifications not expressly approved by the grantee of this device could void the user’s authority to operate the equipment. This device complies with Part 15 of the FCC Rules. Operation is subject to the following two conditions: (1) This device may not cause harmful interference, and (2) this device must accept any interference received, including interference that may cause undesired operation.
This device contains licence-exempt transmitter(s)/receiver(s) that comply with Innovation, Science and Economic Development Canada’s licence-exempt RSS(s). Operation is subject to the following two conditions:
- This device may not cause interference.
- This device must accept any interference, including interference that may cause undesired operation of the device.
5 YEAR LIMITED WARRANTY
“Thank you” for purchasing our product. It is our policy to furnish you with high quality products at a fair price. With proper installation your fan should provide you with years of money saving comfort.
This fan is guaranteed to be free from defects in workmanship and Material for a period of five (5) years from date of purchase. Within the first (1) year from date of purchase any defective product should be returned to your RETAIL OUTLET along with proof of purchase. For the balance of the warranty, four (4) years, the MOTOR WINDINGS ONLY shall be free of defects. We will correct such defects or replace the motor assembly at our option if the product is returned, FREIGHT PREPAID , to us. The returned fan must be accompanied by your proof of purchase and a cheque for $20.00 for handling and labour charges.
All costs of removing and re-installing the product are YOUR RESPONSIBILITY damage to any part as such by accident, misuse, improper installation or by affixing any accessories IS NOT covered by this warranty. As a result of varying climatic conditions in our area this warranty does not cover any changes in finishes, including rusting, pitting, corroding, tarnishing or peeling. WARRANTY VOID: In cases of alteration, abuse, installation not in accordance with instructions or REMOVAL of the C SA Sticker. 11/16
2157 Parkedale Ave., Brockville, Ontario K6V 5V6
PH: (613) 342-5424 FX: (613) 342-8437
2555 Rue Bernard Lefebvre Laval, Quebec H7C 0A5
PH: (450) 665-2535 FX: (450) 665-0910






















