VCC LED Mounting Clip For T1-3-4 5mm LEDs

Description and Features
Series 4303MC
- This attractive and economical mounting clip installs quickly and provides secure mounting for T-1 high dome LEDs such as 4303F and 4300F Series.
- Material: Black polypropylene
- Mounting Hole: Ø 0.169” (4.3mm) in panels 0.06”/0.08” thick.
Series 4304MC
- This attractive and economical mounting clip installs quickly and provides secure mounting for T-1 3/4 high dome LEDs such as 4301H, 4304H, 4305H or 4308H Series.
- Material: Black polypropylene
- Mounting Hole: Ø 0.254”/0.261” in panels 0.060”/0.105” thick.
Product Dimensions
Series 4303MC
Note: use with “F” Series LEDs
Tolerance: + 0.01” unless otherwise specified
Series 4304MC
Note: use with “H” Series LEDs
Tolerance: + 0.01” unless otherwise specified
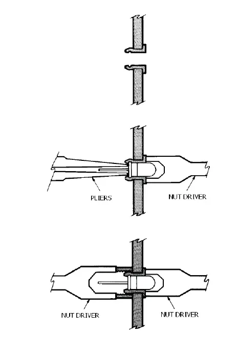
Mounting Instructions
Compliances and Approvals
your first call for illuminated components
www.vcclite.com
1.800.522.5546
08/17 Rev 1




















