KB300 Surface Mounted Baby Changing Station
Instruction Manual
Koala Kare Products
Installation & Operations Instructions
Cambiador Plegable
KB300 Surface Mounted Baby Changing Station
KB300
Surface-Mounted
Baby Changing Station
Important. Retain for future reference. Read carefully.
The KB300 Baby Changing Stations have been designed to meet the following applicable provisions of the 2010 ADA Standards (ADAS) and the 2009/2017 International Code Council (ICC) A117.1 Standards when properly installed and maintained. To comply with these accessibility requirements the unit must be installed in a compliant location and height in accordance with the installation instructions. You are responsible for the safe operation of this unit.
Please Note
To assure proper installation, it is suggested that a qualified person or carpenter install the Koala Baby Changing Station. Koala Kare Products will not be responsible if the station is not installed properly. Koala Baby Changing Stations have been tested to hold a substantial static load. The unit must be attached to a permanent wall that is capable of holding a substantial load. The maximum recommended total weight for this baby changing station is 11 kg. Excessive weight may cause a hazardous or unstable condition to exist.
Inspection Criteria
A properly maintained baby changing station:
- Opens and closes smoothly.
- Has a functioning strap and buckle. Strap is held firmly in place when buckle is depressed over it.
- Offers parents liners through a fully stocked liner dispenser. (Dispenser built into unit.)
- Provides a clean, convenient place for customers to attend to their children.
Restraint System
Check strap by releasing the lever on the buckle and pulling one end of the strap up through the bottom of the buckle, depressing the lever when the strap is tight. Give the strap a tug in the horizontal direction away from the buckle, checking that the strap remains in place beneath the buckle. To loosen the strap, release the lever and pull the strap from the bottom of the buckle.
12221:2008+A1:2013
WARNING: Do not leave child unattended. All assembly fittings shall always be correctly tightened and checked regularly.
Be aware of the risk of open fire and other sources of strong heat, such as electric bar fires, gas fires, etc. in the near vicinity of the changing unit.
Do not leave the child unattended. The changing unit is intended for infants age up to 12 months, with a maximum weight of 11 kg. Do not use changing unit if any parts are broken or missing.
A changing pad is not required for this product.
Additional or replacement parts shall only be obtained from the manufacturer or distributor.
Unit should be cleaned once or more daily with a clean nylon brush and spray disinfectant.
WARNING
Do not leave the child unattended.
The changing unit is intended for infants up to 12 months of age, with a maximum weight of 11kg.
Koala Kare Products, A Division of Bobrick 6982 S.
Quentin Street Centennial, CO 80112
PH 888-733-3456 www.koalabear.com P/N 174
Replacement Parts
For a list of replacement parts for this product, (such as straps, shocks and labels) please visit www.koalabear.com.
Replacement parts and additional liners can be purchased from your local distributor or direct from Koala at www.koalabear.com.
Tools Needed

Hardware Provided

Scan the QR code to view the installation video and to find product resources. Also available at:
www.koalabear.com/product-catalog/kb300/
*Diagrams are not to scale.
Step 1:
- Inspect contents and remove changing station from the shipping container and check for any freight damage. If damage is found, please call Koala Kare Products’ Customer Service at 888.733.3456.
- Identify the best location for installing the unit.
Step 2:
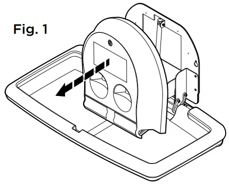
- Remove the bed and chassis from the box. Open the main unit by pulling up on the frame and remove the plastic liner dispenser. Set it to one side. Fig. 1

- Make sure you have taken into consideration the operating clearance of 9 3/8″ (238mm) on both sides of the exposed chassis and 21 1/8″ (537mm) from wall surface when open.
For Wood Stud Wall
- Measure from the floor 37 7/16″ (951mm) on stud center and mark the wall. The mounting holes are designed for 16″ (406mm) stud centers. Ensure the locations you have marked for the mounting holes are level before drilling. Fig. 2 Drill pilot holes for keyhole mounting using a 1/8″ regular drill bit.

- If the wall has wooden studs that are not on 16″ (406mm) centers, you will need to use toggles to secure one side of the unit. The other side should be secured to the stud using the screws provided. You must allow for space inside the wall for the toggles to turn. This will vary depending on the toggles used.
For Masonry or Tile over Stud Wall
- Use a 7/32″ (5mm) masonry drill bit for the pilot hole until you hit the stud. Change bit to 1/8″ (3mm) regular drill bit.
For Metal Stud or Concrete Block
- If the wall has metal studs or an underlying surface of concrete block, you will need to use toggles to secure one side of the unit. The other side should be secured to the stud using the screws provided. You must allow for space inside the wall for the toggles to turn. This will vary depending on the toggles used.
Step 3:
- Mount bed and chassis by screwing two of the mounting screws into the pilot holes leaving 1/4″ (6.4mm) exposed to allow keyhole slots to be easily mounted over the
screw heads. Fig. 3
- Place chassis over screws. Fig. 4

- After securing the unit using the keyhole slots, verify that the unit is level. Tighten top two screws so that they are flush with the wall.
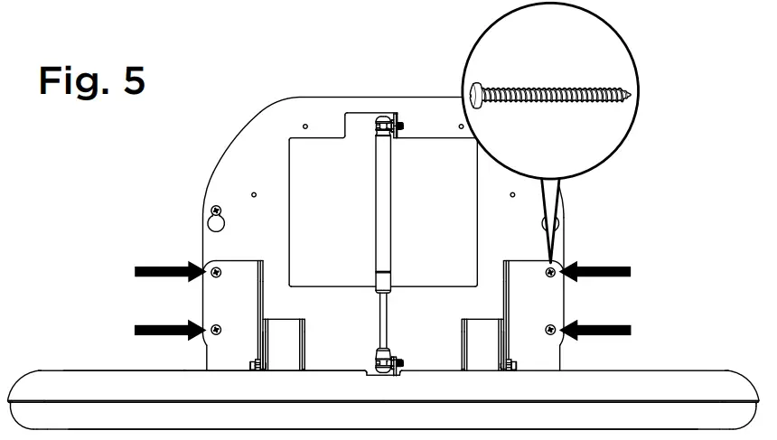
- Use the four lower holes as a guide to mark and drill pilot holes. Use remaining four screws and four washers to complete installation of bed and mounting bracket. Insert washers over lower four screws. Fig. 5

- All six screws and four washers must be properly mounted to the chassis.
Step 4:
- To install liner dispenser ensure liner dispenser is free from damage. Remove key, unlock, and open liner dispenser lid. This will expose liner dispenser mounting holes.
- Line up dispenser mounting holes onto chassis and secure with the four screws provided. Fig. 6 Close and lock the liner dispenser door.

Step 5:
- Clean work area and inspect unit to ensure it opens and closes smoothly.
Koala Kare Products
A Division of Bobrick
6982 South Quentin Street, Centennial, CO 80112-3945
Main: 303.539.8300 | Toll Free: 888.733.3456 | Fax: 303.539.8399
Website: koalabear.com | Email: [email protected]
©2023 Koala Kare Products, Form No. P/N 300-80 KB300_EN February 2023

























