
Koala Kare Products
Installation & Operations Instructions
KB301
Surface-Mounted
Baby Changing Station
Important. Retain for future reference. Read carefully.
The KB301 Baby Changing Stations have been designed to meet the following applicable provisions of the 2010 ADA Standards (ADAS) and the 2009/2017 International Code Council (ICC) A117.1 Standards when properly installed and maintained. To comply with these accessibility requirements the unit must be installed in a compliant location and height in accordance with the installation instructions.
You are responsible for the safe operation of this unit.
This page intentionally left blank.
Please Note
To assure proper installation, it is suggested that a qualified person or carpenter install the Koala Baby Changing Station. Koala Kare Products will not be responsible if the station is not installed properly. Koala Baby Changing Stations have been tested to hold a substantially static load. The unit must be attached to a permanent wall that is capable of holding a substantial load. The maximum recommended total weight for this baby changing station (including baby and parcel bag) is 50lbs. Excessive weight may cause a hazardous or unstable condition to exist.
Inspection Criteria
A properly maintained baby changing station:
- Opens and closes smoothly.
- Has a functioning strap and buckle. The strap is held firmly in place when the buckle is depressed over it.
- Offers parents liners through a fully stocked liner dispenser. (Dispenser built into the unit.)
- Provides a clean, convenient place for customers to attend to their children.
Restraint System
Check strap by releasing the lever on the buckle and pulling one end of the strap up through the bottom of the buckle, depressing the lever when the strap is tight. Give the strap a tug in the horizontal direction away from the buckle, checking that the strap remains in place beneath the buckle. To loosen the strap, release the lever and pull the strap from the bottom of the buckle.
Cleaning and Maintenance
We recommend that the surface of the unit be cleaned prior to disinfecting. Use a clean nylon brush to loosen and remove soil from the textured surfaces or a rag. We recommend that you use disinfectants and detergents that do not contain overwhelming fragrances that can mask inappropriate smells.
ASTM F2285-04 (2016)
WARNING: Never leave the child unattended.
WARNING: Avoid serious injury from falling or sliding out. Always use a restraint system.
WARNING: Designed for Infants Only. Age up to 3.5 years and weighing less than 50 lb (22.7 kg). Keep one hand on the child at all times.
WARNING: Parcels or accessory items, or both, placed on the unit may cause the unit to become unstable.![]()
Replacement Parts
For detailed instructions and a list of replacement parts for this product, (such as straps, shocks and labels) please visit www.koalabear.com.
Replacement parts and additional liners can be purchased from your local distributor or direct from Koala at www.koalabear.com.
ADA Requirements
Additional information on how this product complies with ADA requirements can be found in the KB300 & KB301 Baby Changing Stations Accessibility Compliance document on www.koalabear.com.
Tools Needed
Hardware Provided
Scan the QR code to view the installation video and to find product resources. Also available at: www.koalabear.com/product-catalog/kb301/
http://www.koalabear.com/product-catalog/kb301/
Step 1:
- Inspect contents and remove changing station from the shipping container and check for any freight damage. If damage is found, please call Koala Kare Products’ Customer Service at 888.733.3456.
- Identify the best location for installing the unit.
Step 2:
- Remove the bed and chassis from the box. Open the main unit by pulling up on the frame and removing the plastic liner dispenser. Set it to one side. Fig. 1
- Make sure you have taken into consideration the operating clearance of 1 3/4″ (45mm) on both sides of the exposed chassis and 36 5/8″ (238mm) from wall surface when open.

For Wood Stud Wall
- Measure from the floor 37 7/16″ (951mm) on the stud center and mark the wall. The mounting holes are designed for 16″ (406mm) stud centers. Ensure the locations you have marked for the mounting holes are level before drilling. Fig. 2 Drill pilot holes for keyhole mounting using a 1/8″ regular drill bit.
- If the wall has wooden studs that are not on 16″ (406mm) centers, you will need to use toggles to secure one side of the unit. The other side should be secured to the stud using the screws provided. You must allow for space inside the wall for the toggles to turn. This will vary depending on the toggles used.
For Wood Stud Wall
- Measure from the floor 37 7/16″ (951mm) on the stud center and mark the wall. The mounting holes are designed for 16″ (406mm) stud centers. Ensure the locations you have marked for the mounting holes are level before drilling. Fig. 2 Drill pilot holes for keyhole mounting using a 1/8″ regular drill bit.
- If the wall has wooden studs that are not on 16″ (406mm) centers, you will need to use toggles to secure one side of the unit. The other side should be secured to the stud using the screws provided. You must allow for space inside the wall for the toggles to turn. This will vary depending on the toggles used.
- Measure from the floor 37 7/16″ (951mm) on the stud center and mark the wall. The mounting holes are designed for 16″ (406mm) stud centers. Ensure the locations you have marked for the mounting holes are level before drilling. Fig. 2 Drill pilot holes for keyhole mounting using a 1/8″ regular drill bit.
- If the wall has wooden studs that are not on 16″ 406mm) centers, you will need to use toggles to secure one side of the unit. The other side should be secured to the stud using the screws provided. You must allow for space inside the wall for the toggles to turn. This will vary depending on the toggles used.

For Masonry or Tile over Stud Wall
- Use a 7/32″ (5mm) masonry drill bit for the pilot hole until you hit the stud. Change the bit to a 1/8″ (3mm) regular drill bit.
For Metal Stud or Concrete Block
- If the wall has metal studs or an underlying surface of concrete block, you will need to use toggles to secure one side of the unit. The other side should be secured to the stud using the screws provided. You must allow for space inside the wall for the toggles to turn. This will vary depending on the toggles used.
Step 3:
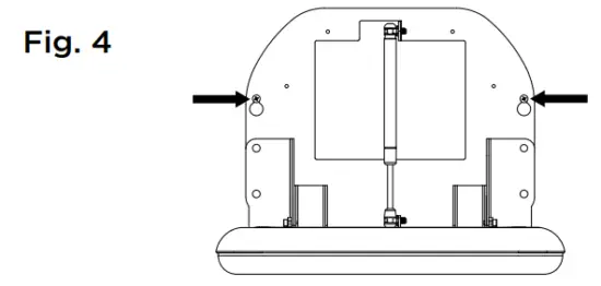
- Mount bed and chassis by screwing two of the mounting screws into the pilot holes leaving 1/4″ (6.4mm) exposed to allow keyhole slots to be easily mounted over the screw heads. Fig. 3
- Place chassis over screws. Fig. 4
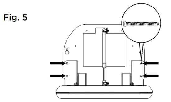
- After securing the unit using the keyhole slots, verify that the unit is level. Tighten top two screws so that they are flush with the wall.
- Use the four lower holes as a guide to mark and drill pilot holes. Use the remaining four screws and four washers to complete the installation of bed and mounting bracket. Insert washers over the lower four screws. Fig. 5
- All six screws and four washers must be properly mounted to the chassis.



Step 4:
- To install the liner dispenser ensures the liner dispenser is free from damage. Remove key, unlock, and open liner dispenser lid. This will expose liner dispenser mounting holes.
- Line up dispenser mounting holes onto chassis and secure with the four screws provided. Fig. 6 Close and lock the liner dispenser door.
Step 5:
- Clean work area and inspect unit to ensure it opens and closes smoothly.

Step 6:
- To install the bag hook, measure up 44″ (1118mm) from the finished floor in the desired location and mark the wall.
- Position the bag hook on the wall so that the top of the mounting plate is level with the 44″ (1118mm) mark.
- Position the bag hook over a wall stud for optimal strength.
- Mark then predrill the mounting holes. Fig. 7
- Use the provided screws to secure the bag hook in position, then take the escutcheon plate and screw it over the mounting plate to cover the mounting screws. Fig. 8

Koala Kare Products
A Division of Bobrick
6982 South Quentin Street, Centennial, CO 80112-3945
Main: 303.539.8300 | Toll Free: 888.733.3456 | Fax: 303.539.8399
Website: koalabear.com | Email: [email protected]
©2021 Koala Kare Products, Form No. P/N 301-4 KB301_ASTM June 2021



















