Koala Kare KB300 Surface Mounted Baby Changing Station

KB300 Surface-Mounted Baby Changing Station
The KB300 Baby Changing Station is designed to meet the accessibility requirements of the 2010 ADA Standards and the 2009/2017 ICC A117.1 Standards when properly installed and maintained.
Product Information
- Dimensions: 37 7/16″ x 16″ (951mm x 406mm)
- Weight Limit: Up to 50 lb (22.7 kg)
- Age Range: Infants up to 3.5 years old
- Restraint System: Must always be used to avoid serious injury from falling or sliding out
Please Note
To assure proper installation, it is suggested that a qualified person or carpenter install the Koala Baby Changing Station. Koala Kare Products will not be responsible if the station is not installed properly. Koala Baby Changing Stations have been tested to hold a substantial static load. The unit must be attached to a permanent wall that is capable of holding a substantial load. The maximum recommended total weight for this baby changing station (including baby and parcel bag) is 50lbs. Excessive weight may cause a hazardous or unstable condition to exist.
Tools Needed

Hardware Provided
Scan the QR code to view the installation video and to find product resources. Also available at: www.koalabear.com/product-catalog/kb300/

Usage Instructions
- Inspect the unit prior to use to ensure it is in good condition and functioning properly.
- Before placing your child on the unit, check the restraint system by releasing the lever on the buckle and pulling one end of the strap up through the bottom of the buckle. Depress the lever when the strap is tight. Give the strap a tug in the horizontal direction away from the buckle, checking that the strap remains in place beneath the buckle. To loosen the strap, release the lever and pull the strap from the bottom of the buckle.
- Always use the restraint system when placing your child on the unit. Keep one hand on your child at all times.
- Never leave your child unattended while using the unit.
- Do not place parcels or accessory items on the unit as this may cause it to become unstable.
- To clean and disinfect the unit, first use a clean nylon brush or rag to remove any soil from the surface. Then use disinfectants and detergents that do not contain overwhelming fragrances that can mask inappropriate smells.
Inspection Criteria
A properly maintained baby changing station:
- Opens and closes smoothly.
- Has a functioning strap and buckle. Strap is held firmly in place when buckle is depressed over it.
- Offers parents liners through a fully stocked liner dispenser. (Dispenser built into unit.)
- Provides a clean, convenient place for customers to attend to their children.
Restraint System
Check strap by releasing the lever on the buckle and pulling one end of the strap up through the bottom of the buckle, depressing the lever when the strap is tight. Give the strap a tug in the horizontal direction away from the buckle, checking that the strap remains in place beneath the buckle. To loosen the strap, release the lever and pull the strap from the bottom of the buckle.
Cleaning and Maintenance
We recommend that the surface of the unit be cleaned prior to disinfecting. Use a clean nylon brush or a rag to loosen and remove soil from the textured surfaces. We recommend that you use disinfectants and detergents that do not contain overwhelming fragrances that can mask inappropriate smells.
ASTM F2285-04 (2016)
- WARNING: Never leave child unattended.
- WARNING: Avoid serious injury from falling or sliding out. Always use restraint system.
- WARNING: Designed for Infants Only. Age up to 3.5 years and weighing less than 50 lb (22.7 kg). Keep one hand on the child at all times.
- WARNING: Parcels or accessory items, or both, placed on the unit may cause the unit to become unstable.

Replacement Parts
For a detailed instructions and a list of replacement parts for this product, (such as straps, shocks and labels) please visit www.koalabear.com. Replacement parts and additional liners can be purchased from your local distributor or direct from Koala at www.koalabear.com.
ADA Requirements
Additional information on how this product complies with ADA requirements can be found in the KB300 & KB301 Baby Changing Stations Accessibility Compliance document on www.koalabear.com.
INSTALLATOIN Instructions
Tools Needed: Safety gloves, drill, pencil, wall stud finder, measuring tape, level, safety glasses, Phillips head screwdriver, 1/8 (3mm) (regular & masonry) drill bits
Hardware Provided: 7/32 (6mm) (regular & masonry) drill bits, 1/4 x 3 pan head wood screws (qty. 6), 8-32 x 5/16 flange button Phillips head screws (qty. 4)
- Locate the wall studs and mark the position for the unit’s mounting brackets using the template provided in the installation instructions.
- Drill holes in the studs using a 7/32 (6mm) drill bit. If drilling into concrete block, use toggles to secure one side of the unit while securing the other side to the stud using the provided screws.
- Attach the mounting brackets to the wall using the provided wood screws.
- Attach the unit to the mounting brackets using the provided flange button screws.
For more detailed instructions and a list of replacement parts, visit www.koalabear.com. Additional information on ADA compliance can also be found on the website.
- Step 1:
- Inspect contents and remove changing station from the shipping container and check for any freight damage. If damage is found, please call Koala Kare Products’ Customer Service at 888.733.3456.
- Identify the best location for installing the unit.
- Step 2:
- Remove the bed and chassis from the box. Open the main unit by pulling up on the frame and remove the plastic liner dispenser. Set it to one side. Fig. 1

- Make sure you have taken into consideration the operating clearance of 9 3/8″ (238mm) on both sides of the exposed chassis and 21 1/8″ (537mm) from wall surface when open.
For Wood Stud Wall - Measure from the floor 37 7/16″ (951mm) on stud center and mark the wall. The mounting holes are designed for 16″ (406mm) stud centers. Ensure the locations you have marked for the mounting holes are level before drilling. Fig. 2 Drill pilot holes for keyhole mounting using a 1/8″ regular drill bit.

- If the wall has wooden studs that are not on 16″ (406mm) centers, you will need to use toggles to secure one side of the unit. The other side should be secured to the stud using the screws provided. You must allow for space inside the wall for the toggles to turn. This will vary depending on the toggles used. For Masonry or Tile over Stud Wall
- Use a 7/32″ (5mm) masonry drill bit for the pilot hole until you hit the stud. Change bit to 1/8″ (3mm) regular drill bit.
For Metal Stud or Concrete Block - If the wall has metal studs or an underlying surface of concrete block, you will need to use toggles to secure one side of the unit. The other side should be secured to the stud using the screws provided. You must allow for space inside the wall for the toggles to turn. This will vary depending on the toggles used.
- Remove the bed and chassis from the box. Open the main unit by pulling up on the frame and remove the plastic liner dispenser. Set it to one side. Fig. 1
- Step 3:
- Mount bed and chassis by screwing two of the mounting screws into the pilot holes leaving 1/4″ (6.4mm) exposed to allow keyhole slots to be easily mounted over the screw heads. Fig. 3

- Place chassis over screws. Fig. 4

- After securing the unit using the keyhole slots, verify that the unit is level. Tighten top two screws so that they are flush with the wall.
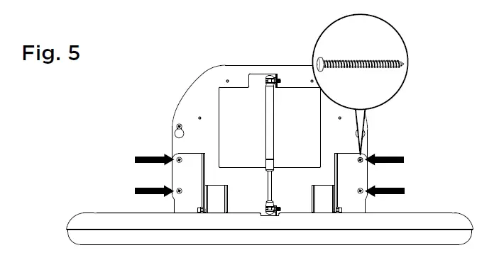
- Use the four lower holes as a guide to mark and drill pilot holes. Use remaining four screws and four washers to complete installation of bed and mounting bracket. Insert washers over lower four screws. Fig. 5

- All six screws and four washers must be properly mounted to the chassis.
- Mount bed and chassis by screwing two of the mounting screws into the pilot holes leaving 1/4″ (6.4mm) exposed to allow keyhole slots to be easily mounted over the screw heads. Fig. 3
- Step 4:
- To install liner dispenser ensure liner dispenser is free from damage. Remove key, unlock, and open liner dispenser lid. This will expose liner dispenser mounting holes.
- Line up dispenser mounting holes onto chassis and secure with the four screws provided. Fig. 6 Close and lock the liner dispenser door.

- Step 5:
- Clean work area and inspect unit to ensure it opens and closes smoothly.
6982 South Quentin Street, Centennial, CO 80112-3945
Main: 303.539.8300
Toll Free: 888.733.3456
Fax: 303.539.8399
Website: koalabear.com
Email: [email protected]


























