RC81D43B Trend Plus Nursery Center
Instruction Manual
RC81D43B Trend Plus Nursery Center
Read all instructions BEFORE assembly and USE of product.
KEEP INSTRUCTIONS FOR FUTURE USE.
RC81D43B
Trend Plus Nursery Center
WARNING
Playard Warnings
WARNING: Failure to follow the instructions could result in serious injury or death.
WARNING: INFANTS CAN SUFFOCATE:
- In gaps between a mattress too small or too thick and product sides.
- On soft bedding
- NEVER add a mattress, pillow, comforter, or padding
- Use only the mattress provided by Baby Trend®.
- The playard mattress/pad is specially designed to prevent suffocation. The playard mattress/pad has a solid base, a certain length and width, and is less than one inch thick in order to meet safety standards. Using a thicker or a different sized mattress/pad may allow a child’s head to get between mattress/pad and the side of the playard causing suffocation.
- To reduce the risk of SIDS, pediatricians recommend healthy infants be placed on their back to sleep, unless otherwise advised by your physician.
- ALWAYS place child on back to sleep.
- NEVER use plastic shipping bags or other plastic film as mattress covers not sold and intended for that purpose. They can cause suffocation.
- NEVER use a water mattress with this product.
WARNING: STRANGULATION HAZARD:
WARNING: NEVER LEAVE INFANT IN PRODUCT WITH SIDES DOWN. Infant may roll into space between pad and loose mesh side causing suffocation. - Strings can cause strangulation! NEVER place items with a string around a child’s neck such as hood strings or pacifier cords. NEVER suspend strings over playard or attach strings to toys.
- NEVER place the product near a window where cords from blinds or drapes can strangle a child.
- Child can become entrapped and die when improvised netting or covers are placed on top of a playard. Never add such items to confine child in playard.
- ALWAYS ensure the full-size bassinet is fully assembled on the playard before using the following accessories: changing table.
- NEVER leave child in product with sides lowered. Be sure sides are raised and locked in position whenever child is in product.
WARNING: See playard floor and side rails for warning. - The playard, including side rails, must be fully erected prior to use.
- Make sure latches are secure.
- Discontinue use of the product when child is able to climb out or reaches the height of 35 in. (890 mm), or 30lbs. (14kg).
- When child is able to pull to standing position, remove bumper pads, large toys and other objects that could serve as steps for climbing out.
- ALWAYS provide the supervision necessary for the continued safety of your child. When used for playing, never leave child unattended. Child in crib must be under supervision at all times.
- ALWAYS ensure that the playard and changing table are safe by checking regularly, before placing the child in it, that every part is properly secured in place.
- NEVER leave the Full-size bassinet in place when child is in playard.
WARNING - NEVER leave Changing Table in place when child is in the playard.
- Only one child can use the Playard/Nursery Center at any time.
- NEVER use this product if there are any loose or missing fasteners, loose joints, broken parts, or torn mesh/fabric. Check before assembly and periodically during use. Contact Baby Trend Customer Service at 1-800-3287363 for replacement parts, repair or instructions. NEVER substitute parts.
- This product is not intended for commercial use.
MAINTENANCE AND CLEANING INSTRUCTIONS:
Use only household mild soap and warm water.
DO NOT USE BLEACH.
DO NOT MACHINE WASH.
PARTS
Check the parts to make sure you have all the parts for this model before assembling the playard.
BABY TREND ® CUSTOMER SERVICE
The Customer Service Department can be contacted at 1 (800) 328-7363 Monday through Friday between 8:00am and 4:30pm (PST). Return Authorizations are required prior to returning product(s) to Baby Trend®.
ASSEMBLY
IMPORTANT! To ensure safe operation of your playard, please follow these instructions carefully. Please keep these instructions for future reference.
IMPORTANT! Before assembly and each use, inspect this product for damaged hardware, loose joints, missing parts or sharp edges. NEVER use if any parts are missing or broken.
IMPORTANT! Adult assembly is required.
TO ASSEMBLE PLAYARD
ATTENTION: Playard must be fully assembled and securely locked before installing or using other accessories.
- Unzip bag and remove Playard frame (Fig. 1). Undo the Fasten straps and set the Mattress aside.
- DO NOT push center down yet.

- Top rails must be fully erected before lowering center. Pull up one rail at a time, hold one hand on each side of the rail and pull up sharply, do not pull from the middle where the center latch release is located, make sure both tubes latch in place and each rail is rigid (Fig. 2).
IMPORTANT: The center must be raised (Approx. 45.7 cm or 18 inches) while locking the rails. If one rail will lock but the other side will not then, unlock the rail by squeezing the release in the center and try again. - Once all four (4) top rails are locked in place, push down on the center handle (Fig. 3a). The center mechanism automatically locks in place.
IMPORTANT: Test each top rail by pushing down slightly to confirm each is rigid and securely in place before use (Fig. 3b). - Place the Mattress on the floor of the Playard with the padded side facing up (Fig. 4).

- Insert the hook & loop fasteners located on the underside of the Mattress through the slots in the floor on each end of the Playard (Fig. 5a). Fasten the hook and loop fasteners to the underside of the Playard floor to prevent the Mattress from moving. (Fig. 5b)
To operate the brakes on the Wheels, press downward on the brake levers. To release, lift upward on the lever (Fig. 6).
ATTENTION: To use as a bassinet, skip to page ,18 for bassinet installation instructions.
FOLDING PLAYARD
• Release the hook and loop fastener holding the Mattress from underneath the Playard floor or the Bassinet and set the mattress aside (Fig. 7a).
DO NOT unlock top rails yet, center of floor handle must be raised before top rails will unlock.
• Rotate the center handle counter-clockwise 90 degrees and raise the center as high as the top rails (Fig. 7b). Gather the Legs and Wheels together towards the center as close as possible so that they nearly touch.
• Locate the rail latch release in the center and bottom side of each rail. Squeeze the lever with two hands until the rail releases the two tubes (Fig. 8a), then push down (Fig. 8b).
NOTE: If the top rail(s) do not release completely, DO NOT FORCE! Lift the center of floor higher. Both tubes must be released for the top rail to fold.
• Gather four (4) corners and center all together tightly (Fig. 9). Wrap Mattress around Playard frame with padded side facing inward.
• Secure the hooks and loop fasteners by feeding them through the loops on the end of the Mattress and folding them back onto themselves (Fig. 10).
• Place folded Playard into carry bag so that the handle comes through the opening between each side of the zipper.
WARNING
ACCESSORIES
Full-Size Bassinet & Cradles Warnings:
WARNING: Failure to follow these warnings and the instructions could result in serious injury or death.
WARNING-FALL HAZARD: To help prevent falls, do not use this product when the infant begins to push up on hands and knees or has reached the height of 25 in. (635 mm), weight of 15 lbs. (6.8 kgs) or 3 months old, whichever comes first.
• ALWAYS check that the bassinet is securely locked on the base/stand by pulling upwards on the bassinet bed.
SUFFOCATION HAZARD
Infants have suffocated:
- In gaps between extra padding and side of the bassinet/cradle, and
- On soft bedding Use only the pad provided by Baby Trend ®. NEVER add a pillow, comforter, or another mattress for padding.
- Strings can cause strangulation! DO NOT place items with a string around a child’s neck such as hood strings or pacifier cords. DO NOT suspend strings over the bassinet or attach strings to toys.
- NEVER use plastic shipping bags or other plastic film as mattress covers not sold and intended for that purpose. They can cause suffocation.
- Use bassinet with only one child at a time.
- NEVER place a child under the bassinet.
- The bassinet must be fully assembled and installed before using.
- The playard, including side rails, must be fully erected prior to use. Make sure each latch is secure.
- NEVER leave the bassinet in place when child is in playard.
- NEVER leave Changing Table in place when child is in the playard.
- Discontinue use of full-size bassinet when child begins to push up on hands and knees or has reached the height of 25 in. (635 mm), weight of 15 lbs. (6.8 kgs) or 3 months old, whichever comes first.
- Only one child can use the Playard at any time.
- To reduce the risk of SIDS, pediatricians recommend healthy infants be placed on their back to sleep, unless otherwise advised by your physician.
- ALWAYS place child on back to sleep.
- ALWAYS provide the supervision necessary for the continued safety of your child. NEVER leave children unattended.
- If a sheet is used with the mattress/pad, use only the one provided by Baby Trend® or one specifically designed to fit the dimension of the playard mattress.
- ALWAYS provide the supervision necessary for the continued safety of your child. NEVER leave children unattended.
- Child can become entrapped and die when improvised netting or covers are placed on top of a playard. Never add such items to confine child in playard.
TO ASSEMBLE BASSINET
Full- Size Bassinet with metal support tubes
ATTENTION: Playard must be fully assembled and securely locked before installing or using the Full-size bassinet feature. (See To Assemble Playard section). You will need to remove the mattress from the bottom of the Playard to use inside your Fullsize bassinet.
11) • Connect opposing Mattress Support Tubes that are attached to the bottom of the Bassinet (Fig. 11a).
• Before placing the Mattress into the Bassinet, make sure Mattress Support tubes are connected as seen in (Fig. 11b).
12) • Position the Bassinet over and down into the fully assembled Playard. Secure in place by pushing down firmly on each plastic support clip until all are snapped into place (Fig. 12).
13) • Place the Mattress into the Bassinet with the padded side facing upward (Fig. 13).
NOTE: Fasten tabs underneath the Mattress secure it in place.
TO REMOVE BASSINET
Remove Mattress from Bassinet. Disconnect opposing Mattress Support Tubes. Unsnap all clips and lift Bassinet.
ACCESSORIES
Changing Table:
WARNING
FALL HAZARD: Children have suffered serious injuries after falling from changing tables. Falls can happen quickly.
- STAY within arm’s reach.
- ALWAYS secure the changing table to the playard frame. See instructions, see page 33 – 38 for details.
SUFFOCATION HAZARD : Babies have suffocated while sleeping on changing tables. Changing tables are not designed for safe sleep. - NEVER allow baby to sleep on changing table.
- NEVER leave the changing table in place when the child is in the large bassinet or the playard. Always flip the changing table down while not in use. To prevent your child from falls and other injuries, always use the safety belt when children are on the changing table.
- Discontinue use of the large bassinet and the changing table when child begins to push up on hands and knees or has reached the height of 22 in. (558.8 mm), weight of 15 lbs. (6.8 kg) or 3 months old, whichever comes first.
- Do not use changing table if it is damaged or broken.
- ALWAYS use the restraint system. Adjust belt as needed to get a snug fit.
TO ASSEMBLE CHANGING TABLE
ATTENTION: Playard and Full-size bassinet must be fully assembled and securely locked before installing or using the changing table feature (See To Assemble Playard and Fullsize bassinet sections, page 1- 28).
14)•Connect the two (2) Long Curved Bars together (Fig. 14a).
![]() | ![]() |
• Insert the assembled curved bars into the Changing Table fabric (Fig. 14b). Slide the Curved Bars around inside sleeve of the Changing Table.
• Connect the two (2) Short Bars to each end of the Long Curved Bar (Fig. 14c). Make sure that the knobs are both facing down and the same direction on each end (Fig.14d).
![]() | ![]() |
15) • Insert Connector Knob Prongs into holes located on both corners of the Playard (Fig. 15a).
• Turn the Connector Knobs counter clockwise to lock into place (Fig. 15b).
![]() | ![]() |
![]() | ![]() |
• Flip Changing Table over onto Playard (Fig. 15c).
• Snap the two (2) buttons on the flap down onto the Playard (Fig. 15d).
TO SECURE THE CHANGING TABLE TO THE PLAYARD
IMPORTANT! When the changing table is flipped up into the upper position the changing table must be secured to the playard frame using the hook and loop fasteners provided.
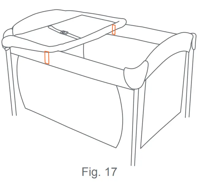
16) • Locate the hook and loop fasteners on the bottom of the changing table and on the inside of the side rails of the playard (Fig. 16).
17) • Flip the changing table into its upper position (Fig. 17).
18) • Secure the changing table to the playard frame by fastening the hook and loop fasteners on the underside of the changing table to the side rails of the playard frame (Fig.18).
TO USE CHANGING TABLE RESTRAINT SYSTEM
19) • Place child on changing table, make sure hands and arms are clear of the restraint. Bring the restraint around the child’s waist and clip the male and female ends of the
buckle together (Fig. 19a).
• Tighten strap until it fits snug around child’s waist (Fig. 19b).
DO NOT OVER TIGHTEN.
• To remove, unsnap the buckle.
ATTENTION: NEVER use changing table if it is damaged or broken.
TO REMOVE CHANGING TABLE
20) • Reverse (Fig. 18). Flip Changing Table to the outside of the Playard. Unsnap fabric flap of Changing Table from Playard. Twist Connector Knobs clockwise to unlock
(Fig. 20a). Remove Changing Table from Playard (Fig. 20b). 
PARENT ORGANIZER ASSEMBLY
WARNING: Storage basket only. Do not overload. max. weight: 3 lbs. (1.36 kg).
21) • Parent Organizer: Position each hook so that the hooked end is facing the rear side of the organizer. Press the hook down firmly into the slot until it snaps into place (Fig. 21a).
• Connect the parent organizer to the playard by pressing the two (2) connecting clips over the top rail of one of the playard’s longer sides (Fig. 21b).
TOP VIEW

WARRANTY
DO NOT RETURN YOUR PRODUCT TO THE STORE. PLEASE CONTACT BABY TREND® FOR REPLACEMENT PARTS, SERVICE AND REPAIR.
The Baby Trend® warranty covers workmanship defects within 1 year of purchase. Any product which has been subjected to misuse, abuse, abnormal use, excessive wear and
tear, improper assembly, negligence, environmental exposure, alteration or accident, or has had its serial number altered or removed invalidates all claims against the manufacturer. Any damage to property during installation is the sole responsibility of the end user. Customer Service Department can be contacted at 1 (800) 328-7363 Monday through Friday between 8:00 a.m. and 4:30 p.m. (PST). Return Authorizations are required prior to returning product(s) to Baby Trend®. Please visit http://babytrend.com/pages/limited-warranty for complete warranty details.
Copyright © 2021, Baby Trend Inc.
All Rights Reserved.
Baby Trend, Inc.
13048 Valley Blvd.
Fontana CA 92335
1-800-328-7363
(8:00am ~ 4:30pm PST)
www.babytrend.com

IMPORTANT: The center must be raised (Approx. 45.7 cm or 18 inches) while locking the rails. If one rail will lock but the other side will not then, unlock the rail by squeezing the release in the center and try again.
IMPORTANT: Test each top rail by pushing down slightly to confirm each is rigid and securely in place before use (Fig. 3b).
To operate the brakes on the Wheels, press downward on the brake levers. To release, lift upward on the lever (Fig. 6).
ATTENTION: To use as a bassinet, skip to page ,18 for bassinet installation instructions.























