Hatco IWRM-B1-1313-05, 06 Palletti Drop In Induction Warmer User Manual
Introduction
Hatco’s Palletti® Drop-In Professional Induction Warmers offer a safe, efficient and attractive way to keep hot foods hot.
Perfect for serving applications such as buffet lines and hospitality suites.
The warmer has five simple and precise settings, which allow for a wide variety of foods to be held both safely and at optimum quality.
The units are also memory retentive, so once turned off and back on, the last setting will resume.
This unit can be mounted flush or near flush to the countertop with the optional trim ring.
Standard features:
- Adaptable for buffets and many other front-of the-house applications to give the most attractive and visible food presentations
- Pan Sense Technology (PST) activates the unit only when a suitable pan is placed on top
- Once installed the glass-ceramic top never needs to be removed.
For service or replacement, the lower housing can be removed separately - Features a control panel with a standby key, temperature control arrow keys and temperature setting indicators
- Energy efficient, quiet and safe operation
- Choose black or white glass-ceramic top which is durable and easy to clean
- Features for both safety and convenience, such as the automatic shut-off to prevent overheating
- Includes remote control panel and cord
- 71″ (1800 mm) cord with plug and a 39″ (1000 mm) detachable control cable.

Options (available at time of purchase only)
- White Glass-Ceramic Top (Black Glass-Ceramic is standard)
Accessories (available for purchase at any time)
- Trim Ring in Stainless Steel (holds unit nearly flush on a stainless steel counter or any similar material [TRIM-IWRM-1B])
- Flush Mount Bracket* (IWRM-FLUSHBKT)
For use where step routing of the countertop material is not possible, but a flush-mounted look is desired.
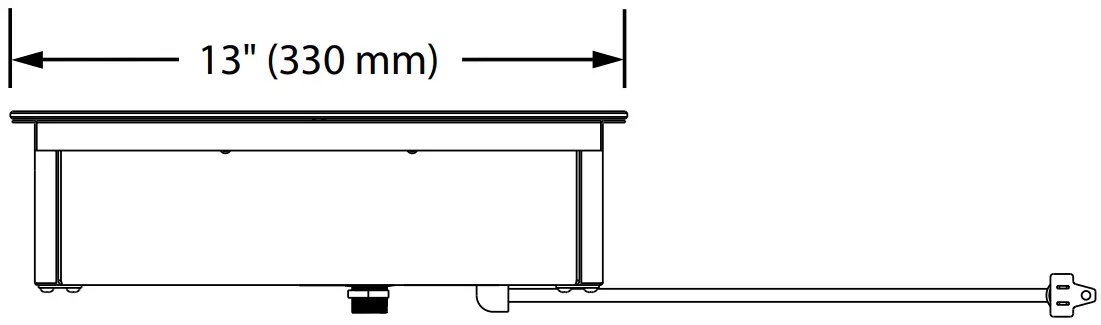
IWRM-B1-1313-05, -06 Model
FRONT VIEW
SIDE VIEW
Cutout Dimensions for Control Panel
| Model | Width | Height |
| IWRM-B1-1313-05, -06 | 5″ (129 mm) | 1.5″ (38 mm) |

IWRM-B1-1313-05, -06 Model Cutout Dimensions
Cutout Dimensions for Flush Mount
(thicker countertops)
Cutout Dimensions for Flush Mount
| Model | Outer Cutout | Inner Cutout | ||
| Width | Depth | Width | Depth | |
| IWRM-B1-1313-05, -06 | 13.12″ (333 mm) | 13.12″ (333 mm) | 11.81″ (300 mm) | 12.24″ (311 mm) |


Cutout Dimensions for Trim Ring
(holds unit nearly flush on a stainless steel countertop or any similar material)
Cutout Dimensions for Trim Ring
| Model | Width | Depth |
| IWRM-B1-1313-05, -06 | 13.5″ (343 mm) | 13.5″ (343 mm) |
Cutaway view of Trim Ring
IWRM-B1-1313-05, -06 Model Ventilation Requirements
Clearances: 2″ (51 mm) for front and sides.
Minimum 6″ (152 mm) for rear.

Cabinets should be sufficiently open to allow fresh air to cool the units.
Two areas equal to 20 sq. inches (129 sq. cm) each should be provided for each unit.
These should be located as close as possible to the intake (front) and exhaust (rear) sides of the unit.
In cases where the cabinet is located against a wall, install one opening near the control panel and the other toward the bottom of the cabinet.
SPECIFICATIONS
Drop-In Induction Warmer
| Model | Dimensions (Width x Depth x Height) | Volts | Watts | Amps | Plug and Cord Location (Rear left bottom base corner) | Ship Weight* |
| IWRM-B1-1313-06 | 13″ x 13″ x 4.25″ (330 x 330 x 108 mm) | 120 | 600 | 5.0 | NEMA 5-15P | 13 lbs. (6 kg) |
| IWRM-B1-1313-05 | 220, 230, 240 (CE) | 500 | 2.3/2.2/2.1 | CEE 7/7 Schuko, AU, BS 1363, CCC (10A) | ||
| 220/60 | 2.3 | BS 1363 |
Shipping weight includes packaging and is approximate.
PAN SIZE
Maximum Pan Size: 117 /8″ diameter (300 mm), Minimum Pan Size: 4″ diameter (102 mm).
PLUG CONFIGURATIONS
| NEMA 5-15P | CEE 7/7 SCHUKO | AU | BS 1363 | CCC (10A) |
![]() | ![]() | ![]() | ![]() | ![]() |
PRODUCT SPECSIFICATION
Palletti® Drop-In Induction Warmer
The Drop-In Induction Warmer shall be a Palletti® model, manufactured by the Hatco Corporation, Milwaukee, WI 53234 U.S.A.
The Drop-In Induction Warmer shall be rated at … watts, … volts, single phase and be … inches (millimeters) in overall width.
The Drop-In Induction Warmer shall consist of a stainless steel housing with a painted aluminum base with a single generator coil and a glass-ceramic top surface. It includes an ON/OFF button, 5 power levels and a USB port.
A 71″ (1800 mm) cord and plug is included.
The remote control box is connected to the main case with a 39″ (1000 mm) quick disconnect connector.
Options include a white glass-ceramic top, accessory trim ring and flush mount bracket.
Warranty consists of 24/7 parts and service assistance (US and Canada only).
CUSTOMER SUPPORT
HATCO CORPORATION P.O. Box 340500 Milwaukee, WI 53234-0500 U.S.A.
(800) 558-0607
(414) 671-6350
www.hatcocorp.com
[email protected]
Find a Hatco Rep
Image Library
Document Library
Chat
























