ozzie OZ-C180 Outdoor Wireless Speaker

SAFETY INSTRUCTIONS
Read all instructions
- Only charge with devices rated and marked with 5V to avoid damage to the speaker.
- Do not open up the speaker, it voids the warranty and may damage the product.
- Rechargeable batteries have a limited number of charge cycles.
- Battery life and number of charge cycles varies by use and settings.
- Never place the speaker close to high temperature heat sources.
- To keep the warranty valid, never try to repair the product yourself.
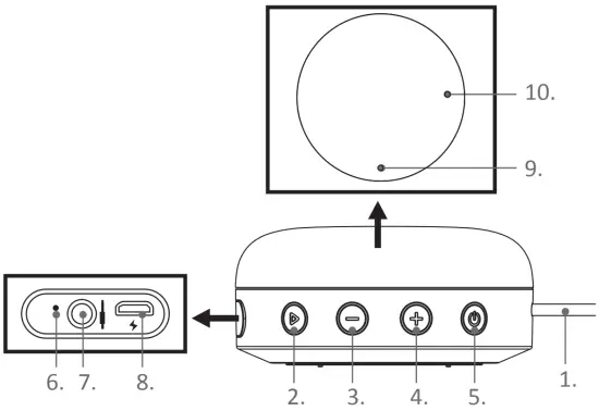
PARTSAND FUNCTIONS

- Lanyard.
- Pause button: play, pause, answer call, TWS.
- -: Volume down button: previous song, decrease the volume.
- +: Volume up button: next song, increase the volume.
- Power button: power on/off, siri, reset.
- LED indicator.
- AUX IN port .
- Micro USB port.
- Bluetooth indicator.
- Microphone
THE SPEAKER’S BATTERY
A built-in rechargeable battery powers the speaker.
CHARGING
Connect the supplied charging cable to the charge input and to a USB port on your computer or a USB charger. The charging LED is lit red during charging. The LED turns off when fully charged.It is recommended to charge 10 minutes before power on if you 7 days unused, then you can continue to use while charging.
POWER ON/OFF
Power on: Long press power button 3 seconds to power on the speaker, then the Bluetooth indicator light is on and you can connect Bluetooth devices.
Power off: Long press power button 3 seconds to power off the speaker, and then Bluetooth indicator will turn off.
SIRI FUNCTIONALITY
Short press power button to activate SIRI ( IOS ), supports Huawei intelligent voice assistant.
CONNECT THE SPEAKER
Turn on the speaker, the bluetooth indicator flashing white, on your device search for Bluetooth devices. Select the speaker from the list. It will give an indication sound when the connection is successful. the bluetooth indicator solid white. Only one Bluetooth device can be connected at the same time.
If you want to connect another device to the speaker, then first disconnect the current one.
DISCONNECT THE SPEAKER
When it’s connected via Bluetooth ,long press mode button 3 seconds to disconnect it .
RECONNECT THE SPEAKER
Some bluetooth devices support automatic reconnection;with those devices,the speaker will automatically reconnect.
The speaker will not automatically reconnect to devices that do not support automatic reconnection. When it’s not connected ,long press mode button 3 seconds to connect to the last disconnected device.
PLAYING MODE
Short press the mode button to switch between different playing mode BT or AUX.
AUDIO CABLE CONNECTION
Power the speaker on.
Connect a 3.5 mm audio cable to the speaker and your device. The speaker is now connected to your device.
Short Press:
1) Music playback status: play, pause function.
2) When there is an incoming call: answer the call.
3) When you’re receiving the call: hang up the phone call.
Long Press:
1) When you’re calling: Press 2 seconds to reject the call.
2) Press 2 seconds to enter TWS connection, once connected, press 2 seconds to disconnect TWS connection.
Double press:
When it’s connected via Bluetooth to your phone: to call back the last call.
CHANGE VOLUME AND SONG
When listening to music
Increase volume: Short press on the “+” button.
Decrease volume: Short press on the “- “ button.
Previous song: Long press on the “-” button.
Next song: Long press on the “+” button.
HANDS-FREE FUNCTIONALITY
- Connect your phone via Bluetooth, the speaker will play ringtones while a call coming.
- Short press the pause button to answer the call on the speaker, you can talk to each other through the microphone hole, after call ended, it will continue to play music.
- Long press the pause button on the speaker to reject an incoming call.
- When you connect your phone, press twice in rapid pause button to call back the last call by telephone.
RESET FUNCTIONALITY
Hold the power button for 8 seconds to automatically reset the speaker and turn it off .
AUTOMATICALLY TURN OFF FUNCTIONALITY
The speaker will automatically turn off in 10 minutes when Bluetooth is not connected and no music is playing.
TECHNICAL PARAMTERS
- Model: OZ-C200
- Speaker: Ø52mm 4Ω 5W*1
- Charging time: 3 hours
- Input: 5.0V ⎓ 1.0A
- Product Weight: 185g
- Bluetooth: V5.0
- Built-in rechargeable battery: Li-on, 3.7V, 800mAh
- Playing time: 6 hours
- Product Size: 100*100*46.5mm
- Range: Up to 10m
- Waterproof level: IPX7
PACKAGE INCLUDING
- 1pcs* C180 wireless speaker
- 1pcs* Product manual
- 1pcs* Micro USB cable
TWS CONNECTION
- Turn on both speakers
- Press and hold the Play/Pause-button on one of the speakers for about 2 seconds until you hear a “beep”sound. The default is the primary speaker that you operated the Play/Pause-button of this spaker for pairing initially.
- Release play/Pause button. It can take a few more seconds before speakers connect to each other. Check the indicator lights to distinguish L/R channel: The white light on one speaker is flashing white for every 3 seconds that should be the left channel(the primary speaker); the white light on the other speaker is solid white that should be the right channel
- Go into the Bluetooth menu on your smartphone and pair the speakers with your phone by selecting the speaker model number. (it will only display 1 number which is both combined in to one)
TWS DISCONNECTION
1. Press and hold the Play/Pause-button on one of the speakers for about 2 seconds until you hear
a “beep”sound
EXPLANATION
the symbol indicates: The product is only suitable for the safe non-tropical climates.- Note: Please use the same type or equivalent type of battery to replace if the battery is scrapped. Otherwise maybe explosion occurs.
- The lithium battery may not be exposed such as fire or excessive heat.
FAULT AND MAINTENANCE
First fault: connection failed.
Solution
(1) Please check whether the multifunction indicator light flashes white. Please power on your speakers if the light isn’t on. Please charge the speaker if the light is still not on.
(2) Please turn off the other Bluetooth devices, if there are many Bluetooth devices surrounding. This may result in search difficulties.
(3) Restart wireless speaker on devices for Bluetooth search function.
Second problem: The music player appears sound breaks.
Solution:
(1) View the distance between the player and the speaker has not been exceeded offective Bluetooth connection distance 8-12meters.
(2) Ensure there is not any obstacle between the play device and speakers.
(3) Check the playback device or whether the speaker is in a low power state.
NOTES BEFORE USE
This product is designed with full attention for safety performance. To ensure safe operation, please follow the following rules:
- Place the speakers in a stable position avoid fall and cause damage or personal injury.
- Do not drop, disassemble, open, crush, bend, puncture, burn speaker.
- Do not close to any heat source (such as radiators, heating equipment, stoves, or other heat-generating equipment) where the use of speakers.
- Please send professional maintenance staff to repair for any reason damage.
- Before wiping with a dry cloth to clean the speakers, set the power switch to the off position and unplug the power cord from the power outlet.
- Health considerations, please adjust the sound to a suitable level.
FCC STATEMENT:
This device complies with Part 15 of the FCC Rules. Operation is subject to the following two conditions:
(1) This device may not cause harmful interference, and
(2) This device must accept any interference received, including interference that may cause undesired operation.
WARNING:
Changes or modifications not expressly approved by the party responsible for compliance could void the user’s authority to operate the equipment.
NOTE
This equipment has been tested and found to comply with the limits for a Class B digital device, pursuant to Part 15 of the FCC Rules. These limits are designed to provide reasonable protection against harmful interference in a residential installation. This equipment generates uses and can radiate radio frequency energy and, if not installed and used in accordance with the instructions, may cause harmful interference to radio communications.
However, there is no guarantee that interference will not occur in a particular installation. If this equipment does cause harmful interference to radio or television reception, which can be determined by turning the equipment off and on, the user is encouraged to try to correct the interference by one or more of the following measures:
- Reorient or relocate the receiving antenna.
- Increase the separation between the equipment and receiver.
- Connect the equipment into an outlet on a circuit different from that to which the receiver is connected.
- Consult the dealer or an experienced radio/TV technician for help.
FCC Radiation Exposure Statement:
This equipment complies with FCC radiation exposure limits set forth for an uncontrolled environment.
This equipment should be installed and operated with minimum distance 20cm between the radiator & your body.
TROUBLESHOOTING
The speaker does not turn on ?
Recharge your speaker.
The speaker does not turn off or does not respond ?
Reset your speaker. hold the power button for 6 seconds to automatically reset the speaker and turn it off .
There is no sound?
Adjust the volume.
Make sure that your Bluetooth device is within range.
Ensure there is no obstacles in the way that can block/disturb the signal.
Check via the device’s Bluetooth connection if the speaker is connected with the device.
There is poor sound quality?
Move the device closer to the speaker or try removing obstacles between them.
Cannot connect the device with the speaker?
Disconnect other connected devices and then try again.
You can force a disconnection by moving out of Bluetooth range (10 m)
In order to avoid harming the product performance, please do charge your device each 3 months at least.
the symbol indicates: The product is only suitable for the safe non-tropical climates.
















