![]()
![]()
ESSENT IALS FOR LIFE
60cm Built-in Oven
User Manual
GGSO605MB Built In Oven
Welcome
Congratulations on purchasing your new Built-in Oven!
The Sôlt brand is proudly distributed within Australia by Residentia Group Pty Ltd.
Please refer to the warranty card at the rear of this manual for information regarding your product’s parts and labour warranty, or visit us online at www.residentia.group
At Residentia Group, we are customer obsessed and our Support Team are there to ensure you get the most out of your appliance. Should you want to learn more about your rangehood features, and importantly taking care of your appliance when cleaning, our Support Team are here to help.
You can use our online Support Centre at anytime by visiting http://support.residentiagroup.com.au, or you can contact us via calling us on 1300 11 HELP (4357).
It is important that you read through the following use and care manual thoroughly to familiarise yourself with the installation and operation requirements of your appliance to ensure optimum performance.
Again, thank you for choosing an Sôlt appliance and we look forward to being of service to you.
Kind Regards,
The Residentia Team
Residentia Group
Head Office.
165 Barkly Ave Burnley Victoria 3121 Australia — ACN. 600 546 656
Online. residentia.group
Safety Instructions
CONDITIONS OF USE
- This appliance is intended to be used in household and similar applications such as farm houses or by customers in serviced apartments, holiday apartments and other residential type environments.
- Obey the installation instruction supplied with the appliance.
SAFETY INSTRUCTIONS
- Before the installation and use of the appliance, carefully read the supplied instructions.
- The manufacturer is not responsible if an incorrect installation and use causes injuries and damages.
- Always keep the instructions with your appliance for future reference.
- Do not use the oven unless you are wearing something on your feet. Do not touch the oven with wet or damp hands or feet.
- Some parts of appliance may keep its heat for a long time; it is required to wait for it to cool down before touching onto the points that are exposed to the heat directly.
- If you will not use the appliance for a long time, it is advised to turn the plug off.
WARNING: To prevent any damages to your and others’ life or property, you have to follow the safety notes.
WARNING: Caution, risk of fire!
CHILDREN & VULNERABLE PEOPLE SAFETY
WARNING: Risk of suffocation, injury or permanent disability.
- This appliance can be used by children aged from 8 years and above and persons with reduced physical, sensory or mental capabilities or lack of experience and knowledge if they have been given supervision or instruction for the operation of the appliance by a person who is responsible for their safety.
- Do not let children play with the appliance.
- Keep all packaging away from children.
- Keep all detergents away from children.
- Keep children and pets away from the appliance door when it is open.
- Do not allow children to go near the oven when it is operating, especially when the grill is on.
- Cleaning and user maintenance shall not be made by children without supervision.
BEFORE INSTALLATION
- Remove all the packaging.
- Do not install or use a damaged appliance.
- When the oven is first switched on, it may give off an unpleasant smell. This is due to the bonding agent used for the insulating panels within the oven. Please run the new empty oven with the conventional cooking function, 250 °C for 90 minutes to clean oil impurities inside the cavity.
- During the first time use, it is completely normal that the oven will show slight signs of smoke and unpleasant odors. Please wait for the smell to clear before putting food into the oven.
- Please use this product under the open environment.
- The appliance and its accessible parts become hot during use. Care should be taken to avoid touching heating elements.
- If the surface is cracked, switch off the appliance to avoid the possibility of electric shock.
- During use, the appliance becomes very hot. Care should be taken to avoid touching heating elements inside the oven.
- Ensure that the appliance is switched off before replacing the oven lamp to avoid the possibility of electric shock.
- The means for disconnection must be incorporated in the fixed wiring in accordance with the wiring specifications.
- Accessible parts may become hot during use.
- An all-pole disconnection means must be incorporated in the fixed wiring in accordance with the wiring rules.
- The appliance must be installed by an authorised technician and put into use. The manufacturer is not responsible for any damage that might be caused by defective placement, and installation by unauthorised personnel. Please contact 1300 11 HELP (4357) for arrange an authorised technician.
ELECTRICAL CONNECTION
WARNING: Caution, risk of fire and electrical shock!
- The appliance must be earthed.
- Make sure that the electrical information on the rating plate agrees with the power supply. If not, contact an electrician.
- Always use a correctly installed shockproof socket.
- Do not use multi-plug adapters and extension cables.
- Make sure not to cause damage to the mains plug and to the mains cable. Should the appliance power supply cable need to be replaced, this must be carried out by our Service Centre.
- Connect the mains plug to the mains socket only at the end of the installation. Make sure that there is access to the mains plug after the installation. Do not connect the appliance plug with a power connection board.
- Do not pull the mains cable to disconnect the appliance. Always pull the mains plug.
- Do not touch the mains cable or the mains plug with wet hands.
CARE & CLEANING
WARNING: Risk of injury or damage to the appliance.
- Before maintenance, deactivate the appliance and disconnect the mains plug.
- Do not use a steam cleaner on the appliance.
- Clean the appliance with a moist soft cloth. Only use neutral detergents. Do not use abrasive products, abrasive cleaning pads, solvents or metal objects.
- Do not use harsh abrasive cleaners or sharp metal scrapers to clean the oven door glass since they can scratch the surface, which may result in shattering of the glass.
PRODUCT DISPOSAL
- Disconnect the appliance from the mains supply.
- Cut off the mains cable and discard it.
- Remove the door catch to prevent children and pets to get closed in the appliance.
APPLIANCE USE
WARNING: Risk of fire, explosion, electric shock or damage to the appliance.
- Use this appliance in a household only.
- Do not change the specification of this appliance.
- Do not sit or stand on the open door.
- Please do not close the machine door with excessive force
- When the door or drawer of oven is open do not leave anything on it, you may unbalance your appliance or break the door.
- The appliances are not intended to be operated by means of an external timer or separate remote control system.
- The instructions for ovens that have shelves shall include details indicating the correct installations of the shelves.
TRANSPORT
- Always move the appliance cautiously. Do not use the machine door or the handle of oven, to lift the appliance.
DECLARATION OF COMPLIANCE
When you have unpacked the oven, make sure that it has not been damaged in any way. If you have any doubts at all, do not use it: contact a professionally qualified person. Keep packing materials such as plastic bags, polystyrene, or nails out of the reach of children because these are dangerous to children.
Installation
Fit the oven into the space provided in the kitchen unit; it may be fitted underneath a work top or into an upright cupboard. Fix the oven in position by screwing into place, using the two fixing holes in the frame. To locate the fixing holes, open the oven door and look inside. To allow adequate ventilation, the measurements and distances adhered to when fixing the oven.
If the oven is to work properly, the kitchen housing must be suitable. The panels of the kitchen unit that are next to the oven must be made of a heat resistant material. Ensure that the glues of units that are made of veneered wood can withstand temperatures of at least 120 °C. Plastics or glues that cannot withstand such temperatures will melt and deform the unit, once the oven has been lodged inside the units, electrical parts must be completely insulated. This is a legal safety requirement. All guards must be firmly fixed into place so that it is impossible to remove them without using special tools. Remove the back of the kitchen unit to ensure an adequate current of air circulates around the oven. The hob must have a rear gap of at least 45 mm.
Your Built-in Oven
USING YOUR BUILT-IN OVEN
- If there is no need to set the cooking time, turn the timer knob counterclockwise to “
” to engage free cooking mode, the timer will not return to “0” automatically and the oven will remain in power-on state. - If you need to set the cooking time, turn clockwise the timer knob to the time you need.
When the setting cooking time was reached, the timer will return to “0” automatically with the sound of “Ding, Ding, Ding” and the oven will be power-off. - Set functions by turning the function knob to desired level.
- Set the temperature by turning the temperature knob.
- The oven will automatically start cooking after function, time and temperature are set.
If the oven is not in use, always set all the knobs to “0”.
CONTROL PANEL

FUNCTIONS
| Symbol | Function Description |
| Oven Lamp: Enables the user to observe the progress of cooking without opening the door. Oven lamp will light for all cooking functions. | |
| Defrost: The circulation of air at room temperature enables quicker thawing of frozen food without the use of any heat. It’s a gentle but quick way to speed up the defrosting time and thawing of ready-made dishes and cream filled produce etc. | |
| Grill: This cooking method is normal grilling, utilising the inner part only of the top heating element, which directs heat downwards onto the food. | |
| Grill and Fan: The inner heating element at the top of the oven along with the fan. It is suitable for grilling large amount of meat. | |
| Convection: Warm air heated by the rear heater is evenly distributed throughout the oven very fast by means of the fan. This results in a faster and more economical cooking process. The convection allows food to be cooked simultaneously on different shelves. |
ACCESSORIES
For grill, dishes, cake pan with items for roasting and grilling.
Slider bracket
For cooking larger size food, these shelf support rails on the right and left sides of the oven can be removed, dishes and tray can be put on the oven floor, using functions as Radiant grilling, Max-Grill with fan.
NOTE: When placing dishes on the oven floor, please DO NOT use functions with bottom heater to prevent heat gathering at bottom. (only for specific models)
Universal pan
For cooking large quantities of food such as moist cakes, pastries, frozen food etc, or for collecting fat/spillage and meat juices.
Telescopic runner
Some models might with telescopic runners to facilitate the use of oven. These telescopic runners and slider brackets could be disassembled by unscrewing the screws used to fix it. After disassembled, dishes and tray can be put on the oven floor, using functions as Radiant grilling, Max-Grill with fan.
NOTE: When placing dishes on the oven floor, please DO NOT use functions with bottom heater to prevent heat gathering at bottom. (only for specific models) 
SHELF PLACEMENT WARNING
To ensure the oven shelves operate safely, correct placement of the shelves between the side rail is imperative. Shelves and the pan only can be used between the first and fifth layers.
The shelves should be used with the right direction, it will ensure that during careful removal of the shelf or tray, hot food items should not slide out.
BULB REPLACEMENT
For replacement, process as follows:
- Disconnect power from the mains outlet or switch off the circuit breaker of the unit’s mains outlet.
- Unscrew the glass lamp cover by turning it counter-clockwise (note, it may be stiff) and replace the bulb with a new one of the same type.
- Screw the glass lamp cover back in place. NOTE: Only use 25-40W/220V-240V, T300°C halogen lamps.

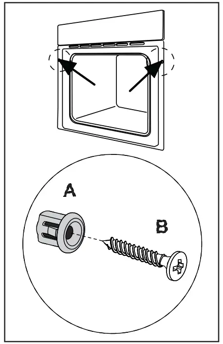
SECURING THE OVEN TO THE CABINET
- Fit oven into the cabinet recess.
- Open the oven door.
- Secure the oven to the kitchen cabinet with two distance holders “A” which fit the holes in the oven frame and fit the two screws “B”.

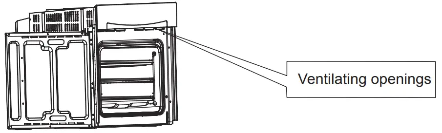
VENTILATING OPENINGS
When cooking is finished, if the temperature of ventilating openings is over 70 degrees, the cooling fan will continue working. The cooling fan will not stop working until the temperature becomes lower than 60 degrees.

THE OVEN CONNECTION

INSTALLATION

Remark:
- Only plus deviations are admissible for all dimension.
- The cabinet is not include the power switch or socket.
NOTE: The number of accessories included depends on the particular appliance purchased.
REMOVING THE DOOR FROM THE OVEN
Removable door allows full access to entire interior of the oven for easier and quicker maintenance.
- To remove the door, open the door to the maximum angle. Then pull the buckle at the door hinge backward. (Figure 1)

- Close the door to an angle approximately 15°. Lift up and slowly pull the door out from the oven. (Figure 2)

- Place the door fiatwise with door top cover towards yourself, put your hands on the glass and pull it towards the oven. (Figure 3)

- Separate the glass carefully by lifting it approximately 25°. (Figure 4)

- Push the glass into the position indicated by the arrow in Figure 5. Gently pull the glass out of the socket.

- After pulling out the inner glass, please take out the middle layer glass. (Figure 6)

- When cleaning is completed, reverse the above procedures to return the door to its original position.
Cleaning & Maintenance
For the sake of a good appearance and reliability, keep the unit clean. The modern design of the unit facilitates maintenance to a minimum. The parts of the unit which come into contact with food have to be cleaned regularly.
- Before any maintenance and cleaning, disconnect the power.
- Set all controls in the OFF position.
- Wait until the inside of the unit is not hot but only slightly warm-cleaning is easier than when warm.
- Clean the surface of the unit with a damp cloth, soft brush or fine sponge and then wipe dry. In case of heavy soiling, use hot water with non-abrasive cleaning product.
- For cleaning the glass of the oven door, do not use abrasive cleaners or sharp metal scrapers, these can scratch the surface or lead to the glass being damaged.
- Never leave acidic substances (lemon juice, vinegar) on stainless steel parts.
- Do not use a high pressure cleaner for cleaning the unit. The baking pans may be washed in mild detergent.
This appliance is marked according to the European directive 2012/19/EU on Waste Electrical and Electronic Equipment (WEEE). By ensuring this product is disposed correctly, you will help prevent potential negative consequences for the environment and human health, which could otherwise be caused by inappropriate waste handling of this product. The symbol on the product indicates that this product may not be treated as household waste. Instead it shall be handed over to the applicable collection point for the recycling of electrical and electronic equipment. Disposal must be carried out in accordance with local environmental regulations for waste dispoasl. For more detailed information about treatment, recovery and recycling of this product, please contact your local city office, your household waste disposal service or the shop where you purchased the product.
Purchase Details
For future reference, please record the following information which can be found on the rating plate and the date of purchase which can be found on your sales invoice.
STORE DETAILS
STORE NAME |__________________
ADDRESS |______________________
TELEPHONE |___________________
PURCHASE DATE |_______________
PRODUCT DETAILS
MODEL NO.|____________________
SERIAL NO.* |___________________
Attach your receipt to this page
Warranty Information
WARRANTY TERMS & CONDITIONS BUILT-IN OVEN
This document sets out the terms and conditions of the product warranties for Residentia Group Appliances. It is an important document. Please keep it with your proof of
purchase documents in a safe place for future reference should you require service for your Appliance.
- IN THIS WARRANTY
(a) ‘acceptable quality’ as referred to in clause 10 of this warranty has the same meaning referred to in the ACL;
(b) ‘ACL’ means Trade Practices Amendment (Australian Consumer Law) Act (No.2) 2010;
(c) ‘Appliance’ means any Residentia Group product purchased by you accompanied by this document;
(d) ‘ASR’ means Residentia Group authorised service representative;
(e) ‘Residentia Group’ means Residentia Group Pty Ltd of 165 Barkly Ave, Burnley VIC 3121, ACN 600 546 656 in respect of Appliances purchased in Australia;
(f ) ‘major failure’ as referred to in clause 10 of this warranty has the same meaning referred to in the ACL and includes a situation when an Appliance cannot be repaired or it is uneconomic for Residentia Group, at its discretion, to repair an Appliance during the Warranty Period;
(g) ‘Warranty Period’ means:
(i) where the Appliance is used for personal, domestic or household use (i.e. normal single family use) as set out in the instruction manual, the Appliance is warranted against manufacturing defects for 24 months, following the date of original purchase of the Appliance;
(h) ‘you’ means the purchaser of the Appliance not having purchased the Appliance for re-sale, and ‘your’ has a corresponding meaning. - This warranty only applies to Appliances purchased and used in Australia and is in addition to (and does not exclude, restrict, or modify in any way) any non-excludable statutory warranties in Australia.
- During the Warranty Period Residentia Group or its ASR will, at no extra charge if your Appliance is readily accessible for service, without special equipment and subject to these terms and conditions, repair or replace any parts which it considers to be defective. Residentia Group or its ASR may use remanufactured parts to repair your Appliance. You agree that any replaced Appliances or parts become the property of Residentia Group. This warranty does not apply to light globes, batteries, filters or similar perishable parts.
- Parts and Appliances not supplied by Residentia Group are not covered by this warranty.
- You will bear the cost of transportation, travel and delivery of the Appliance to and from Residentia Group or its ASR. If you reside outside of the service area, you will bear the cost of:
(a) travel of an authorised representative;
(b) transportation and delivery of the Appliance to and from Residentia Group or its ASR, in all instances, unless the Appliance is transported by Residentia Group or its ASR, the Appliance is transported at the owner’s cost and risk while in transit to and from Residentia Group or its ASR. - Proof of purchase is required before you can make a claim under this warranty.
- You may not make a claim under this warranty unless the defect claimed is due to faulty or defective parts or workmanship. Residentia Group is not liable in the following situations (which are not exhaustive):
(a) the Appliance is damaged by:
(i) accident
(ii) misuse or abuse, including failure to properly maintain or service
(iii) normal wear and tear
(iv) power surges, electrical storm damage or incorrect power supply
(v) incomplete or improper installation
(vi) incorrect, improper or inappropriate operation
(vii) insect or vermin infestation
(viii) failure to comply with any additional instructions supplied with the Appliance;
(b) the Appliance is modified without authority from Residentia Group in writing;
(c) the Appliance’s serial number or warranty seal has been removed or defaced;
(d) the Appliance was serviced or repaired by anyone other than Residentia Group, an authorised repairer or ASR. - This warranty, the contract to which it relates and the relationship between you and Residentia Group are governed by the law applicable where the Appliance was purchased.
- To the extent permitted by law, Residentia Group excludes all warranties and liabilities (other than as contained in this document) including liability for any loss or damage whether direct or indirect arising from your purchase, use or non use of the Appliance.
- For Appliances and services provided by Residentia Group in Australia, the Appliances come with a guarantee by Residentia Group that cannot be excluded under the Australian Consumer Law.
You are entitled to a replacement or refund for a major failure and for compensation for any other reasonably foreseeable loss or damage. You are also entitled to have the Appliance repaired or replaced if the Appliance fails to be of acceptable quality and the failure does not amount to a major failure. The benefits to you given by this warranty are in addition to your other rights and remedies under a law in relation to the Appliances or services to which the warranty relates. - At all times during the Warranty Period, Residentia Group shall, at its discretion, determine whether repair, replacement or refund will apply if an Appliance has a valid warranty claim applicable to it.
- To enquire about claiming under this warranty, please follow these steps:
(a) carefully check the operating instructions, user manual and the terms of this warranty;
(b) have the model and serial number of the Appliance available;
(c) have the proof of purchase (e.g. an invoice) available;
(d) telephone the numbers shown below. - You accept that if you make a warranty claim, Residentia Group and its ASR may exchange information in relation to you to enable Residentia Group to meet its obligations under this warranty.
IMPORTANT
Before calling for service, please ensure that the steps in point 12 have been followed.
Telephone contacts
► Service: Please call 1300 11 HELP (4357)
The Australian Consumer Law requires the inclusion of the following statement with this warranty: Our goods come with guarantees that cannot be excluded under the Australian Consumer Law.
You are entitled to a replacement or refund for a major failure and for compensation for any other reasonably foreseeable loss or damage. You are also entitled to have the goods repaired or replaced if the goods fail to be of acceptable quality and the failure does not amount to a major failure.
An initiative by Residentia Group
T. 1300 11 4357
E. [email protected]
www.solt.house
E2427





















