IKEA VÄRMD Microwave Oven Black

WARNING – The electrical, water, and gas installation and connection must be carried out by a qualified technician according to the manufacturer’s instructions and in compliance with local safety regulations.
WARNING


TOOLS

INFO

PARTS

DIMENSIONS



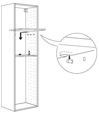
INSTALLATION INSTRUCTIONS


































© Inter IKEA Systems B.V. 2021.


















