IKEA 903.687.77 MATALSKARE Microwave Oven Instruction Manual
Parts List

Safety

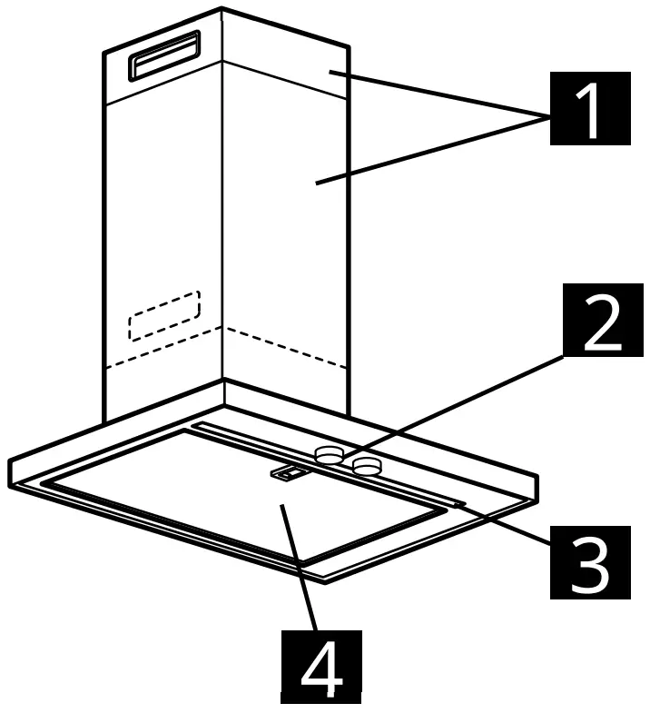
Description of the appliance

- Chimney
- Control Panel
- Lamp
- Grease filter
Control Panel

| A | Lighting ON/OFF knob |
| B | Suction speed selection knob |
| C | Switch-off |
| D | Low suction speed |
| E | Average suction speed |
| F | High suction speed |
| G | Maximum suction speed |
Technical Data
| Type of appliance | Wall-mounted Hood | |||
| Dimensions | Width | mm | 598 | |
| Depth | mm | 458 | ||
| Min. height | mm | 633 | ||
| Max. height | mm | 1088 | ||
| Total power | W | 217 | ||
| Light info | Type | LED | ||
| Number & Power | W | 1x7w | ||
| Connection | LED Strip | |||
| Minimum installation height – gas cooker | mm | 65 | ||
| Minimum installation height – electric cooker | mm | 50 | ||
| Product weight | Kg | 12.9 | ||
| Product information in accordance with EU Regulation no. 65/2014 | ||||
| Name of Supplier | IKEA | |||
| Model identification code | MATÄLSKARE 90368800 MATÄLSKARE 10388977 | |||
| Annual energy consumption – AEC | Kwh/year | 40.6 | ||
| Time increase factor | 0.9 | |||
| Fluid dynamic efficiency FDE | % | 29.3 | ||
| Energy efficiency index | 51.7 | |||
| Air flow speed measured at the optimum efficiency point | m3/h | 278.0 | ||
| Air pressure measured at the optimum efficiency point | Pa | 410.0 | ||
| Maximum air flow | m3/h | 510.0 | ||
| Electrical power input measured at the optimum efficiency point | W | 108.0 | ||
| Rated power of lighting system | W | 7 | ||
| Average illuminance of the lighting system on the cooking surface | Lux | 203.0 | ||
| Power consumption in Standby mode | W | NA | ||
| Power consumption in Off mode | W | NA | ||
| A-weighted sound power level at maximum speed | dB(A) | 65 | ||
| A-weighted sound power level of noise emissions in boost mode | Db(A) | NA | ||


















