CAM80UM-1 USB Camera
User Manual

UC CAM80UM-1 USB Camera
All pictures in this manual are for reference only, please refer to the actual product
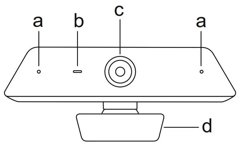
Appearance Introduction
Please be familiar with the device interface and keys before use.
![]() | ![]() |
a.Microphone
b.Indicator Light
c.Camera
d.Camera Bracket
e.USB Type-C
Connection
Step 1: Please rotate the camera bracket to the direction to the back, as in the illustration.
Step 2: Please use the dedicated USB cable to connect the product to the personal computer.


Rotation
- Support 360°Rotation

- Support A Tilting

Safety Warnings
Before using and operating this equipment, please read and observe the following precautions carefully to avoid dangerous or illegal operations.
Placement
- DO NOT expose the camera to any heat source (such as an electrical heater).
- The normal operating temperature is 0-40℃, and the normal operating humidity is 10%-90%RH.
- DO NOT place the product in dusty and humid environments in case of an internal circuit fault.
- The camera is not water-proof and dust-proof,do not expose the equipment directly to the sun, lest the equipment temperature is too high to affect the normal use of the equipment.
Children Safety
- The product and accessories may contain some small part. Please place them beyond the reach of children in avoidance of swallowing danger.
Power Supply: Please use the standard cable of this product.
Water Precaution: The product is not waterproof, Please keep it dry.
Maintenance
- Please contact professional service personnel for maintenance services.
- When the equipment is damaged, please do not disassemble it for repair without permission, please call customer service to report for repair.
- DO NOT insert any sharp or pointed object into the device.
- DO NOT drop or hit the device to avoid damage to the device.
Statement
- Intellectual property right statement: The hardware design and software of this product are covered by the patents. Anyone who reproduces this product or the content of the instruction without the authorization of the Company shall assume legal liabilities
- This manual is for reference only, and the actual function of the final product is subject to the actual function of the product received by the customer.
- The picture is for reference only, please refer to the actual product. The company reserves the right to improve and change the appearance and design of the product without notice.
Accessories
- USB cable×1
- User Manual (this document)
USB Camera
CE MARKING DECLARATION OF CONFORMITY
This USB Camera complies with the requirements of the EC/EU Directive 2014/30/EU “EMC Directive”, 2014/35/EU “Low Voltage Directive”, 2009/125/EC “ErP Directive” and 2011/65/EU “RoHS Directive”. The electro-magnetic susceptibility has been chosen at a level that gives correct operation in residential areas, business and light industrial premises, and small-scale enterprises, inside as well as outside of the buildings. All places of operation are characterized by their connection to the public low-voltage power supply system.
IIYAMA CORPORATION: Wijkermeerstraat 8, 2131 HA Hoofddorp, The Netherlands
We recommend recycling used products. Please contact your dealer or iiyama service center.
Recycle information is obtained via the Internet, using the address: http://www.iiyama.com
You can access the Web page of different countries from there.





















