ULINE H-3069 Kihlberg Pneumatic Plier Stapler User Manual
Operation
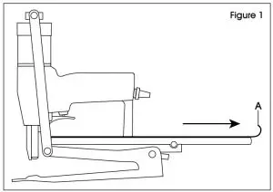
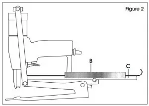
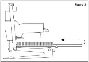
Loading The Magazine
- Pull the magazine lid(A) all the way out (See figure 1)

- Place the staple strip (B) into the staple rail (C) from the left (See Figure 2)

- Push the lid all the way forward until it clicks into (See Figure 3)

USING THE STAPLER
WARNING!
Place the stapler on a stable work surface. Do not drive staples into hard or brittle materials. Do not drive staples at too steep an angle or too close to the edge of the work. Doing so may cause injury. Be sure that the stapler is not pointed at yourself or anyone else when connecting it to the compressed air line. To avoid damage, never fire the stapler when it is empty.
- Adjust the air pressure to the lowest setting to drive the staples to the desired Start at approximately 5.5 bar and raise by 0.5 bar increments until the correct operating pressure is found.
CAUTION!
Never exceed 7 bar air pressure. -
Place the item to be stapled (D) below the stapler head (E). (See Figure 4) Pull the trigger (F)

REMOVING STUCK STAPLES
WARNING!
Always disconnect the tool from the air supply, empty the magazine, and read the safety warnings before troubleshooting.
- Pry the door open from the left hand side with a screwdriver
- Remove any staple remnants inside the tool nozzle and close the door again until it clicks shut.
SAFETY WARNINGS
NOTE:
Read the following warnings to prevent injuries to yourself and those around you.
- Never use oxygen, combustible gases, CO2, steam or high pressure gas tanks as power The stapler may explode and cause serious injury.
- Use only dry, clean, pressure-regulated compressed air to drive the stapler.
- Eye protection must always be worn by the operator and others in the work area.
- Always use personal protection equipment as required, such as ear protection, hard hats, etc.
- Never use a defective Ensure the trigger operates properly and all screws and nuts are securely tightened at all times.
- Do not modify the stapler.
- Always disconnect the stapler from the air supply and empty the magazine when the stapler is not in use or when servicing.
- Never leave a loaded stapler unattended.
- Always assume that the stapler is loaded.
- No Respect the stapler as a working implement.
- Never point the stapler at yourself or anyone else, whether it contains staples or Always remove finger from trigger when not driving staples.
- Connect the stapler to the compressed air line before loading Maximum air pressure is 7 bar.
- Ensure that the air hose has the right dimension to avoid pressure drops which might cause Minimum: 1/4″.
- The stapler and the hose must have a coupling which automatically bleeds all air pressure from the stapler when it is disconnected.
- Avoid personal Never hold your hand in the jaws of the stapler.
- Do not load the stapler with the trigger depressed.
- Use only Josef Kihlberg staples, type 777.
- Always place yourself in a firmly balanced position when using or handling the stapler.
MAINTENANCE
- empty the magazine and read the safety warnings before starting maintenance.
- Check that all safety devices function properly, especially that the trigger moves freely and that all screws and nuts are securely tightened.
- This tool does not require special It only needs regular cleaning with a non-corrosive cleaning agent. Do not remove any parts for cleaning purposes.
- A small amount of lubricating oil is needed in the nipple each day or 10 drops once a week to ensure safe functioning.
- At high frequency stapling lubricating oil is recommended.
- Contact Uline for more information: 1-800-295-5510.
SPECIFICATIONS
| MFG. PART NO. | HEIGHT | LENGTH | WIDTH | WEIGHT | STAPLES | LENGTH | MAGAZINE CAPACITY |
| JK20T777L | 250mm | 375mm | 68mm | 2.1kg | 777 | 8–16mm | 100 |
- Air pressure:
- 5-6 bar working pressure
- 7 bar maximum air pressure
- The stapler is designed for use with original Josef Kihlberg staples only.
- Magazine loading: Loaded from above.
- Firing of the stapler: Single shot firing.
- Air consumption per shot: 3 l at 6 bar operating pressure.
Contact us
1-800-295-5510
web: uline.com




















