HDView HD-TVI Infrared HD PTZ Camera
- Please read this instruction carefully before using the product and keep it for further reference.
- All the examples and pictures used here are for reference only.
- The contents of this manual are subject to change without notice.
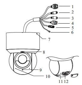
Overview
- Ethernet connector (PoE+)
- MIC-Audio input (3.5mm)
- HP-Audio output (3.5mm)
- Alarm input/output
- DC12V Power jack
- Ground
- Lock Screw
- Loudspeaker
- Light Sensor
- Microphone
- Reset*
- Memory Card Slot
Reset: After the camera is powered on, press and hold the reset button for more than 3s to reset to the factory default settings.
Cable Connection
Connecting Network Cable
- Loosen the nut from the main element.
- Run the network cable (without RJ 45 connector) through the both elements. Then crimp the cable with RJ 45 connector.
- Connect the cable to the Ethernet connector. Then tighten the nut and the main cover.
Memory Card Installation

- Loosen the two screws of the cover and then remove the cover.
- Insert a micro SD card as indicated above and then install the cover back.
Connecting Alarm Input/Output
Ceiling Mounting
- Unscrew the lock screw and then remove the adapter.
- Use three screws provided to install the adapter to the ceiling.
- Align the screw holes of the adapter with the screws of the mounting base and then secure the PTZ camera and the adapter by putting these screws into its original position.
- Adjust the PTZ camera position. Note that the marked position should be the front of the camera.
Installation
Please make sure the wall is strong enough to bear the dome camera’s weight and the camera is powered off during installation.This PTZ camera supports different ways of installation. Please select a way to install as needed. The following instructions are for reference only.
Network Connection
Here we take accessing IP camera via LAN for example.
Access the camera through IP-Tool
- Make sure that the camera and the PC are connected via LAN.
- Find the IP-Tool from the CD and then install it in the computer. After that, run the IP-Tool as shown below.
- Modify the IP address. The default IP address of this camera is 192.168.226.201. Click the information of the camera listed in the above table to show the network information on the right hand. Modify the IP address and gateway of the camera and make sure its network address is in the same local network segment as the computer’s. Please modify the IP address of your device according to the practical situation.

- For example, the IP address of your computer is 192.168.1.4. So the IP address of the camera shall be changed to 192.168.1.X. After modification, please enter the password of the administrator and click “Modify” button to modify the setting.
The default password of the administrator is “123456”.Double-click the PTZ camera listed in the IP-Tool or manually enter the IP address in the address bar of the web browser to connect the PTZ camera. Then follow directions to download and install the plugin. - Enter the username and password in the login interface.

The default username is admin; the default password is 123456.
Preset Description
|
Call Preset | Call No. 90 Preset | Run trace 1 |
| Call No. 91 Preset | Run cruise 1 | |
| Call No. 92 Preset | Run cruise 2 | |
| Call No. 93 Preset | Run cruise 3 | |
| Call No. 94 Preset | Run cruise 4 | |
| Call No. 97 Preset | Enable random scan | |
| Call No. 99 Preset | Enable auto scan | |
| Save Preset | Save No. 91 Preset | Save the random scan start point |
| Save No. 92 Preset | Save the left scan endpoint | |
| Save No. 93 Preset | Save the right scan endpoint |























