KRAMER K-CamHD 1080p Pro USB PTZ Camera User Guide

SAFETY WARNING
Disconnect the unit from the power supply before opening and servicing
For the latest information on our products and a list of Kramer distributors, visit our
Web site where updates to these installation instructions may be found.
We welcome your questions, comments, and feedback.
K-CamHD PTZ Camera
Congratulations on purchasing your Kramer K-CamHD PTZ Camera (Pan Tilt Zoom camera). K-CamHD provides great image quality, even in low-light conditions, and easy access to medium and large size conferencing. K-CamHD combines 1080p image quality, 12x optical zoom, intelligent color optimization technology, ultra-low CMOS image sensors as well as 2D and 3D DNR technology.
Control K-CamHD via the IR remote controller, or the RS-232. Go to www.kramerav.com/downloads/K-CamHD to download the latest user manual and check if firmware upgrades are available.
Get to know your K-CamHD

Mounting K-CamHD
You can mount K-CamHD on the wall, the ceiling or place it on a tabletop. The built-in gravity sensor automatically corrects the image orientation.
![]()
- Ensure that the environment (e.g., maximum ambient temperature, humidity & air flow) is compatible for the device.
- Avoid exposing the product to direct sunlight or any other heat source.
- Keep away from children – product includes small accessories and components.
- Avoid uneven mechanical loading.
- Do not insert any sharp objects into the product.
- Avoid dropping or hitting the product to avoid damaging the product.
- For maintenance, call tech support.
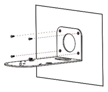
To attach K-CamHD onto a wall:

1. Find the correct location on the wall.
2. In the desired location, mark the hole locations, then drill 4 holes 82mm and 60mm apart (using a 6mm drill-bit) to fit the 4 holes of the wall-mounting bracket.
3. Insert the four expansion-plugs into the holes.

4. Attach the wall bracket to the wall, using the four wall bracket screws.
Note that you can also attach the device upside down, from under the bracket.

5. Attach the device to the wall bracket by fitting the mortise (on the bracket) into the tenon (on the camera).
6. Fix the camera by screwing (A) Nickel screw to the center and (B) then tighten with 3 black screws.
Connecting K-CamHD
Always switch OFF the power on each device before connecting it to your K-CamHD.
Connect the power cord to K-CamHD and plug it into the mains electricity.
Safety Instructions (See www.kramerav.com for updated safety information)
Caution:
- There are no operator serviceable parts inside the unit.
Warning:
- Use only the power cord that is supplied with the unit.
- Disconnect the power and unplug the unit from the wall before installing.
- Do not open the unit. High voltages can cause electrical shock! Servicing by qualified personnel only.
- To ensure continuous risk protection, replace fuses only according to the rating specified on the product label which located on the bottom of the unit.

Installation Instructions
Controlling and configuring K-CamHD via the IR remote controller
K-CamHD IR Remote Controller

K-CamHD PTZ Camera

















