Caple C808C 59cm Frameless Ceramic Hob Black
SAFETY INSTRUCTIONS
Your safety is important to us. Please read this information before using your hob.
INSTALLATION WARNINGS
ELECTRICAL SHOCK HAZARD
- Disconnect the appliance from the mains electricity supply before carrying out any work or maintenance on it.
- Connection to a good earth wiring system is mandatory.
- Alterations to the domestic wiring system must only be made by a qualified electrician.
- Failure to follow this advice could be fatal or seriously injure the user.
CUT HAZARD
- Take care, panel edges are sharp. Failure to do so may result in injury or cuts.
IMPORTANT SAFETY INSTRUCTIONS
- Read these instructions carefully before installing or using this appliance.
- No combustible materials or products should be placed on this appliance at any time.
- Please make this information available to the person responsible for installing the appliance.
- In order to avoid a hazard, this appliance must be installed according to these instructions
- This appliance is to be installed correctly and earthed only by a suitably qualified person.
- This appliance should be connected to a circuit which incorporates an isolating switch providing full disconnection from the power supply.
- Failure to install the appliance correctly could invalidate any warranty or liability claims
OPERATION AND MAINTENANCE WARNINGS
ELECTRICAL SHOCK HAZARD
- Do not cook on a broken or cracked hob. If the hob surface should break or crack, switch the appliance off immediately at the main power supply (wall switch) and contact a qualified technician.
- Switch the hob off at the wall before cleaning or maintenance.
- Failure to follow this advice could be fatal or seriously injure user.
- This appliance complies with electromagnetic safety standards.
HOT SURFACE HAZARD
- During use, accessible parts of this appliance will become hot enough to cause burns.
- Do not let your body, clothing or any item other than suitable cookware contact the ceramic glass until the surface is cool.
- Metallic objects such as knives, forks, spoons and lids should not be placed on the hob surface.
- Keep children away from appliance.
- Handles of saucepans may be hot to touch. Check saucepan handles do not overhang other cooking zones that are on. Keep handles out of reach of children.
- Failure to follow this advice could result in burns
and scalds.
WARNING:
- If the surface is cracked, switch off the appliance to avoid the possibility of electric shock. Hob surfaces that are glass-ceramic or of a similar material protect live parts.
- The appliance is not intended to be operated by means of an external timer or separate remote-control system.
- The cooking process has to be supervised. A short term cooking process has to be supervised continuously.
- WARNING: Unattended cooking on a hob with fat or oil can be dangerous and may result in fire. NEVER try to extinguish a fire with water, but switch off the appliance and then cover flame e.g. with a lid or a fire blanket.
IMPORTANT SAFETY INSTRUCTIONS
- Never leave the appliance unattended when in use as pans may boil over which may result in smoking or grease spills that may ignite.
- Never use your appliance as a work or storage surface.
- Never leave any objects or utensils on the appliance.
- Never use your appliance for warming or heating the room.
- After use, always turn off the cooking zones and the hob as described in this manual.
- Do not allow children to play, sit, stand, or climb on the appliance.
- Do not store childrens toys in cabinets above the appliance to avoid the risk of children climbing on the hob as this could result in serious injury.
- Do not leave children alone or unattended in the kitchen when the hob is in use.
- Persons with reduced physical, sensory or mental capabilities or lack of experience and knowledge must be supervised and given appropriate instruction concerning the use of the appliance in a safe way and understand the hazards involved.
- Do not repair or replace any part of the appliance unless specific instructions are detailed in the manual. All other servicing should be done by a qualified technician.
- Do not use a steam cleaner to clean the hob.
- Do not place or drop heavy objects on your hob.
- Do not stand on your hob.
- Do not use pans with jagged edges or drag pans across the surface as this can scratch the glass.
- Do not use scourers or any other harsh abrasive cleaning agents to clean your hob, as these can scratch glass.
- If the supply cord is damaged, it must be replaced by Caple service or similarly qualified persons in order to avoid a hazard.
- This product is not designed for commercial use, it is a household appliance only. It is not intended to be used in:
- Staff kitchen areas in shops, offices and other working environments.
- Bed and breakfast type environments
- By clients in hotels, motels and other residential type environments.
WARNING:
- The appliance and its accessible parts become hot during use.
- Care should be taken to avoid touching heating elements.
- Children less than 8 years of age shall be kept away unless continuously supervised.
- This appliance can be used by children aged from 8 years and above and persons with reduced physical, sensory or mental capabilities or lack of experience and knowledge if they have been given supervision or instruction concerning use of the appliance in a safe way and understand the hazards involved.
- Children should not play with the appliance.
- Cleaning and user maintenance should not be carried out by children without supervision.
- Unattended cooking on a hob with fat or oil can be dangerous and may result in fire. NEVER try to extinguish a fire with water, but switch off the appliance and then cover flame e.g. with a lid or a fire blanket.
- Danger of fire: do not store items on the cooking surfaces.
- If the glass/ceramic surface is cracked it can expose live parts, switch off the appliance to avoid the possibility of electric shock.
- Do not steam clean.
- The appliance is not intended to be operated by means of an external timer or separate remote control system.
ENVIRONMENTAL PROTECTION
Waste electrical products should not be disposed of with household waste. Please recycle where facilities exist. Check with your Local Authority or retailer for recycling advice. This appliance is marked according to the European directive 2012/19/EU on Waste Electrical and Electronic Equipment (WEEE).
By ensuring this product is disposed of correctly, you will help prevent potential negative consequences for the environment and human health, which could otherwise be caused by inappropriate waste handling of this product. The symbol on the product indicates that this product may not be treated as household waste. Instead it shall be handed over to the applicable collection point for the recycling of electrical and electronic equipment. Disposal must be carried out in accordance with local environmental regulations for waste disposal.
For more detailed information about treatment, recovery and recycling of this product, please contact your local council, your household waste disposal service or the retailer where you purchased the product
CE DECLARATIONS OF CONFORMITY
This appliance has been manufactured to the strictest standards and complies
with all applicable legislation, Low Voltage Directive (LVD) and Electromagnetic Compatibility (EMC).
WARRANTY
Your new appliance is covered by warranty. The warranty card is enclosed – if it is missing, you must provide the following information to your retailer in order to receive a replacement: date of purchase, model and serial number. Registration can also be completed online by visiting www.caple.co.uk.
Ensure you keep your warranty card safe, you may need to show it to Caple Service together with proof of purchase.
If you fail to show your warranty card you will incur all repair charges. Spare parts are only available from Caple Service and spare parts authorized centers.
Congratulations on the purchase of your new Caple hob.
We recommend that you spend some time reading this instruction manual in order to fully understand how to correctly install and operate your hob. For installation, please read the installation section. Read all the safety instructions carefully before using your hob and keep this instruction manual for future reference.
PRODUCT DESCRIPTION
Top view 
- Max. 1200W zone
- Max. 1800W zone
- Max. 1200W zone
- Max. 1800W zone
- Ceramic glass top
- Control knobs
CONTROL PANEL
- Residual heat warning indicators
- Power regulating controls
WORKING PRINCIPLE
This ceramic hob directly applies resistance wire heating to the bottom of the pan. The power output can be adjusted by turning the appropriate control knob on the control panel.
Refer to the ‘USING YOUR CERAMIC HOB’ section, page 13.
BEFORE USING YOUR NEW CERAMIC HOB
- Read this guide, taking special note of the ‘Safety Warnings’ section.
- Remove any protective film that may still be on your ceramic hob.
TECHNICAL SPECIFICATION
| Model code | C808C |
| Cooking zones | 4 Zones |
| Supply voltage | 220-240V |
| Installed electric power | 5500-6600W |
| Product size LxWxH (mm) | 590x520x60 |
| Building in dimensions AxB (mm) | 560X490 |
Weight and dimensions are approximate. Because we continually strive to improve our products we may change specifications and designs without prior notice.
CHOOSING THE RIGHT COOKWARE
Do not use cookware with jagged edges or a curved base. 
Make sure that the base of your pan is smooth, sits flat against the glass, and is the same size as the cooking zone. Always centre your pan on the cooking zone. 
Always lift pans off the ceramic hob – do not slide, or they may scratch the glass. 
USING YOUR CERAMIC HOB
TO START COOKING
![]() | Place a suitable pan on the cooking zone that you wish to use. Make sure both the bottom of the pan and the surface of the cooking zone are clean and dry. |
![]() | Turn on and adjust the power by turning the control knob to the desired level. |
HOT ZONE WARNING INDICATOR
When the cooking zone is hot, the warning indicator will light. Don’t touch the glass surface until the indicator goes out. It can also be used as an energy saving function. If you want to heat further pans, use the zone that is still hot.
WHEN YOU HAVE FINISHED COOKING 
Turn the cooking zone off by turning the control knob to “OFF“.
COOKING GUIDELINES AND TIPS
Take care when frying as the oil and fat heat up very quickly, particularly if you’re using the Boost function. At extremely high temperatures oil and fat will ignite spontaneously and this presents a serious fire risk.
- When food comes to the boil, reduce the temperature setting.
- Using a lid will reduce cooking times and save energy by retaining the heat.
- Minimise the amount of liquid or fat to reduce cooking times.
- Start cooking on a high setting and reduce the setting when the food has heated through.
SIMMERING
- Simmering occurs below boiling point, at around 85°C, when bubbles are just rising occasionally to the surface of the cooking liquid. This is the key to delicious soups and tender stews because the flavours develop without the food being overcooked. Also, you should cook egg-based and flour thickened sauces below boiling point.
- Some tasks, including cooking rice by the absorption method, may require a setting higher than the lowest setting to ensure the food is cooked properly in the time recommended.
SEARING STEAK
To cook juicy, flavoursome steaks:
- Stand the meat at room temperature for about 20 minutes before cooking.
- Heat up a heavy-based frying pan.
- Brush both sides of the steak with oil. Drizzle a small amount of oil into the hot pan and then lower the meat onto the hot pan.
- Turn the steak only once during cooking. The exact cooking time will depend on the thickness of the steak and how you want it cooked. Times may vary from about 2– 8 minutes per side. Press the steak to gauge how cooked it is the firmer it feels the more ‘well done’ it will be.
- Leave the steak to rest on a warm plate for a few minutes to allow it to relax and become tender before serving.
STIR-FRYING
- Choose a compatible flat-based wok or a large frying pan.
- Have all the ingredients and equipment ready. Stir-frying should be quick. If cooking large quantities, cook the food in several smaller batches.
- Preheat the pan briefly and add two tablespoons of oil.
- Cook any meat first, put it aside and keep warm.
- Stir-fry the vegetables. When they are hot but still crisp, turn the cooking zone to a lower setting, return the meat to the pan and add your sauce.
- Stir the ingredients gently to make sure they are heated through.
- Serve immediately.
INSTALLATION
Cut out the work surface according to the sizes shown in the drawing. For the purpose of installation and use, a minimum of 50mm space must be left around the hole. Be sure the thickness of the work surface is at least 30mm. Please select heat-resistant work surface material to avoid deformation caused by the heat radiation from the hob. See below: 
| L (mm) | W (mm) | H (mm) | D (mm) | A (mm) | B (mm) | X (mm) |
| 590 | 520 | 50 | 46 | 560 | 490 | 50 min |
WARNING:
Always ensure the hob is well ventilated and the air inlet and outlet are not blocked. Ensure the ceramic hob is in good working order. See below: 
| A (mm) | B (mm) | C (mm) | D | E |
| 760 | 50 min | 20 min | Air intake | Air exit (5mm) |
NOTE:
For safety the distance between the hob and the cupboard above should be at least 760mm.
BEFORE INSTALLING THE HOB
- The ceramic hob must be installed by qualified personnel or technicians. Please never conduct the installation by yourself.
- Check the work surface is square and level, and no structural parts interfere with the space requirements.
- Ensure the work surface is made of a heat-resistant material.
- If the hob is installed above an oven, check the oven has a built-in cooling fan.
- The installation must comply with all clearance requirements and applicable standards and regulations.
- Ensure a suitable isolating switch providing full disconnection from the mains power supply is incorporated in the permanent wiring, mounted and positioned to comply with the local wiring rules and regulations.
- The isolating switch must be of an approved type and provide a 3mm air gap contact separation in all poles (or in all active [phase] conductors if the local wiring rules allow for this variation of the requirements).
- The isolating switch must be easily accessible to the customer once the hob is installed.
- Consult local building authorities and by-laws if in doubt regarding installation.
- Use heat-resistant and easy-to-clean finishes (such as ceramic tiles) for the wall surfaces
AFTER INSTALLING THE HOB
- Ensure the power supply cable is not accessible through cupboard doors or drawers.
- Ensure there is an adequate flow of fresh air from outside the cabinetry to the base of the hob.
- If the hob is installed above a drawer or cupboard space, a thermal protection barrier is installed below the base of the hob.
- The isolating switch must be easily accessible by the customer.
BEFORE LOCATING THE FIXING BRACKETS
- The unit should be placed on a stable, smooth surface (use the packaging).
Do not apply force onto any controls protruding from the hob.
ADJUSTING THE BRACKET POSITION
Fix the hob to the work surface by screwing 4 brackets on the bottom of hob (see picture) after installation. Adjust the bracket position to suit different worktop thicknesses. 
CAUTIONS:
- The ceramic hob should not be mounted next to cooling equipment, dishwashers and rotary dryers.
- The wall and cooking zone above the work surface must withstand heat.
- To avoid any damage, the worktop sandwich layer and adhesive must be heat resistant.
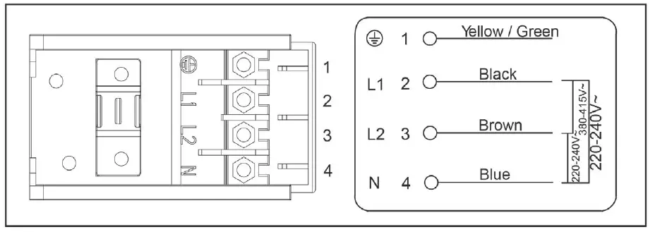
Connecting the hob to the mains power supply
WARNING:
The power supply should be connected in compliance with the relevant standard,or a single-pole circuit breaker. The method of connection is shown below. 
The appliance can be connected directly to the mains by single-phase electrical connection, as shown below.
- If the cable is damaged or needs replacing, this should be done by an after-sales technician using the correct tools.
- If the appliance is being connected directly to the mains supply, an omnipolar circuit breaker must be installed with a minimum gap of 3mm between the contacts.
- The installer must ensure that the correct electrical connection has been made and that it complies with safety regulations.
- The cable must not be bent or compressed.
- The cable must be checked regularly and only replaced by a qualified person.
CLEANING AND MAINTENANCE
The settings below are guidelines only. The exact setting will depend on several factors, including your cookware and the amount you are cooking. Experiment with the hob to find the settings that best suit you.
| What? | How? | Important |
| Everyday soiling on glass (fingerprints, marks, stains left by food or non-sugary spillovers on the glass). | 1. Switch the power to the hob off. 2. Apply a hob cleaner while the glass is still warm (but not hot!) 3. Rinse and wipe dry with a clean cloth or paper towel. 4. Switch the power to the hob back on. | – When the power to the hob is switched off, there will be no ‘hot surface’ indication but the cooking zone may still be hot! Take extreme care. – Heavy-duty scourers, some nylon scourers and harsh/abrasive cleaning agents may scratch the glass. Always read the label to check if your cleaner or scourer is suitable. – Never leave cleaning residue on the hob: the glass may become stained. |
| Boilovers, melts, and hot sugary spills on the glass. | Remove these immediately with a fish slice, palette knife or razor blade scraper suitable for ceramic glass hob , but beware of hot cooking zone surfaces: | Remove stains left by melts and sugary food or spillovers as soon as possible. If left to cool on the glass, they may be difficult to remove or even permanently damage the glass surface. |
| 1. Switch the power to the hob off at the wall. 2. Hold the blade or utensil at a 30° angle and scrape the soiling or spill to a cool area of the hob. | Cut hazard: when the safety cover is retracted, the blade in a scraper is razor-sharp. Use with extreme care and always store safely and out of reach of children. | |
| 3. Clean the soiling or spill up with a dish cloth or paper towel. | ||
| 4. Follow steps 2 to 4 for ‘Everyday soiling on glass’ above. |
TROUBLESHOOTING
| Problem | Possible causes | What to do |
| The hob cannot be turned on. | No power | Make sure the hob is connected to the power supply and that it is switched on. Check whether there is a power outage in your home or area. If you’ve checked everything and the problem persists, contact Caple service. |
| The glass is being scratched. | Rough-edged cookware. Unsuitable, abrasive scourer or cleaning products being used. | Use cookware with flat and smooth bases. See ‘Choosing the right cookware’. See ‘Cleaning and Maintenance’. |
For futher information and advice, or if a problem still persists, Caple Service can be contacted by telephone 0117 938 7420 or email [email protected].
Caple Service
Fourth Way
Avonmouth
Bristol
BS11 8DW
t: 0117 938 7420
e: [email protected]
www.caple.co.uk
Please keep this instruction manual for future reference

SAFETY INSTRUCTIONS
















