

MICROWAVE OVEN
INSTALLATION – USE – MAINTENANCE
IMPORTANT INSTRUCTIONS AND SAFETY WARNINGS
Read carefully and keep for future use
Dear Customer,
We would like to thank you and congratulate you on your choice.
This new product has been carefully designed and built using top quality materials, and meticulously tested to ensure that it meets all your culinary requirements.
Please read and observe these simple instructions, which will enable you to achieve excellent results from the very first time you use it. This state-ofthe-art appliance comes to you with our very best wishes.
THIS PRODUCT IS DESIGNED FOR DOMESTIC USE. THE MANUFACTURER DECLINES ALL RESPONSIBILITY FOR PERSONAL INJURY OR PROPERTY DAMAGE DERIVING FROM INCORRECT INSTALLATION OR IMPROPER, ERRONEOUS OR UNSUITABLE USE.
THE APPLIANCE MUST NOT BE USED BY PEOPLE (INCLUDING CHILDREN) WITH PHYSICAL, SENSORIAL OR MENTAL IMPAIRMENTS, OR BY PEOPLE WITHOUT THE NECESSARY EXPERIENCE OR KNOWLEDGE, UNLESS THEY ARE SUPERVISED OR INSTRUCTED IN THE USE OF THE APPLIANCE BY A PERSON RESPONSIBLE FOR THEIR SAFETY.
CHILDREN MUST BE SUPERVISED TO ENSURE THAT THEY DO NOT PLAY WITH THE APPLIANCE. DO NOT PLACE ALUMINIUM FOIL, POTS OR SIMILAR OBJECTS IN CONTACT WITH THE BASE INSIDE THE OVEN FOR COOKING. THE HEATING ACTION OF THE LOWER HEATING ELEMENT CAUSES OVERHEATING OF THE LOWER PART OF THE OVEN CAUSING DAMAGE AND SERIOUS CONSEQUENCES (RISK OF FIRE) EVEN TO THE COUNTER UNDER THE OVEN.
THE APPLIANCE GETS VERY HOT DURING USE.
WARNING: DON’T TOUCH THE HEATING ELEMENTS INSIDE THE OVEN.
ATTENTION
- If the door or the gasket seals of the door are damaged, the oven may not gb be used until it repaired by a qualified service technician.
- It dangerous for anyone other than a service technician to perform any maintenance or repairs that involve the removal of any cover that protects against exposure to microwaves.
- Liquids or other foods must not be heated in air- tight contains because they could explode.
- Children may not use the oven without supervision until they have been adequately instructed in its safe use and understand the dangers of using it incorrectly.
- Only use untensils that are appropriate for microwave ovens.
- When heating food in plastic or paper containers, check the oven frequently because of the risks of fire.
- If you see smoke coming out, turn off the appliance or remove its plug and keep the door closed to extinguish any flames.
- Heating beverages in the microwave oven can cause a delayed boil-over, so be careful when handling the container.
- The contents of baby bottles and baby food in jars must be mixed or shaken and their temperature must be checked before feeding to avoid scalding.
- Eggs in the shell and whole hardboiled eggs must not be heated in microwave ovens because they could explode even after the end of heating in the microwave.
- A detailed explanation for cleaning the gasket seals of the doors of the cavity and adjacent parts.
- The oven must be cleaned periodically and all food residues must be removed.
- Failure to keep the oven clean could cause deterioration of the surfaces that could reduce the life of the appliance and cause dangerous conditions.
- Do not use rough abrasives or sharp metal scrapers to clean the glass door of the oven because they could scratch the surface and cause the glass to shatter.
- Do not use steam cleaners to clean the appliance.
FOOD PREPARATION
Danger of fire
Only use the microwave function for the preparation of food to be eaten.
Any other uses can be dangerous or cause damage.
For example, heated slippers or pillows filled with grain or cereals can catch fire even after several hours.
POTS AND PANS
Danger of injury
Porcelain and ceramic crockery can have small holes in the handles and cover.
There can be cavities hidden behind these holes. If water gets into these cavities, the crockery could break.
Do not use crockery that is unsuitable for microwave ovens.
Danger of burns
The heat of the food can heat the dish. Always use a pot holder to remove dishes and accessories from the cooking chamber.
MICROWAVE POWER AND DURATION
Danger of fire
Never set values that are too high for the microwave power or the cooking time. The food could catch fire and damage the appliance. Follow the rules in these instructions.
PACKAGING
Danger of fire
Never heat food in thermal packaging.
Food in containers made of plastic, paper or other inflammable materials must be watched constantly.
Danger of burns
Air-tight packaging can explode. Follow the instructions shown on the package. Always use a pot holder to remove dishes.
BEVERAGES
Danger of burns
When heating liquids, boiling can be delayed.
This means that the boiling temperature has been reached without forming the typical little steam bubbles. Even a slight knock can cause the sudden overflow of liquid or sprays.
When heating liquids, always put a spoon in the container to avoid delayed boiling.
Danger of explosion
Never heat beverages or other types of food in covered containers.
Never heat alcoholic beverages excessively.

Warnings for Microwave Ovens
FOODS FOR NEWBORNS
Danger of burns
Never heat baby foods in a covered container. Always remove the cover or nipple.
When finished heating, always carefully shake or mix so that the heat is evenly distributed.
Test the temperature before giving the food to the baby.
FOODS WITH SKIN OR PEEL
Danger of burns
Never cook eggs in the shell. Never heat hard-boiled eggs because they could explode even after the microwave is turned off. This also goes for molluscs and crustaceans.
In the case of fried eggs, first pierce the yolk.
In the case of foods with a hard peel or skin like apples, tomatoes, potatoes or sausage, the peel or skin could explode.
Pierce the peel or skin before cooking.
DRYING FOODS
Danger of fire
Never dry food in the microwave.
FOODS WITH LOW WATER CONTENT
Danger of fire
Never defrost or heat foods with low water content, like bread, for too long or at an excessive power.
OIL
Danger of fire
Never use the microwave to heat just oil.
CAUSES OF DAMAGE
Juice leaking from fruit
When preparing sweets containing very juicy fruit, do not overfill the baking dish. Fruit juices that overflow the baking dish can leave indelible stains.
Technical breakdown
Never use enamelled baking dishes in the microwave because it could cause a technical breakdown.
Cooling with the door of the appliance open
The cooking chamber must only be cooled with the door closed. Check that nothing is stuck on the door of the appliance.
Even if the door is only ajar, nearby cabinets can be damaged over time.
Very dirty gasket seal
If the gasket seal is very dirty, the door of the appliance does not close correctly during operation.
The surfaces of nearby cabinets can be damaged.
Always keep the gasket seal clean.
Using the door of the appliance as a support surface
Do not rest or lean on the open door of the appliance and do not put dishware or accessories on it.
Using the microwave without food in the chamber
Only turn on the microwave after you have put the food in the cooking chamber. Without food inside, the appliance can become overloaded. The only exception allowed are brief tests of dishware (in this regard, see the warnings about pots and pans).
Respect for the environment
Moist foods
Do not leave moist foods in the cooking chamber for
extended periods of time.
The documentation for this appliance is printed on paper bleached without chlorine or recycled paper to contribute to protecting the environment. The packaging was designed to prevent damage to the environment; they are ecological products that can be recovered or recycled.
Recycling the packing saves raw materials and reduces the volume of industrial and domestic waste.

THE PACKING MATERIAL is 100% recyclable and marked with the recycling symbol. Dispose of in conformity with local law. The packing material (plastic bags, polystyrene parts, etc.) must be kept out of the reach of children because it is potentially dangerous.
THIS APPLIANCE is marked in conformity with European Directive 2002/96/EC, Waste Electrical and Electronic Equipment (WEEE). By making sure that this product is disposed of correctly, the user contributes to preventing potential negative consequences for the environment and health.
THE SYMBOL on the product or accompanying documentation indicates that this product must not be treated as domestic waste but must be delivered to a suitable collection point for the recycling of electrical and electronic equipment.
![]()
DISPOSAL MUST BE MADE in conformity with local laws on waste disposal.
FOR ADDITIONAL INFORMATION about the treatment, recovery and recycling of this product, contact the local office of competence, the domestic waste collection
service or the store where the product was purchased.
BEFORE SCRAPPING, make it unusable by cutting the electrical cord.
Oven identification plate
IMPORTANT
The oven’s identification plate is even accessible when the appliance is installed. This identification plate, which is visible when you open the door, shows all the information you will need when requesting replacement parts for the appliance.

First Use
The oven should be thoroughly cleaned with soap and water and carefully rinsed. Heat the oven for about 30 minutes at the maximum temperature; this eliminates all the residual manufacturing oils that could cause unpleasant odours during cooking. Use the circular plus fan function without accessories in the oven. Before using the accessories for the first time, clean them carefully with a very hot alkaline washing solution and a soft cloth.
ASSEMBLING AND DISASSEMBLING THE FLAT GRILL
To remove the flat grill, pull the grill towards you until it stops and then lift, by pulling upwards, until it comes completely out. To put the flat grill back in, insert it at a 45-degree angle and then position it horizontally and push it all the way in to the end of the grill track. If the flat grill has a drip-pan (tray), to remove it, lift slightly and slide it towards you. To reinsert it, slide it back until it is correctly seated.

IMPORTANT
As a safety precaution, before cleaning the oven, always disconnect the plug from the outlet or remove the appliance’s power cord. In addition, avoid using acid or alkaline substances such as lemon, vinegar, salt, tomatoes, etc.). Avoid using products containing chlorine, acids or abrasives, especially for cleaning the painted walls.
Control panel
FIRST SETUP

| MANUAL | MICROWAVE |
![]() | ![]() |
| TIME DEFROST | WEIGHT DEFROST |
![]() | ![]() |
| OVEN | COMBINED |
![]() | ![]() |
| MY TASTE | U-CREATE |
![]() | ![]() |
| MY FAVOURITES | LAST USED |
![]() | ![]() |
| LOCK DURING COOKING | DEMO MODE |
![]() | ![]() |
Main product functions
OVEN COOKING
![]() | MULTILEVEL+GRILL |
![]() | MULTILEVEL |
![]() | GRILL |
![]() | GRILL + FAN |
COMBINED COOKING
![]() | MICROWAVE GRILL |
![]() | MICROWAVE +CONVECTION+FAN |
MICROWAVE COOKING
![]() | MICROWAVE |
![]() | TIME DEFROST |
![]() | WEIGHT DEFROST |
COOKING MODE | ICON | SET | WEIGHT | WATT | TEMPERATURE | ||||||
| Min. | Preset | Max. | Min. | Preset | Max. | Min. | Preset | Max. | |||
| TIME DEFROST | ![]() | 150W | |||||||||
| WEIGHT DEFROST | ![]() | Bread | 1009 | 5008 | 6009 | 150W | |||||
| Vegetable | 1009 | 5009 | 10009 | 150W | |||||||
| Meat | 100g | SOO g | 1500g | 150W | |||||||
| Fish | 100g | 500g | 800g | 150W | |||||||
| MICROWAVE | ![]() | 150W | 900W | 900W | |||||||
| MICROWAVE GRILL | ![]() | 150W | 150W | 200°C | |||||||
| 300W | 300W | ||||||||||
| 450W | 450W | ||||||||||
| MICROWAVE+ CONVECTION + FAN | ![]() | 150W | 150W | 50°C | 100°C | 200°C | |||||
| 300W | 300W | ||||||||||
| 450W | 450W | ||||||||||
For the Installer
INSTALL THE OVEN IN THE COUNTER
The oven must be installed under a cook top, in a column, or combined with the relative food-warmer drawer.
The dimensions of the space must be those shown in figure.
The cabinet material must be able to withstand the heat.
The oven must be centred within the walls of the cabinet and fixed with the screws and bushings that are provided.

TECHNICAL DATA
| Power supply | 220-240 V~, 50 Hz |
| Maximum absorbed power | 3200 W |
| Microwave power | 900 W |
| Grill | 1500 W |
| Hot air | 1500 W |
| Microwave frequency | 2450 MHz |
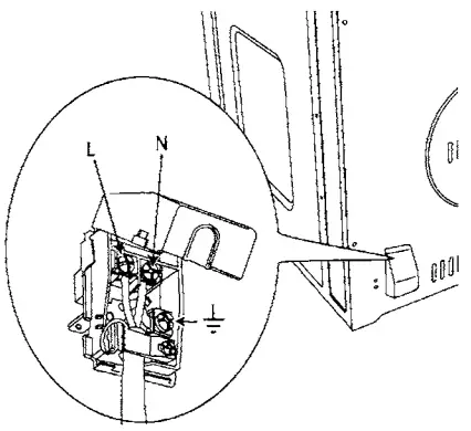
ELECTRICAL HOOK-UP
Before making the electrical hook-up, make sure that:
- the characteristics of the electrical system satisfy what is shown on the serial number plate applied to the front of the oven;
- the electrical system has an effect earth connection conforming to standards and current law.
The earth connection is required by law.
The cable must not, at any point, reach a temperature greater than 50 °C above the ambient temperature.
This oven must be connected to the supply by a supply cord fitted with an appropriately rated plug that is compatible with the socket-outlet fitted to the final sub-circuit in the fixed wiring that is intended to supply this oven.
If a fixed appliance does not have a power cord and plug, or another device that ensures disconnection from the mains, with an opening distance of the contacts that allows complete disconnection under the conditions of excessive voltage category III, such disconnection devices must be provided in the power supply mains conforming to the installation rules.
The omnipolar socket or switch must be easy to reach when the appliance is installed.
NOTE: The manufacturer declines all liability if the usual accident prevention standards and the above instructions are not followed.
| TYPE AND MINIMUM DIAMETER OF THE CABLES | |||
| SASO | |||
| H05RR-F | 3×1,5 mm² | H05RR-F | 3×2,5 mm² |
| H05VV-F | 3×1,5 mm² | H05VV-F | 3×2,5 mm² |
| H05RN-F | 3×1,5 mm² | H05RN-F | 3×2,5 mm² |
| H05V2V2-F | 3×1,5 mm² | H05V2V2-F | 3×2,5 mm² |

Solving Traditional Baking Problems
With either Bake or Convection Bake, poor results can occur for many reasons other than a malfunction of the oven. Check the chart below for causes of the most common problems. Since the size, shape and material of baking utensils directly affect the baking results, the best solution may be to replace old baking utensils that have darkened and warped with age and use.
| Baking Problem | Cause |
| Food browns unevenly | – Oven not preheated – Aluminum foil on oven rack or oven bottom – Baking utensil too large for recipe – Pans touching each other or oven walls |
| Food too brown on bottom | – Oven not preheated – Using glass, dull or darkened metal pans – Incorrect rack position – Pans touching each other or oven walls |
| Food is dry or has shrunk excessively | – Oven temperature too low – Oven not preheated – Oven door opened frequently – Tightly sealed with aluminum foil – Pan size too small |
| Food is baking or roasting too slowly | – Oven temperature too low – Oven not preheated – Oven door opened frequently – Tightly sealed with aluminum foil – Pan size too small |
| Pie crusts do not brown on bottom or have soggy crust | – Baking time not long enough – Using shiny steel pans – Incorrect rack position – Oven temperature is too low |
| Cakes pale, flat and may not be done inside | – Oven temperature too low – Incorrect baking time – Cake tested too soon – Oven door opened too often – Pan size may be too large |
| Cakes high in middle with crack on top | – Baking temperature too high – Baking time too long – Pans touching each other or oven walls – Incorrect rack position – Pan size too small |
| Pie crust edges too brown | – Oven temperature too high – Edges of crust too thin |
Troubleshooting
| ERROR | SMOKE |
![]() | ![]() |
Service data record
Service Data Record
Model Number _________________________________
Serial Number _________________________________
Date of Installation or Occupancy __________________






































