CULT-WERK HD-BRO034, HD-BRO054 Headlight Mask V-Rod Style

Product Information
V-Rod Headlamp Mask
The V-Rod Headlamp Mask is an accessory that can be used to replace the original headlamp of a motorcycle. It is compatible with HD-BRO034 and HD-BRO054 models. The mask is designed to give a unique look to the motorcycle while also providing protection to the headlight. It is made of high-quality materials that are durable and long-lasting.
Product Usage Instructions
Mounting the V-Rod Headlamp Mask
- Dismantle the original headlamp by disconnecting plug (14) from headlight (11).
- Loosen screw (9) and remove headlamp.
- Loosen screws (10) and remove lower bracket (13).
- Secure the Cult-Werk bracket between the upper (12) and lower bracket (13) with screws (4).
- Refit the headlamp (11) with screw (9) and connect plug (14).
- Screw the screws (6) supplied into the holes provided in the mask and secure it to the holder (3).
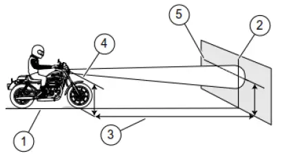
- After mounting, it is necessary to readjust the headlight range:
- Horizontal line
- Vertical line
- 7.6m
- Height of main beam lamp
- 53.3mm below height of main beam lamp
- We recommend using a medium-strength screw lock (e.g. LOCTITE 243, blue) for all screws.
By following these instructions, you can easily install the V-Rod Headlamp Mask on your motorcycle and enjoy its unique look and added protection for your headlight.
Mounting instructions
Dismantle the original headlamp
- Disconnect plug (14) from headlight (11).
- Loosen screw (9) and remove headlamp.
- loosen screws (10) and remove lower bracket (13).

Fitting the “V-Rod” headlamp mask
- Secure the Cult-Werk bracket between the upper (12) and lower bracket (13) with the screws (4).
- Refit the headlamp (11) with the screw (9) and connect the plug (14).
- Screw the screws (6) supplied into the holes provided in the mask and secure it to the holder (3).

ASSEMBLY
Note
After mounting, it is necessary to readjust the headlight range:

- Horizontal line
- Vertical line
- 7,6m
- height of main beam lamp
- 53.3mm below height of main beam lamp
We recommend using a medium-strength screw lock (e.g. LOCTITE 243, blue) for all screws.



















