Ground Stand Entity PRO EPGSS
Ground Stand Entity PRO SBS EPGSD
Installation instructions


About this manual
The purpose of this manual is to provide you with the necessary information to install a ground stand for the Entity PRO models charging stations.
This document contains general descriptions which are verified to be accurate at the time of printing. However, because continuous improvement is a goal at GARO, we reserve the right to make product modifications at any time.
Product function description.
GARO offers two ground stands: EPGSS and EPGSD.

Tools and equipment needed

* If applicable
To install the Entity PRO charging station (CS)
This manual does not contain instructions on how to install a Garo charging station. To install the Entity PRO charging station refer to the installation manual. All installation must be carried out by an authorized installer and comply with local country installation regulations. If any questions, please contact your local electrical authority.
Make sure that the ground stand is firmly attached to the ground before you install a GARO Entity PRO charging station. Use M10 – M16 screws to fasten the ground stand
to the ground.
Dimensions
![]() |
![]() |
Before installation


- Prepare the CS bracket for installation on the ground stand

Note: Only if an ethernet cable is used.
Note: Only if an control cable is used.
Note: Only if you install several CS on the ground stand. Do this on installation brackets of the charging stations. Use a cable grommet to seal the hole to the steelplate.
Note: Take notice of the position of the holes. It is possible to use a double installation bracket – EPIBD (GARO art. no 354214) or 2 singel installation brackets – EPIBS (GARO art. no 354213).
- Install the charging station(s) on the EPGSS
There are two ways to attach the back plate to the base.
It depends on if you are going to attach one or two GARO Entity Pro charging stations.
Note: The short screws are for single CS installation and the longs screws are for double CS installation.
Note: Only when you plan to install two CS units.
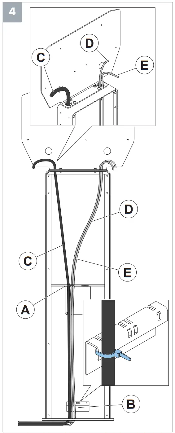
Note: Thread the cables (C, E and D) through the hole in the bracket (A). Use a zip tie to attach the cables to the bracket (B). Ethernet cable (E) and control cable (D) are optional.
Note: Thread the cables through CS bracket (A) before you attach the bracket to the pole mount fixture and CS bracket (B). - Install double CS bracket(s) on the EPGSD

Note: The short screws are for single CS installation and the longs screws are for double CS installation.

Note: Only when you plan to install two double CS units.

Note: Thread the cables (C, E and D) through the hole in the bracket (A). Use a zip tie to attach the cables to the bracket (B). Ethernet cable (E) and control cable (D) are optional.


Note: Thread the cables through the double CS bracket (A) before you attach the bracket to the base and double CS bracket (B).
| GARO E-Mobility AB Box 203 335 33 Gnosjö, Sweden Phone +46 370 332 00 [email protected] www.garo.se |
GARO Finland Oy Itälahdenkatu 18 a, FI-00210 HELSNKI, Finland Telephone: +358 20 752 9030 E-mail: [email protected] www.garo.fi |
GARO Electric Ireland Ltd 19/307 Northwest Business Park, Blanchardstown, IE-DUBLIN 15, Irland Telephone: +35 31 882 00 30 E-mail: [email protected] www.garo.ie |
| GARO AS Sankt Hallvardsvei 3, NO-3414 LIERSTRANDA, Norway Telephone: +47 32 89 64 50 E-mail: [email protected] www.garo.no, |
GARO Polska Sp z.o.o. Wislawy Szymborskiej 18, PL-70-784 SZCZECIN, Poland Telephone: +48 91 881 17 70 , +48 91 424 33 35 Email: [email protected] www.garo.com.pl |
GARO Electric Ltd Sales & Customer Service Unit 16 Urban Express Park, Aston Hall Road, Birmingham, B6 7FH |





















