12-INCH
DISC SANDER
Instruction Manual
MODEL 65812
65812 12 Inch Benchtop Disc Sander
IMPORTANT: Your new tool has been engineered and manufactured to WEN’s highest standards for dependability, ease of operation, and operator safety. When properly cared for, this product will supply you years of rugged, trouble-free performance. Pay close attention to the rules for safe operation, warnings, and cautions. If you use your tool properly and for its intended purpose, you will enjoy years of safe, reliable service.
INTRODUCTION
Thanks for purchasing the WEN Disc Sander. We know you are excited to put your tool to work, but first, please take a moment to read through the manual. Safe operation of this tool requires that you read and understand this operator’s manual and all the labels affixed to the tool. This manual provides information regarding potential safety concerns, as well as helpful assembly and operating instructions for your tool.
Indicates danger, warning, or caution. The safety symbols and the explanations with them deserve your careful attention and understanding. Always follow the safety precautions to reduce the risk of fire, electric shock or personal injury. However, please note that these instructions and warnings are not substitutes for proper accident prevention measures.
NOTE: The following safety information is not meant to cover all possible conditions and situations that may occur.
WEN reserves the right to change this product and specifications at any time without prior notice.
At WEN, we are continuously improving our products. If you find that your tool does not exactly match this manual, please visit wenproducts.com for the most up-to-date manual or contact our customer service at 1-847-429-9263.
Keep this manual available to all users during the entire life of the tool and review it frequently to maximize safety for both yourself and others.
SPECIFICATIONS
| Model Number | 65812 |
| Motor | 120V, 60 Hz, 8A |
| No-Load Speed | 1725 RPM |
| Disc Size | 12 in. |
| Table Size | 16-3/8 in. x 6-7/8 in. |
| Table Height | 7-1/2 in. |
| Table Tilting (Bevel) Angle | 45° Down |
| Miter Angle | 60° Left & Right |
| Dust Port Size | Outer Diameter: 2 in. |
| Inner Diameter: 1-13/16 in. | |
| Dust Hose Size | Outer Diameter: 2-1/2 in. |
| Inner Diameter: 2 in. | |
| Product Dimensions | 16-3/8 in. x 18-1/2 in. x 14-1/8 in. |
| Product Net Weight | 60.1 Pounds |
GENERAL SAFETY RULES
WARNING! Read all safety warnings and all instructions. Failure to follow the warnings and instructions may result in electric shock, fire and/or serious injury.
Safety is a combination of common sense, staying alert and knowing how your item works. The term “power tool” in the warnings refers to your mains-operated (corded) power tool or battery-operated (cordless) power tool. SAVE THESE SAFETY INSTRUCTIONS.
WORK AREA SAFETY
- Keep work area clean and well lit. Cluttered or dark areas invite accidents.
- Do not operate power tools in explosive atmospheres, such as in the presence of flammable liquids, gases or dust. Power tools create sparks which may ignite the dust or fumes.
- Keep children and bystanders away while operating a power tool. Distractions can cause you to lose control.
ELECTRICAL SAFETY
- Power tool plugs must match the outlet. Never modify the plug in any way. Do not use any adapter plugs with earthed (grounded) power tools. Unmodified plugs and matching outlets will reduce risk of electric shock.
- Avoid body contact with earthed or grounded surfaces such as pipes, radiators, ranges and refrigerators. There is an increased risk of electric shock if your body is earthed or grounded.
- Do not expose power tools to rain or wet conditions. Water entering a power tool will increase the risk of electric shock.
- Do not abuse the cord. Never use the cord for carrying, pulling or unplugging the power tool. Keep cord away from heat, oil, sharp edges or moving parts. Damaged or entangled cords increase the risk of electric shock.
- When operating a power tool outdoors, use an extension cord suitable for outdoor use. Use of a cord suitable for outdoor use reduces the risk of electric shock.
- If operating a power tool in a damp location is unavoidable, use a ground fault circuit interrupter (GFCI) protected supply. Use of a GFCI reduces the risk of electric shock.
PERSONAL SAFETY
- Stay alert, watch what you are doing and use common sense when operating a power tool. Do not use a power tool while you are tired or under the influence of drugs, alcohol or medication. A moment of inattention while operating power tools may result in serious personal injury.
- Use personal protective equipment. Always wear eye protection. Protective equipment such as a respiratory mask, non-skid safety shoes and hearing protection used for appropriate conditions will reduce the risk of personal injury.
- Prevent unintentional starting. Ensure the switch is in the off-position before connecting to power source and/or battery pack, picking up or carrying the tool. Carrying power tools with your finger on the switch or energizing power tools that have the switch on invites accidents.
- Remove any adjusting key or wrench before turning the power tool on. A wrench or a key left attached to a rotating part of the power tool may result in personal injury.
- Do not overreach. Keep proper footing and balance at all times. This enables better control of the power tool in unexpected situations.
- Dress properly. Do not wear loose clothing or jewelry. Keep your hair and clothing away from moving parts. Loose clothes, jewelry or long hair can be caught in moving parts.
- If devices are provided for the connection of dust extraction and collection facilities, ensure these are connected and properly used. Use of dust collection can reduce dust-related hazards.
POWER TOOL USE AND CARE
- Do not force the power tool. Use the correct power tool for your application. The correct power tool will do the job better and safer at the rate for which it was designed.
- Do not use the power tool if the switch does not turn it on and off. Any power tool that cannot be controlled with the switch is dangerous and must be repaired.
- Disconnect the plug from the power source and/or the battery pack from the power tool before making any adjustments, changing accessories, or storing power tools. Such preventive safety measures reduce the risk of starting the power tool accidentally.
- Store idle power tools out of the reach of children and do not allow persons unfamiliar with the power tool or these instructions to operate the power tool. Power tools are dangerous in the hands of untrained users.
- Maintain power tools. Check for misalignment or binding of moving parts, breakage of parts and any other condition that may affect the power tool’s operation. If damaged, have the power tool repaired before use. Many accidents are caused by poorly maintained power tools.
- Keep cutting tools sharp and clean. Properly maintained cutting tools with sharp cutting edges are less likely to bind and are easier to control.
- Use the power tool, accessories and tool bits, etc. in accordance with these instructions, taking into account the working conditions and the work to be performed. Use of the power tool for operations different from those intended could result in a hazardous situation.
- Use clamps to secure your workpiece to a stable surface. Holding a workpiece by hand or using your body to support it may lead to loss of control.
- KEEP GUARDS IN PLACE and in working order.
SERVICE
- Have your power tool serviced by a qualified repair person using only identical replacement parts. This will ensure that the safety of the power tool is maintained. CALIFORNIA PROPOSITION 65 WARNING Some dust created by power sanding, sawing, grinding, drilling, and other construction activities may contain chemicals, including lead, known to the State of California to cause cancer, birth defects, or other reproductive harm. Wash hands after handling. Some examples of these chemicals are:
• Lead from lead-based paints.
• Crystalline silica from bricks, cement, and other masonry products.
• Arsenic and chromium from chemically treated lumber.
Your risk from these exposures varies depending on how often you do this type of work. To reduce your exposure to these chemicals, work in a well-ventilated area with approved safety equipment such as dust masks specially designed to filter out microscopic particles.
DISC SANDER SAFETY WARNINGS
WARNING! Do not operate the power tool until you have read and understood the following instructions and the warning labels.
DISC SANDER SAFETY
- Tool Purpose. Your disc sander is intended for sanding natural, solid woods and composite materials. Operations for which the tool was not designed, including modification of the machine, may cause machine damage or personal injury, and invalidate the warranty.
- Work Environment. Do not operate the tool in wet or damp conditions; doing so significantly increases the risk of electrical shock. Do not operate the tool in the presence of flammable liquids or gases; sparks generated by the tool could ignite these flammable materials. Keep the work area clean.
- Securing the Tool. For operation safety, mount the machine to a flat and secure work surface or stand.
- Personal Safety. Tie back long hair. Do not wear loose clothing or jewelry as they might get drawn in by the tool. Always wear ANSI Z87.1-approved glasses with side shields, hearing protection and a dust mask when using the sander.
- Do not wear gloves while operating this machine.
- Dust Collection. Use of sanders can produce harmful particles while sanding certain types of woods. Be sure to wear a dust mask and connect the sander to an adequate dust collection system.
- Tool & Accessories inspection. Before operation, check the tool and accessories for any damage or missing parts. Do not use the tool if any part is missing or damaged. Make sure all adjustments are correct and all connections are tight. Keep all guards in place.
- Prevent Accidental Starting. Make sure the power switch is in the OFF position prior to plugging in the machine. Always make sure the power switch is in the OFF position and the machine is unplugged when doing any cleaning, assembly, setup operations, or when not in use.
- Keeps Hands Away. Keep your hands and all other body parts away from the rotating sanding disc. Do not attempt to stop the sanding disc with your hand. Keep hands at a safety distance from the disc while sanding.
- Sanding Disc. Use only 12-inch PSA adhesive backed sanding discs.. The use of any accessories or attachments not recommended may cause injury to you and damage your machine. Replace worn, folded or torn discs. Replacement sanding discs can be purchased from wenproducts.com by searching 65812SD.
- Table Distance. Maintain a 1/16 inch clearance between the sanding disc and table to avoid trapping the workpiece or fingers.
- Supporting the Workpiece. Always support the workpiece firmly on the worktable. Use the miter gauge or suitable jigs when sanding small workpieces.
- Turning off the Tool. After operation, switch off and unplug the power cord. Allow the tool to stop completely (takes about 4.5 minutes) before cleaning, changing accessories or making adjustments on the tool.
ELECTRICAL INFORMATION
GROUNDING INSTRUCTIONS
In the event of a malfunction or breakdown, grounding provides the path of least resistance for an electric current and reduces the risk of electric shock. This tool is equipped with an electric cord that has an equipment grounding conductor and a grounding plug. The plug MUST be plugged into a matching outlet that is properly installed and grounded in accordance with ALL local codes and ordinances.
- Do not modify the plug provided. If it will not fit the outlet, have the proper outlet installed by a licensed electrician.
- Improper connection of the equipment grounding conductor can result in electric shock. The conductor with the green insulation (with or without yellow stripes) is the equipment grounding conductor. If repair or replacement of the electric cord or plug is necessary, DO NOT connect the equipment grounding conductor to a live terminal.
- Check with a licensed electrician or service personnel if you do not completely understand the grounding instructions or whether the tool is properly grounded.
- Use only three-wire extension cords that have three-pronged plugs and outlets that accept the tool’s plug. Repair or replace a damaged or worn cord immediately.
CAUTION! In all cases, make certain the outlet in question is properly grounded. If you are not sure, have a licensed electrician check the outlet.

GUIDELINES AND RECOMMENDATIONS FOR EXTENSION CORDS
When using an extension cord, be sure to use one heavy enough to carry the current your product will draw. An undersized cord will cause a drop in line voltage resulting in loss of power and overheating. The table below shows the correct size to be used according to cord length and ampere rating. When in doubt, use a heavier cord. The smaller the gauge number, the heavier the cord.
| AMPERAGE | REQUIRED GAUGE FOR EXTENSION CORDS | |||
| 25 ft. | 50 ft. | 100 ft. | 150 ft. | |
| 8A | 18 gauge | 16 gauge | 16 gauge | 14 gauge |
- Examine extension cord before use. Make sure your extension cord is properly wired and in good condition. Always replace a damaged extension cord or have it repaired by a qualified person before using it.
- Do not abuse extension cord. Do not pull on cord to disconnect from receptacle; always disconnect by pulling on plug. Disconnect the extension cord from the receptacle before disconnecting the product from the extension cord. Protect your extension cords from sharp objects, excessive heat and damp/wet areas.
- Use a separate electrical circuit for your tool. This circuit must not be less than a 12-gauge wire and should be protected with a 15A time-delayed fuse. Before connecting the motor to the power line, make sure the switch is in the OFF position and the electric current is rated the same as the current stamped on the motor nameplate. Running at a lower voltage will damage the motor.
UNPACKING & PACKING LIST
UNPACKING
With the help of a friend or trustworthy foe, such as one of your in-laws, carefully remove the disc sander from the packaging and place it on a sturdy, flat surface. Make sure to take out all contents and accessories. Do not discard the packaging until everything is removed. Check the packing list below to make sure you have all of the parts and accessories. If any part is missing or broken, please contact customer service at 1-847-429-9263 (M-F 8-5 CST), or email [email protected].
PACKING LIST
| Description | Qty. |
| Sander | 1 |
| *60-Grit Sanding Disc | 1 |
| Work Table | 1 |
| Pivot Indexing Pin | 2 |
| Bevel Locking Handle with Washer | 2 |
| Miter Gauge | 1 |
| Dust Hose | 1 |
| 3mm Hex Wrench | 1 |
CLEANING THE SURFACES
- Your tool comes protected with a layer of anti-rust coating. Clean all rust protected surfaces using a soft cloth, moistened with kerosene. Do not use gasoline, or cellulose-based solvents such as paint thinner or lacquer thinner, as these will damage the painted
surfaces. - Apply a coat of paste wax to the table to prevent rust. Wipe all parts thoroughly with a clean, dry cloth. * Pre-installed on the unit.
KNOW YOUR DISC SANDER
TOOL PURPOSE
Sand, smooth, and remove jagged edges with your WEN Disc Sander. Refer to the following diagrams to become familiarized with all the parts and controls of your disc sander. The components will be referred to later in the manual for assembly and operation instructions.
ASSEMBLY & ADJUSTMENTS
WARNING! To prevent serious injury from accidental operation, make sure the power cord is disconnected from the power source and the tool is turned OFF before assembly or making any adjustments.
SECURING SANDER TO A WORKBENCH
For safe operation, the machine must be secured onto a flat, secure workbench or stand. Refer to the base dimensions shown in Fig. 2. For temporary mounting, attach a large C-Clamp to each side of the sander and the workbench. For permanent mounting, follow the instructions below:
- Place the sander on a stable workbench.
- A mounting hole (Fig. 1 – 1) is located on each leg towards the rear of the sander body. Insert a pencil through the two mounting holes and mark the hole locations on the workbench.
- Remove sander. Drill two 3/8” holes through the workbench.
- Align the sander base over the mounting holes and secure it using two 5/16” screws and washers, locking washers, and hex nuts (mounting hardware not included).
NOTE:
Your sander is compatible with the WEN 6588T and MSA658T Multipurpose Planer Stand, available at wenproducts.com. Forget measuring and drilling holes on your workbench, simply mount your machine onto the mobile stand with pre-drilled holes, and transport your machine around the workshop with ease.

WARNING! To prevent serious injury from accidental operation, make sure the power cord is disconnected from the power source and the tool is turned OFF before assembly or making any adjustments.
INSTALLING / CHANGING THE SANDING DISC
Your sander comes with a 60-Grit PSA (pressure sensitive adhesive) sanding disc. This is a coarse sanding disc that is good for quick stock removal. For finish sanding, you will need a finer-grit sanding disc. Additional sanding discs can be purchased from wenproducts.com by searching 65812SD. Follow the steps below to replace a sanding disc:
NOTE: Only 12-inch sanding discs with pressure sensitive adhesive (PSA) can be used. Hook & loop sanding discs or sanding discs of different size cannot be used on this sander.
- Remove the disc guard and dust cover to expose the sanding disc plate.
- Peel the used sanding disc from the metal disc plate. TIP: A putty knife, dryer, or heat gun may help with this process.
- Wipe clean the disc plate to make sure it is clean of any residue. You can use mineral spirits to soften the PSA adhesives to remove any residue from the plate. Rotate the disc by hand to get access to all of the disc surface.
- Peel the protective backing from the new PSA 12-inch sanding disc. Align the sanding disc with the plate, and press the disc firmly onto the plate, leaving no loose edges.
- Re-install the disc guard on the right side of the sanding disc, and secure with the Phillips head screws and washers. Re-install the dust cover against the bottom of the disc, and fasten with the Phillips head screws.
NOTE: It is important to install the disc guard, as it prevents you from sanding on the wrong side of the disc. ONLY sand on the left side of the disc, where the disc is rotating downwards (toward the table).
USING DUST COLLECTION
Sanding operations are dusty and can produce particles that are harmful to your health. Always wear a dust mask and use an adequate dust collection system.
Connect the included dust hose to the sander’s dust port (Fig. 3 – 1), and connect the other end to the dust collection system of your choice. A dust port adapter may be needed (not included), depending on the inlet size of your dust extractor.
WORK TABLE ASSEMBLY
- Holding the table flat, slide it onto the base frame.
- Thread the pivot indexing pin fully into the pivot hole, through the scale plate. The scale plate should ride along the outside of the indexing pin head.
- Insert the bevel locking handle through the flat washer, the scale plate and into the front hole on each side of the base frame.
NOTE: The bevel locking handles are threaded and spring-loaded. Pull out the handle to re-position it. Push in the handle and rotate it to tighten or loosen the table. After tightening the handle, re-position it so that the handle is pointing downwards, to prevent it from interfering with the work table . - Follow the instructions on the next page to properly adjust the work table and miter gauge.

WARNING! To prevent serious injury from accidental operation, make sure the power cord is disconnected from the power source and the tool is turned OFF before assembly or making any adjustments.
SETTING THE TABLE DISTANCE
WARNING! To avoid trapping the workpiece or fingers between the table and the sanding disc, the table edge should be set at about 1/16 inch away from the sanding disc.
- You can check the table distance with a 1/16” drill bit:
Try to insert the bit between the table and the disc. It should barely fit into the space. If adjustment is needed, follow the instructions below. - Loosen the six hex bolts under the table support brackets (Fig.5 – 1).
- Using the 1/16” drill bit as a spacer, place it between the sanding disc and the inner edge of the table. Move the table into position against the drill bit.
- Hold the table in place and tighten the six hex bolts.
- Remove the drill bit.

SQUARING THE TABLE
To ensure accurate end sanding, the work table must be square to the sanding surface prior to operation. Follow the steps below to make sure your table is square with the sanding disc at the 0° setting.
- Loosen the two bevel locking handles (Fig. 6 – 1) and slide the table into the 0° position indicated on the bevel scale (Fig. 6 – 2). Tighten the two locking handles.
- Place a square against the sanding disc and the table. Check if the surface of the table is square to the disc.
- If adjustment is needed, loosen the two bevel locking handles and slide the table against the edge of the square so that it is perpendicular to the sanding disc. Tighten the two bevel locking handles.
- Using a Phillips head screw driver, loosen the screw securing the bevel pointer and adjust it to point to 0° on the bevel scale. Tighten the Phillips head screw.
- Recheck the square.
SQUARING THE MITER GAUGE
The miter gauge included with your sander attaches onto the work table to provide support for your workpiece and help you sand at the desired miter angle. It is recommended to use the miter gauge to support small workpieces. The miter gauge can be set anywhere from 0° to 60° (right or left). To check and adjust the squaring of the miter gauge:
- Loosen the miter lock knob, and set the miter gauge to 0° (indicated on the miter scale).
- Place a square against the sanding disc and the flat face of the miter gauge. Check if the miter gauge face is 90° to the sanding surface.
- If adjustment is needed, loosen the miter lock knob and slide the miter gauge so that it is perpendicular to the sanding disc. Tighten the miter lock knob.
- Using a Phillips head screw driver, loosen the screw securing the miter point and adjust it to point to 0° on the miter scale. Tighten the Phillips head screw.
- Recheck the square.
OPERATION
WARNING! Do not operate this tool until all parts have been properly assembled. To prevent serious injury, make sure all the warnings and instructions have been read and understood before operation.
ON/OFF SWITCH WITH SAFETY KEY
The power switch includes a safety key to prevent unauthorized use of the sander to increase safety.
WARNING! Remove the safety key whenever the sander is not in use. Place the key in a safe place and out of the reach of children.
- To turn the sander ON, insert the safety key (Fig. 7 – 1) into the key slot in the center of the ON / OFF switch (Fig. 7 – 2). Push the switch to the ON position to start the sander.
- To turn the sander OFF, push switch to the OFF position and remove the safety key. The sander may take a few minutes to come to a complete stop.
WARNING! Do not operate this tool until all parts have been properly assembled. To prevent serious injury, make sure all the warnings and instructions have been read and understood before operation.
SANDING OPERATION
Your disc sander is designed for sanding outside edges and the ends of workpieces. The sanding disc rotates counterclockwise, so you should ONLY work on the left side of the disc, where the disc applies downward pressure on the workpiece against the table. Sanding on the wrong side of the disc will cause the workpiece to fly up and cause injuries. 
- Turn ON the sander. It will take a few seconds for the disc to reach full speed.
- Hold the workpiece down firmly against the table. Carefully feed the workpiece into the left side of the disc. Move workpiece back and forth against the sanding disc; do not hold workpiece in one place for too long to avoid burning the work surface. Do not
use excessive pressure to prevent overloading the sander.
NOTE: When sanding small workpieces, make sure to use proper support, such as the included miter gauge or other jigs. Small workpieces must be adequately supported, otherwise they may fly out and cause injuries. - When the sanding operation is finished, turn off the sander and remove the safety key. It may take a few minutes for the disc to stop. DO NOT touch the sanding disc while it is still rotating.
BEVEL SANDING
The worktable can be tilted for bevel sanding. Loosen the two locking handles, and tilt the worktable to the desired angle as indicated on the bevel gauge. Re-tighten the table locking handles.
WARNING! To avoid jamming fingers or workpiece between the table and sanding surface, the table should maintain a maximum of 1/16” distance from the sanding disc. Check and reposition the table as necessary.
MAINTENANCE
WARNING! To avoid accidents, make sure the power switch is in the OFF position and unplug the tool from the electrical outlet before cleaning or performing any maintenance. Servicing of the tool must be performed by a qualified technician.
GENERAL MAINTENANCE
- Before each use, inspect the general condition of the tool.
Check for:
• Loose hardware,
• Misalignment or binding of moving parts,
• Damaged cord/electrical wiring,
• Cracked or broken parts, and
• Any other condition that may affect its safe operation. - After every operation, use a vacuum to remove sanding dust and chips from the tool and work area. Wipe the tool clean with a soft cloth. Make sure water does not get into the tool.
CAUTION: Most plastics are susceptible to damage from various types of commercial solvents. Do not use any solvents or cleaning products that could damage the plastic parts. Some of these include but are not limited to: gasoline, carbon tetrachloride, chlorinated cleaning solvents, and household detergents that contain ammonia. - Keep the ventilation openings free from dust and debris to prevent the motor from overheating.
- Store the tool in a clean and dry place away from the reach of children.
- Store sanding discs away from extremely hot/dry temperatures. Be careful not to fold or tear the sanding disc.
PRODUCT DISPOSAL
Used power tools should not be disposed of together with household waste. This product contains electronic components that should be recycled. Please take this product to your local recycling facility for responsible disposal and to minimize its environmental impact.
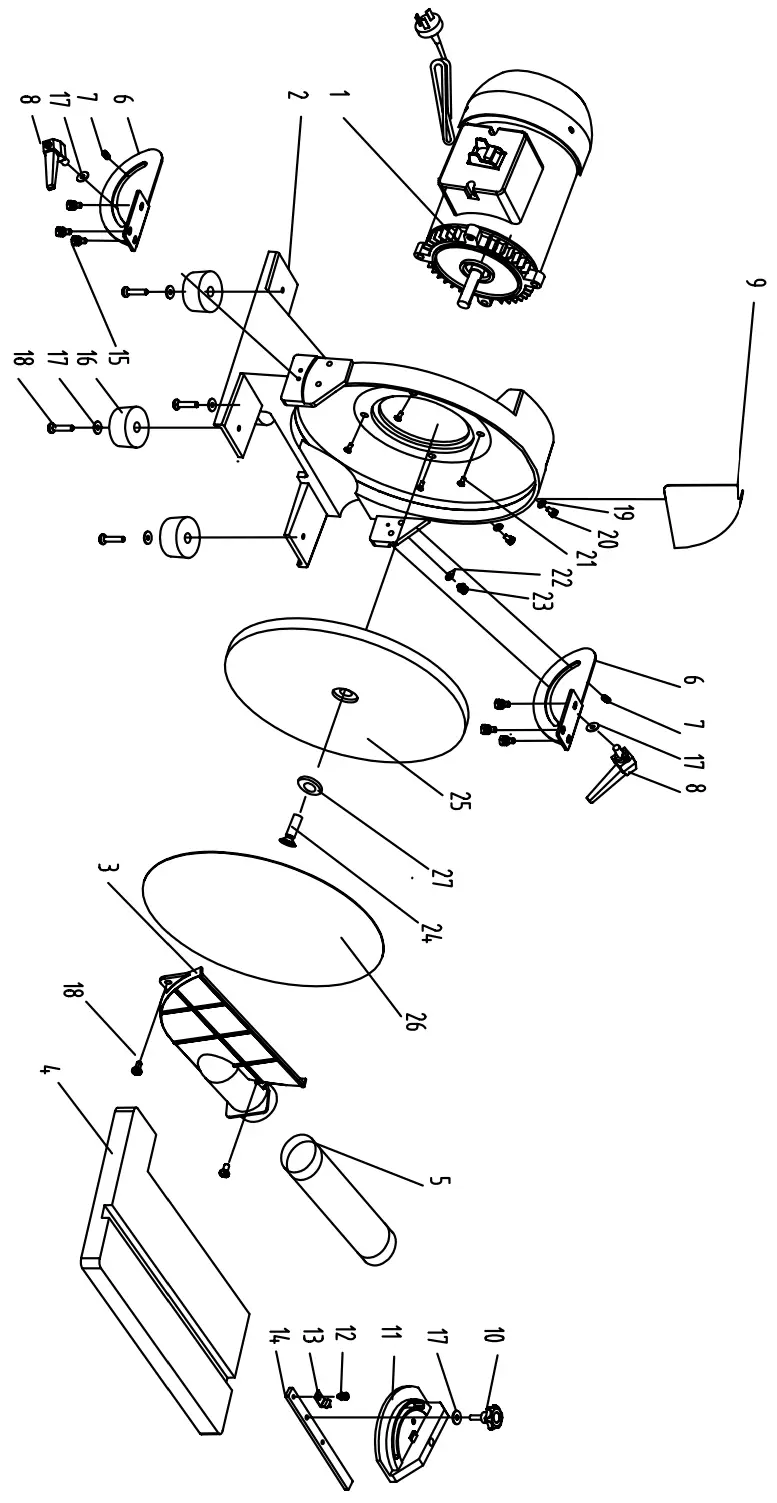
EXPLODED VIEW & PARTS LIST

EXPLODED VIEW & PARTS LIST
| No. | Model No. | Description | Qty |
| 1 | 65812-001 | Motor Assembly | 1 |
| 2 | 65812-002 | Base | 1 |
| 3 | 65812-003 | Dust Cover | 1 |
| 4 | 65812-004 | Work Table | 1 |
| 5 | 65812-005 | Hose Assembly | 1 |
| 6 | 65812-006 | Scale Plate | 2 |
| 7 | 65812-007 | Locating Pin | 2 |
| 8 | 65812-008 | Bevel Locking Knob | 2 |
| 9 | 65812-009 | Disc Guard | 1 |
| 10 | 65812-010 | Miter Gauge Knob | 1 |
| 11 | 65812-011 | Miter Gauge | 1 |
| 12 | 65812-012 | Screw M5x8 | 1 |
| 13 | 65812-013 | Miter Gauge Pointer | 1 |
| 14 | 65812-014 | Miter Rod | 1 |
| 15 | 65812-015 | Hex Bolt M6x10 | 6 |
| 16 | 65812-016 | Rubber Feet | 4 |
| 17 | 65812-017 | Big Flat Washer D6 | 7 |
| 18 | 65812-018 | Screw M6x20 | 6 |
| 19 | 65812-019 | Rubber Washer | 2 |
| 20 | 65812-020 | Screw M5x8 | 2 |
| 21 | 65812-021 | Hex Bolt M8x25 | 4 |
| 22 | 65812-022 | Bevel Scale Plate Pointer | 1 |
| 23 | 65812-023 | Screw M4x8 | 1 |
| 24 | 65812-024 | Screw M6x20 | 1 |
| 25 | 65812-025 | Disc Plate | 1 |
| 26 | 65812SD60 | 60-Grit Sanding Disc | 1 |
| 27 | 65812-027 | Sander Washer | 1 |
TROUBLESHOOTING GUIDE
WARNING! Stop using the tool immediately if any of the following problems occur or risk serious personal injury. If you have any questions, please contact customer service at 1-847-429-9263 (M-F 8-5 CST), or email [email protected].
| PROBLEM | POSSIBLE CAUSE | SOLUTION |
| Motor will not start | 1.Power cord or extension cord damaged or power plug not properly plugged in. 2.Safety key removed from power switch. 3.Defective power switch, defective motor, short circuit in motor or loose connections. | 1.Check the power cord, extension cord, power plug and the power outlet. Do not use if any part is dam-aged. 2.Insert the safety key into the power switch. 3.Stop using the tool and contact customer service at ‘ 1-847-429-9263, M-F 8-5 CST for assistance. |
| Motor overheats | 1.Motor overloaded. 2.Extension cord too long or with an insufficient gauge. | 1.Reduce load on the motor by reducing sanding pressure on the workpiece. 2.Use an extension cord of appropriate gauge and length or plug tool directly into the outlet. |
| Workpiece gets pulled out of hands | 1.Workpiece not properly supported. 2.Sanding workpiece too small. | 1.Hold down the workpiece firmly against the work table. Use the miter gauge to support the workpiece. 2.Hold small workpieces against miter gauge. Use a jig to grasp or hold the workpiece. |
| Workpiece lifts up from the sanding disc | 1. Sanding on the “up” side of the wheel. | 1. Make sure the disc guard is installed. Sand on left side of sanding disc (as operator faces the disc). |
| Bums on workpiece | 1. Too much pressure. 2. Work held still for too long. 3.Sanding grit too fine. | 1.Reduce sanding pressure on the workpiece. 2.Move workpiece back and forth against the sanding disc. Do not keep workpiece in one place for too long. 3.Use a coarser-grit sanding disc. |
| Sanding grains easily rub off sanding disc | 1.Sanding disc has been damaged or folded. 2.Sanding disc has been stored in an incorrect environment. | 1.Do not fold sanding disc. Replace with folded disc with new sanding disc. 2.Store sanding accessories away from extremely hot/dry temperatures. |
| Deep sanding grooves or scars in workpiece | 1.Sanding disc grit is too coarse for the desired finish. 2.Too much sanding force on workpiece. 3.Workpiece is held still against the disc for too long. 4.Workpiece is sanded across the grain of the wood. | 1.Use a finer-grit sanding disc. 2.Reduce pressure on workpiece while sanding. 3.Keep workpiece moving while sanding. 4.Sand with the grain of the wood. |
| Sanding surface clogs quickly | 1. Too much pressure against sanding disc. 2• Sanding softwood. | 1.Reduce pressure on workpiece while sanding. 2.Softwood clogs sandpaper easily. Clean or replace sanding disc frequently. |
WARRANTY STATEMENT
WEN Products is committed to building tools that are dependable for years. Our warranties are consistent with this commitment and our dedication to quality.
LIMITED WARRANTY OF WEN PRODUCTS FOR HOME USE
GREAT LAKES TECHNOLOGIES, LLC (“Seller”) warrants to the original purchaser only, that all WEN consumer power tools will be free from defects in material or workmanship during personal use for a period of two (2) years from date of purchase or 500 hours of use; whichever comes first. Ninety days for all WEN products if the tool is used for professional or commercial use. Purchaser has 30 days from the date of purchase to report missing or damaged parts.
SELLER’S SOLE OBLIGATION AND YOUR EXCLUSIVE REMEDY under this Limited Warranty and, to the extent per-mitted by law, any warranty or condition implied by law, shall be the replacement of parts, without charge, which are defective in material or workmanship and which have not been subjected to misuse, alteration, careless handling, misrepair, abuse, neglect, normal wear and tear, improper maintenance, or other conditions adversely affecting the Product or the component of the Product, whether by accident or intentionally, by persons other than Seller. To make a claim under this Limited Warranty, you must make sure to keep a copy of your proof of purchase that clearly defines the Date of Purchase (month and year) and the Place of Purchase. Place of Purchase must be a direct ven-dor of Great Lakes Technologies, LLC. Purchasing through third party vendors, including but not limited to garage sales, pawn shops, resale shops, or any other secondhand merchant, voids the warranty included with this product. Contact techsupportewenproducts.com or 1-847-429-9263 with the following information to make arrangements: your shipping address, phone number, serial number, required part numbers, and proof of purchase. Damaged or defective parts and products may need to be sent to WEN before the replacements can be shipped out.
Upon the confirmation of a WEN representative, your product may qualify for repairs and service work. When re-turning a product for warranty service, the shipping charges must be prepaid by the purchaser. The product must be shipped in its original container (or an equivalent), properly packed to withstand the hazards of shipment. The product must be fully insured with a copy of the proof of purchase enclosed. There must also be a description of the problem in order to help our repairs department diagnose and fix the issue. Repairs will be made and the product will be returned and shipped back to the purchaser at no charge for addresses within the contiguous United States.
THIS LIMITED WARRANTY DOES NOT APPLY TO ITEMS THAT WEAR OUT FROM REGULAR USAGE OVER TIME, INCLUDING BELTS, BRUSHES, BLADES, BATTERIES, ETC. ANY IMPLIED WARRANTIES SHALL BE LIMITED IN DURATION TO TWO (2) YEARS FROM DATE OF PURCHASE. SOME STATES IN THE U.S. AND SOME CANADIAN PROVINCES DO NOT ALLOW LIMITATIONS ON HOW LONG AN IMPLIED WARRANTY LASTS, SO THE ABOVE LIMI-TATION MAY NOT APPLY TO YOU.
IN NO EVENT SHALL SELLER BE LIABLE FOR ANY INCIDENTAL OR CONSEQUENTIAL DAMAGES (INCLUDING BUT NOT LIMITED TO LIABILITY FOR LOSS OF PROFITS) ARISING FROM THE SALE OR USE OF THIS PRODUCT. SOME STATES IN THE U.S. AND SOME CANADIAN PROVINCES DO NOT ALLOW THE EXCLUSION OR LIMITATION OF INCIDENTAL OR CONSEQUENTIAL DAMAGES, SO THE ABOVE LIMITATION OR EXCLUSION MAY NOT APPLY TO YOU.
THIS LIMITED WARRANTY GIVES YOU SPECIFIC LEGAL RIGHTS, AND YOU MAY ALSO HAVE OTHER RIGHTS WHICH VARY FROM STATE TO STATE IN THE U.S., PROVINCE TO PROVINCE IN CANADA AND FROM COUNTRY TO COUNTRY.
THIS LIMITED WARRANTY APPLIES ONLY TO ITEMS SOLD WITHIN THE UNITED STATES OF AMERICA, CANA-DA AND THE COMMONWEALTH OF PUERTO RICO. FOR WARRANTY COVERAGE WITHIN OTHER COUNTRIES, CONTACT THE WEN CUSTOMER SUPPORT LINE. FOR WARRANTY PARTS OR PRODUCTS REPAIRED UNDER WARRANTY SHIPPING TO ADDRESSES OUTSIDE OF THE CONTIGUOUS UNITED STATES, ADDITIONAL SHIPPING CHARGES MAY APPLY.
THANKS FOR REMEMBERING
NEED HELP? CONTACT US!
Have product questions? Need technical support? Please feel free to contact us:
1-847-429-9263 (M-F 8AM-5PM CST)
[email protected]
For replacement parts and the most up-to-date
instruction manuals, visit WENPRODUCTS.COM
















