INDUSTRIAL 01946 4X8 Inch Belt Disc Sander
Instruction Manual
01946
machinery specialists since 1968
4” x 8”
Belt Disc Sander
Please read and fully understand the instructions in this manual before operation. Keep this manual safe for future reference
SAFETY INSTRUCTIONS
IMPORTANT: Please read the following instructions carefully, failure to do so could lead to serious personal injury and/or damage to the Belt Disc Sander. When using your belt disc sander, basic safety precautions should always be followed to reduce the risk of fire, electric shock, personal injury, and/or damage to the belt disc sander. Read all these instructions before operating the belt disc sander and save this user manual for future reference.
SIP recommends that this belt disc sander should not be modified or used for any application other than that for which it was designed. If you are unsure of its relative applications do not hesitate to contact us and we will be more than happy to advise you.
The sander is only designed for sanding wood or wood composites – It is not designed for sanding metals.
KNOW YOUR BELT DISC SANDER: Read and understand the owner’s manual and labels affixed to the belt disc sander. Learn its applications and limitations, as well as the potential hazards specific to it.
DO NOT USE THE BELT DISC SANDER IN DANGEROUS ENVIRONMENTS: Do not use your belt disc sander in damp or wet locations, or expose it to rain. Always provide adequate space around the belt disc sander.
KEEP CHILDREN AND UNTRAINED PERSONNEL AWAY FROM THE WORK AREA:
All visitors should be kept at a safe distance from the work area.
STAY ALERT: Always watch what you are doing and use common sense.
DISCONNECT THE BELT DISC SANDER FROM THE MAINS SUPPLY: When not in use.
DO NOT ABUSE THE MAINS LEAD: Never pull the mains lead it to remove the plug from the mains socket. Keep the mains lead away from heat, oil, and sharp edges. If the mains lead is damaged, it must be replaced by the manufacturer or its service agent or a similarly qualified person in order to avoid unwanted hazards.
HAVE YOUR BELT DISC SANDER REPAIRED BY A QUALIFIED PERSON: The belt disc sander is in accordance with the relevant safety requirements. Repairs should only be carried out by qualified persons using original spare parts, otherwise, this may result in considerable danger to the user.
- DANGER! Check that the belt disc sander is in sound condition and in good working order. Take immediate action to repair or replace damaged parts.
- USE RECOMMENDED PARTS ONLY – Unapproved parts may be dangerous and will invalidate the warranty.
- WARNING! Only operate on a level and stable surface.
- WARNING! Do not allow untrained persons to operate the machine and do not operate the machine without all covers etc. correctly fitted.
- WARNING! RISK OF ELECTRIC SHOCK. Do not expose the belt disc sander to water spray, rain, dripping water or moisture of any kind.
Do not move or handle the machine when it is running. - Do not leave the machine unattended when in use. Switch the machine off and unplug from the mains supply before leaving the work area.
- Do not allow children or animals near the belt disc sander, particularly when in use.
- Ensure that the belt disc sander is correctly turned off when not in use and stored in a safe, dry area, out of reach of children.
- Do not unplug the belt disc sander to switch it off – always use the on/off switch.
- ALWAYS locate the belt disc sander on a stable and level surface.
- Never stand on the belt disc sander.
- DO NOT dismantle or tamper with the belt disc sander, as this may be dangerous and will invalidate the warranty.
- Always ensure that the belt/disc sander is turned off and that the mains lead is removed from the supply during all cleaning and maintenance procedures, and when changing the disc or track / changing the belt.
WARNING: Risk of Electric Shock!
- Use only the electrical power (voltage and frequency) specified on the model plate of the belt disc sander. If in doubt contact the manufacturer.
- Use only a three-prong, grounded outlet where required.
- ALWAYS unplug the belt disc sander when not in use.
- Always wear approved eye protection.
- Always wear respiratory protection.
- It is advisable to ensure the operator as well as those in the area wear ear protection, particularly during extended periods of use.
- Never wear gloves, neck-ties, jewelry or lose clothing, and always contain long hair during operation.
- Support the workpiece with the miter gauge, backstop, or worktable.
- Maintain a 1/16” maximum distance between the table and the sanding belt/disc.
- Avoid kickback by sanding in accordance with the directional arrows.
- Always mount the sander securely on a firm-level surface.
- Do not expose the sander to rain or moisture.
- Always disconnect the sander from the mains supply before making repairs or adjustments
- Do not move or handle the machine when it is running.
If a problem with the belt disc sander is experienced, or if the main lead or plug becomes damaged, contact your distributor for repair.
If the charger is used in a place of work all rules and laws etc. relating to the use of portable electrical appliances should be followed.
Safety Symbols Used Throughout This Manual.
![]() | Danger / Caution: Indicates risk of personal injury and/or the possibility of damage. |
![]() | Warning: Risk of electrical injury or damage! |
![]() | Note: Supplementary information. |
Operational Safety.
![]() | When using the sander always ensure the operator as well as those in the area wear eye protection. |
| Sanding operations will cause dust to become airborne with the potential to be highly toxic; always wear a face mask during these operations, as well as ensure the area is well-ventilated. It is also highly recommended to use a dust collector to reduce airborne particles. | |
| When using this sander, it is advisable to ensure the operator as well as those in the area wear ear protection, particularly during extended periods of use. | |
![]() | CAUTION: The warnings and cautions mentioned in this user manual can not cover all possible conditions and situations that may occur. It must be understood by the operator that common sense and caution are factors that cannot be built into this product but must be applied. |
ELECTRICAL CONNECTION
WARNING! It is the responsibility of the owner and the operator to read, understand and comply with the following: You must check all electrical products, before use, to ensure that they are safe. You must inspect power cables, plugs, sockets, and any other connectors for wear or damage.
You must ensure that the risk of electric shock is minimized by the installation of appropriate safety devices;
A residual current circuit Breaker (RCCB) should be incorporated in the main distribution board. We also recommend that a residual current Device (RCD) is used. It is particularly important to use an RCD with portable products that are plugged into a supply that is not protected by an RCCB. If in any doubt consult a qualified electrician.
Connecting to the power supply:
This SIP sander is fitted with a standard 230v ~ 13 amp type plug. Before using the machine, inspect the main lead and plug to ensure that neither are damaged. If any damage is visible have the machine inspected/repaired by a suitably qualified person. If it is necessary to replace the plug a heavy-duty impact-resistant plug would be preferable.
The wires for the plug are coloured in the following way:
Yellow / green ……..Earth
Blue……………………..Neutral
Brown………………. Live
As the colours of the wires may not correspond with the markings in your plug, proceed as follows: The wire which is coloured blue must be connected to the terminal marked with N or coloured black. The wire which is coloured brown must be connected to the terminal, which is marked L or coloured red. The wire which is coloured yellow/green should be connected to the terminal which is colored the same or marked![]()
Always secure the wires in the plug terminal carefully and tightly. Secure the cable in the cord grip carefully.
![]() | Warning: Never connect live or neutral wires to the earth terminal of the plug. Onlfit an approved plug with the correct rated fuse. If in doubt consult a qualified electrician. |
![]() | Note: Always make sure the mains supply is of the correct voltage and the correct fuse protection is used. In the event of replacing the fuse always replace the fuse with the same value as the original. |
![]() | Note: If an extension lead is required in order to reach the mains supply; ensure that this too is rated for the correct voltage and fuse rating. |
![]() | Note: The cross-section of the extension lead should be checked so that it is of sufficient size so as to reduce the chances of voltage drops. |
GUARANTEE
Guarantee: This SIP belt/disc sander is covered by 12-month parts and labour warranty, covering failure due to manufacturers’ defects. This does not cover failure due to misuse or operating the sander outside the scope of this manual – any claims deemed to be outside the scope of the warranty may be subject to charges including, but not limited to parts, labour and carriage costs. Consumable items such as fuses, sanding belts and discs are not covered by the warranty. In the unlikely event of warranty claims, contact your distributor as soon as possible. Proof of purchase will be required before any warranty can be honoured.
Note: Proof of purchase will be required before any warranty can be honoured.
TECHNICAL SPECIFICATIONS
| Model No. | 1946 |
| Supply | 230v ~ 50Hz |
| Power | 500w (Induction motor) |
| Belt speed | 550m/min |
| Disc speed | 2850rpm |
| Disc workable tilt | 0°-45° |
| Belt tilt | 0°-90° |
| Disc size | 8” (203mm) |
| Belt size | 4” x 36” (100mm x 914mm) |
| Table size (Sanding disc) | 264mm x 150mm |
| Table size (Sanding bed) | 170mm x 125mm |
GETTING TO KNOW YOUR BELT / DISC SANDER

CONTENTS AND ACCESSORIES

| Ref | Description | QTY |
| A | Belt/disc sander | 1 |
| B | Mitre guide | 1 |
| C | Disc worktable | 1 |
| D | Hex key | 1 |
| E | Dust bag | 1 |
| F | Washers | 3 |
| G | Knob | 1 |
| H | Lock handle | 2 |
| I | Belt worktable | 1 |
| J | Dust extraction port | 1 |
| K | Dust bag clamp | 1 |
Note: If any of the above items are missing, contact your distributor immediately.
ASSEMBLY INSTRUCTIONS
Attaching the disc worktable.
- Locate the worktable lock handles (1) and washers (2).
- Place the worktable (3) onto the sander, aligning the semicircle slot (4) and the threaded hole (5).
- Put a washer (2) on the workable lock handle (1), insert through the semi-circular slot (4), and then tighten into the threaded hole (5), repeat on the other side of the table.

Note: Always check to make sure both handles are tight before beginning any sanding operations.
Caution: To avoid trapping the workpiece or fingers between the worktable (1) and the sanding disc (2), leave a maximum gap of 1.6mm as shown in fig.1
Attaching the belt worktable. 
- Loosen the belt angle locking screw (1) using a 5mm hex key, raise the belt bed (2) into a vertical position, then re-tighten the screw.
- Locate the worktable knob (3) and washer (4).
- Place the worktable (5) onto the sander frame, aligning the semi-circle slot (6) with the threaded hole (7).
- Place a washer (4) onto the threaded shaft of the worktable knob (3).
- Insert through a semi-circular slot (6) and tighten into the threaded hole (7).

Note: The belt worktable should be used to support work-pieces in all sanding operations except for inside curve applications.
Attaching the extraction port.
- Ensure that the belt bed (1) is in the vertical position (as shown on page12).
- Loosen the hex screw (2) using a 5mm hex screw, attach the dust extraction port (3) to the dust port (4), and re-tighten the hex screw (2).
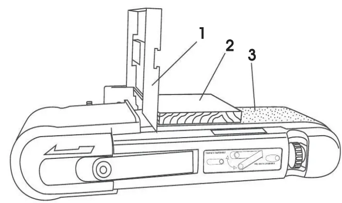
Attaching the dust bag. - Insert the opening of the dust bag (4) into the bag clamp (5).
- Attach the dust bag (4) to the dust port (3).
- Tighten the bag clamp handle (7) clockwise one or two full turns before locking, do not over-tighten.

Note: It is extremely important that the dust bag is connected to the machine before any sanding operations are carried out, we also recommend using a mask or respirator even when the dust bag is connected.
ADJUSTMENTS
Adjusting the table square with the disc.
- Using a combination square (1), place one side of the square on the disc worktable (2) with the other side against the sanding disc (3) to check to see if the disc worktable is at 90°.
- If it’s not at 90°, loosen the lock handles (4).
- Adjust the table square with the disc and re-tighten the lock handles (4).
- Loosen the screw (5) and set the scale pointer (6) to 0°.
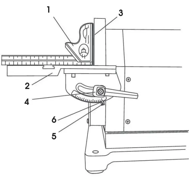
Adjusting the table square with the belt. 
- Again, using the combination square (1), place one side of the square on to the belt worktable (2), place the other side against the sanding belt (3) and check to see if its at 90°.
- If its not at 90°, loosen the table lock knob (4), adjust the table square to the belt and re-tighten the lock knob.
- Loosen the screw (5) and set the scale pointer (6) to 0°.
Tracking the belt.
- Turn the sanding belt slowly by hand, noting if the belt (1) tends to slide off the bed, and to which side front or back.
- If it doesn’t slide from side to side then the belt is tracked correctly.
- Viewed from the switch end, if the sanding runs towards the disc (2), slightly turn the tracking knob (3) clockwise.
- Viewed from the switch end, if the sanding belt runs away from the disc, slightly turn the tracking knob (3) anti-clockwise.
- Readjust tracking knob another 1/4 turn, as necessary.
OPERATING INSTRUCTIONS
Note: This belt disc sander is designed only for sanding operations involving wood or wood-derived products. It is not suitable for use with any type of metal – your warranty will be void if the sander is used for this purpose.
Belt horizontal sanding. 
When using the sanding belt in the horizontal position, to perform surface or edge sanding, the belt worktable (1) must always be used. Always hold the workpiece (2) firmly, keeping your fingers away from the sanding belt. Always keep the end of the workpiece against the belt worktable (1) and move the work evenly across the sanding belt. Apply only enough pressure to allow the sanding belt to remove material. Use extra caution when sanding very thin pieces.
Sanding inside curves.
Note: To avoid injury, do not apply the end of the workpiece to the idler drum (1). This could cause the workpiece to fly up or cause a kickback.
With care, freehand sanding of inside curves can be accomplished on the idler drum (1). Never attempt to sand the ends of a workpiece on the idler drum (1).
Belt vertical sanding. 
The belt/disc sander can sand vertically as well as horizontally. Depending on the operator’s needs and the workpiece, the worktable can be used with either the horizontal or vertical position.
- Locate the 5 mm hex key.
- Loosen the inner hex screw (1) by turning it anti-clockwise.
- Manually move the sanding bed into the vertical or horizontal position, as required.
- Re-tighten the inner hex screw (1) by turning it clockwise.
Sanding outside curves.
Freehand sanding of outside curves should be done on the sanding disc (1). Keep fingers a minimum of 1 in. (25.4 mm) from the sanding disc.|
Note: Always sand on the right (downward) side of the sanding disc (1) as shown. Sanding on the left (upward) side of the sanding disc could cause the workpiece to jump or kick back.
Note: The edge of the table must be positioned a maximum of 1.6 mm from the sanding disc to avoid trapping the workpiece or fingers between the disc table and the sanding disc.
CARE AND MAINTENANCE
Replacing the sanding disc.
Note: To avoid injury, turn the switch OFF and disconnect the plug from the power source before removing and installing the sanding belt.
Note: A sanding disc is pre-mounted at the factory. Use only sanding discs that measure 8 in. (203 mm) in diameter.
- Remove the disc worktable, and then remove the disc cover (1) by removing six screws (2).
- Remove the existing disc, and clean any residue left on the disc plate (3). Only use mineral spirits to remove this residue.
- Peel the plastic (4) back from the new sanding disc (5) and carefully press the sanding disc firmly in position around the sanding plate. Make sure the disc is centred on the plate.
- Reinstall the disc cover, tighten the screws and place the sanding table back on the unit.
Replacing the sanding belt.
Note: For your safety, turn the switch OFF and remove the main lead from the electrical outlet before adjusting or performing maintenance on your sander.
Note: Use only sanding belts that measure 4 in. (102 mm) in width / 36 in. (914 mm) in length.
- Remove the belt worktable.
- Position the belt work support frame horizontally as shown in Fig. U; Loosen the inner hex screw (1) using a 5 mm hex wrench, turning it anti-clockwise. Do not remove the screw.
- Remove the two screws (2, 3) using a screwdriver, and pull out the tension lever (4) to release the tension of the sanding belt (5). Remove the belt exhaust cover (6).
- Remove the sanding belt (5) from both sanding drums (7).
- Place a new sanding belt over the sanding drums. Make sure the belt arrow located on the inside of the belt is pointed in the right direction.
- Replace the belt exhaust cover (6) into position. Replace and tighten the two screws (2, 3) and push the tension lever (4) in to apply belt tension.
- Track the belt by following the instructions on page 15.
- Plug in the sander and turn the switch ON and OFF quickly to check if the sanding belt moves to either side. Re-adjust and fine-tune the tracking knob if necessary.
TROUBLESHOOTING
| Problem | Possible cause | Suggested corrective action |
| The motor will not run. | 1 . Defective or broken ON/OFF switch. 2. Defective or damaged switch relay. 3. Defective or damaged switch cord. 4. Burned-out motor. 5. Blown house fuse. | 1 -3. Replace all broken or defective parts before using a sander. 4. Contact the supplier for repair. 5. Replace the house fuse. Turn OFF other appliances and power tools on the same circuit. |
| The machine slows down while sanding. | 1.0perator applying too much pressure to workpiece. 2. Dirt on wheels. 3. Wom or stretched belt. | 1 Use less pressure in applying the workpiece to the sanding surface. 2. Clean wheels. 3. Replace the pulley belt. |
| The motor does not develop at full speed. | 1 . Power line overloaded with lights, other tools, etc. 2. Long/wrong extension lead being used 3. Incorrect fuses or circuit breakers in the power line | 1 . Reduce the load on the power line. 2. Replace with the correct extension lead. 3. Install the correct fuses or circuit breakers. |
| The sanding belt runs off pulleys. | 1 . Not tracking properly. | 1 Adjust tracking (see pg15 track-Ina the betty. |
| Wood burns while sanding. | 1 . Sanding disc or bet’ glazed with sap. 2. Excessive pressure being applied to the workpiece. | 1 . Replace the belt or disc. 2. Reduce pressure applied to the workpiece. |
| Motor overheats. | 1. Motor overload. | 1. Reduce motor load. Allow to cool off before restarting. |
| Dust Collection not working. | 1 . Collection bag is full. 2. Dust exhaust is blocked. | 1. Empty collection bag. 2. Turn the sander off and unplug it. Remove the bag and use a vacuum to remove the sawdust blockage. |
EXPLODED DIAGRAM

PARTS LIST
| Ref No. | Description | SIP Part No. |
| 1 | Rubber Foot | WD01-00001 |
| 2 | Screw M4×10 | WD01-00002 |
| 3 | Bottom Plate | WD01-00003 |
| 4 | Screw M8×25 | WD01-00004 |
| 5 | Lock washer M8 | WD01-00005 |
| 6 | Flat washer M8 | WD01-00006 |
| 7 | Base | WD01-00007 |
| 8 | Connect tube | WD01-00008 |
| 9 | Big pulley | WD01-00009 |
| 10 | Poly-v- belt | WD01-00010 |
| 11 | Collector bearing 6000RZ | WD01-00011 |
| 12 | Spring washer D26 | WD01-00012 |
| 13 | Screw ST4.2×15 | WD01-00013 |
| 14 | Fan cover | WD01-00014 |
| 15 | Fan | WD01-00015 |
| 16 | Big washer M5 | WD01-00016 |
| 17 | Spring washer M5 | WD01-00017 |
| 18 | Screw M5×16 | WD01-00018 |
| 19 | Fan Housing | WD01-00019 |
| 20 | Screw M5×10 | WD01-00020 |
| 21 | Front cover | WD01-00021 |
| 22 | Dust storage box | WD01-00022 |
| 23 | Screw M5×8 | WD01-00023 |
| 24 | Exhaust cover | WD01-00024 |
| 25 | Dust exhaust | WD01-00025 |
| 26 | Hex nut M6 | WD01-00026 |
| 27 | Bag Clamp | WD01-00027 |
| 28 | Clamp handle | WD01-00028 |
| 29 | Screw M6×40 | WD01-00029 |
| 30 | Tooth lock washer M5 | WD01-00030 |
| 31 | Tension level | WD01-00031 |
| 32 | Sleeve | WD01-00032 |
| 33 | Tension handle | WD01-00033 |
| 34 | Pin 5×8 | WD01-00034 |
PARTS LIST….cont
| 35 | Pin 5x 10 | WD01-00035 |
| 36 | Screw M5 x 25 | WD01-00036 |
| 37 | Belt tracking knob | WD01-00037 |
| 38 | Flat washer M6 | WD01-00038 |
| 39 | Rubber washer | WD01-00039 |
| 40 | Adjust spring | WD01-00040 |
| 41 | Belt frame | WD01-00041 |
| 42 | Tension spring | WD01-00042 |
| 43 | Sleeve | WD01-00043 |
| 44 | Spring washer M12 | WD01-00044 |
| 45 | Bearing 6001RZ | WD01-00045 |
| 46 | kiler shaft | WD01-00046 |
| 47 | kiler pulley | WD01-00047 |
| 48 | Belt tension assembly | WD01-00048 |
| 49 | Hex screw M6 x 12 | WD01-00049 |
| 50 | Belt working table | WD01-00050 |
| 51 | Big washer M6 | WD01-00051 |
| 52 | Miter gauge Knob | WD01-00052 |
| 53 | Sanding ben 120 grit | 7740 |
| 53 | Sanding belt 60 grit | 7744 |
| 54 | Drive pulley | WD01-00053 |
| 55 | Hex screw M8 x 12 | WD01-00054 |
| 56 | Collector shaft | WD01-00055 |
| 57 | Screw M5 x8 | WD01-00056 |
| 58 | Flat washer M5 | WD01-00057 |
| 59 | Work table angle point | WD01-00058 |
| 60 | Belt frame connect | WD01-00059 |
| 61 | Cord bushing | WD01-00060 |
| 62 | Belt cover | WD01-00061 |
| 63 | Pin 2×10 | WD01-00062 |
| 64 | Spring washer | WD01-00063 |
| 65 | Connection plate | WD01-00064 |
| 66 | Right cover | WD01-00065 |
| 67 | Left cover | WD01-00066 |
| 68 | Small pulley | WD01-00067 |
| 69 | Screw M4X12 | WD01-00068 |
| 70 | Belt exhaust | WD01-00069 |
| 71 | Collector mounting shaft | WD01-00070 |
| 72 | Hex screw M5×20 | WD01-00071 |
| 73 | Belt mounting plate | WD01-00072 |
| 74 | End cap | WD01-00073 |
| 75 | Mains lead | WD01-00074 |
| 76 | Strain relief | WD01-00075 |
| 77 | Preventer plate | WD01-00076 |
| 79 | Relay | WD01-00077 |
| 81 | Left end cap | WD01-00078 |
| 82 | Key 5X5X15 | WD01-00079 |
| 83 | Washer | WD01-00080 |
| 84 | Screw M6x16 | WD01-00081 |
| 85 | Sanding disc 150 grit | 6837 |
| 85 | Sanding disc 120 grit | 6839 |
| 85 | Sanding disc 60 grit | 6841 |
| 86 | Disc cover | WD01-00082 |
| 87 | Screw M4×10 | WD01-00083 |
| 88 | Angle pointer | WD01-00084 |
| 89 | Disc left support | WD01-00085 |
| 90 | Handle assembly | WD01-00086 |
| 91 | Disc work table | WD01-00087 |
| 92 | Miter gauge bar | WD01-00088 |
| 93 | Miter gauge | WD01-00089 |
| 94 | Disc right support | WD01-00090 |
| 95 | Bearing 6203RZ | WD01-00091 |
| 96 | Rotor | WD01-00092 |
| 97 | Screw M5×180 | WD01-00093 |
| 98 | Stator | WD01-00094 |
| 99 | Hex nut M5 | WD01-00095 |
| 100 | Motor cover | WD01-00096 |
| 103 | Switch | WD01-00097 |
| 104 | Tube connector | WD01-00098 |
| 105 | Capacitor support1 | WD01-00099 |
| 106 | Capacitor 12μF 450V | WD01-00100 |
| 107 | Hex screw M6×25 | WD01-00101 |
| 108 | Capacitor support 2 | WD01-00102 |
| 109 | Capacitor 100μF 250V | WD01-00103 |
| 110 | Disc plate | WD01-00104 |
| 111 | Flat washer M4 | WD01-00105 |
| 112 | Hex screw M5×8 | WD01-00106 |
| 113 | Dust bag | WD01-00107 |
| 114 | Position shaft | WD01-00108 |
| 115 | Miter gauge pointer | WD01-00109 |
| 116 | Hex nut M8 | WD01-00110 |
| 117 | Dust box cover | WD01-00111 |
| 121 | Scale label left | WD01-00112 |
| 122 | Scale label right | WD01-00113 |
| 123 | Rotation label | WD01-00114 |
| 124 | Belt tension label | WD01-00115 |
| 125 | hex wrench | WD01-00116 |
| 126 | Scale label | WD01-00117 |
| 127 | Spring washer D40 | WD01-00118 |
| 128 | Spring washer M4 | WD01-00119 |
| 129 | Tooth lock washer M4 | WD01-00120 |
| 130 | Bearing bushing | WD01-00121 |
| 131 | Spring pin 4X22 | WD01-00122 |
| 132 | Spring washer M6 | WD01-00123 |
| 133 | Disc work table Knob | WD01-00124 |
| 134 | Hex screw M5×12 | WD01-00125 |
| 135 | Screw M4×10 | WD01-00126 |
| 136 | Spring washer M5 | WD01-00127 |
| 137 | Screw M5×10 | WD01-00128 |
| 138 | Flat washer M5 | WD01-00129 |
| 139 | Lock washer M4 | WD01-00130 |
| 140 | Flat washer M4 | WD01-00131 |
| 141 | Index plate scale | WD01-00132 |
| 142 | Support locating plate | WD01-00133 |
| 143 | Flat washer M8 | WD01-00134 |
UK – DECLARATION OF CONFORMITY
Declaration of Conformity
We
SIP (Industrial Products) Ltd
Gelders Hall Road
Shepshed
Loughborough
Leicestershire
LE12 9NH
England
As the manufacturer within the UK, England, Scotland & Wales, declare that the 4″ x 8″Belt Disc Sander – SIP Part No 01946
Conforms to the requirements of the following directive(s), as indicated.
Electromagnetic Compatibility Regulations 2016
Supply of Machinery (Safety) Regulations 2008
The Restriction of the Use of Certain Hazardous Substances in Electrical and Electronic Equipment Regulations 2012
And The Relevant Harmonised Standard/s, Including
BS EN 55014-1:2017+A11
BS EN 55014-2:2015
BS EN IEC 61000-3-2:2019
BS EN 61000-3-3:2013+A1
BS EN 62841-1:2015
Signed: …
Mr. P. Ippaso – Director – SIP (Industrial Products) Ltd
Date: 02/06/2021
DECLARATION OF CONFORMITY
Declaration of Conformity
We
SIP (Machinery Europe) Ltd
ASM Chartered Accountants
First Floor Block One
Quayside Business Park
Dundalk
County Louth
Republic of Ireland
As the manufacturer’s authorized representative within the EC declare that the
4”x 8” Belt / Disc Sander – SIP Part. No. 01946
Conforms to the requirements of the following directive(s), as indicated.
2006/42/EC……………….Machinery Directive
2014/30/EU……………………EMC Directive
2011/65/EU & (EU)2015/863……………RoHS Directive
And the following harmonized standard(s)
EN 55014-1:2017+A11
EN 55014-2:2015
EN IEC 61000-3-2:2019
EN 61000-3-3:2013+A1
EN 62841-1:2015
Signed: 
Mr. P. Ippaso – Director – SIP (Industrial Products) Ltd
Date: 02/06/2021
Please dispose of the packaging for the product in a responsible manner. It is suitable for recycling. Help to protect the environment, take the packaging to the local amenity tip, and place it into the appropriate recycling bin.
Never dispose of electrical equipment or batteries in your domestic waste. If your supplier offers a disposal facility please use it or alternatively use a recognized re-cycling agent. This will allow the recycling of raw materials and help protect the environment.
FOR HELP OR ADVICE ON THIS PRODUCT PLEASE CONTACT YOUR DISTRIBUTOR, OR SIP DIRECTLY ON:
TEL: 01509500400
EMAIL: [email protected] or [email protected]
www.sip-group.com




Attaching the dust bag.
















