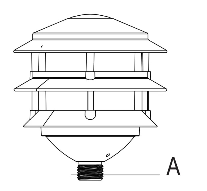
HAMPTON BAY 92899 LAUDERDALE LED Low Voltage RGBW Smart Path Light

Item #xxxx xxx xxx
Model #92899
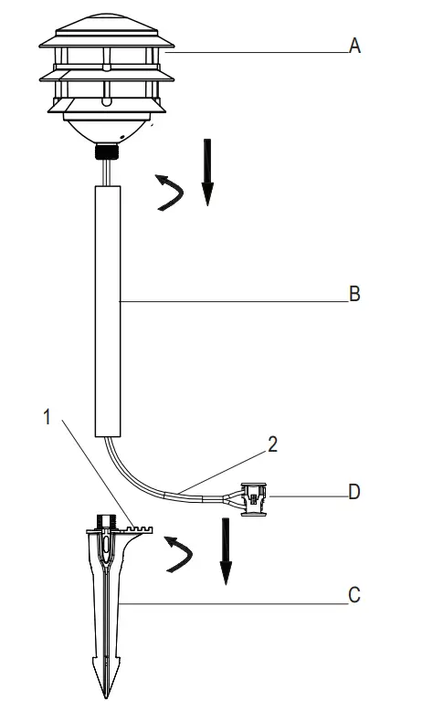
PACKAGE CONTENTS
- A – Fixture head

- B – Post

- C – Stake with foot step

- D – Connector with 12 in. wire length (attached to fixture)

Installation
- Attaching and installing the light
WARNING: Risk of electric shock. Do not install the light within 10 ft. (3.05 m) of a pool, spa or fountain.
NOTE: Do not use a hammer. If the ground is hard, use water to soften it or a trowel to loosen the soil.
• Attach the fixture head (A) to the top post (B) by inserting the upper end of the post (B) into the fixture head and then twisting clockwise.
• Insert the fixture wire (2) into the groove located on the top of the ground stake.
• Attach the post (B) to the stake (C) by placing the bottom of the post (B) onto the top of the stake (C) and twist clockwise.
• Prepare a hole in the installation location. Use a screwdriver to prepare the installation hole to ensure that the hole is not larger than the stake (C).
• Install the fixture in the ground by pushing on the foot step (1) on the stake (C). Do not push the fixture head.
- Connecting the wires
WARNING: The connector contacts (D) have sharp edges for piercing the main low voltage cable. To avoid injury, do not touch the metal contacts.
CAUTION: The wire from the low voltage power unit shall be 12-16 AWG type underground low-voltage cable.
IMPORTANT:
• Protect the wiring by routing it in close proximity to the light, or next to a building structure such as a house or deck.
• Do not bury the wiring by more than 6 in. (15.24 cm) in order to connect to the main secondary wire.
• Do not submerge fixtures in water.
Detach and place the wire connector (D) on opposite sides of the lowvoltage cable (not included) where the fixture will be located.
• Align and fit the main low-voltage cable vertically in the slot of the wire connector as shown.
• Press the wire connector (D) together until it is fully seated and locked around the cable. Pre-set prongs will pierce the cable insulation and establish contact. Turn on the power unit.
• If the light fixture does not turn on, repeat the previous 3 steps.
• Once the clip-on connector is in place, we recommend wrapping it in electrical tape (not included) for additional protection.
Control the Light with Bluetooth® wireless technology and WiFi® network
- Download the Hubspace app
NOTE: To register, enter your email address and a password or login if you already have an account.
NOTE: Bluetooth enabled smart devices typically have a range of approximately 33 ft. (10 m). Attempting to pair your smart device to the pathl ight beyond the intended range can result in inconsistent performance or failure to connect.
NOTE: For optimal performance, ensure that the path light is within range of the Wi-Fi signal and as close to the router as possible.
• Download the Hubspace app from the device’s App Store or the Google play store to your mobile device.
• Turn on the Bluetooth® and Wi-Fi® functions of the smart device to ensure the Wi-Fi® signal at home is stable and reliable.
• Open the Hubspace app.
- Select and pair the LED path light
• Connect your device to power and follow the instructions on screen.
• In the Hubspace app screen, tap the plus sign “+” in the upper right corner and select “add product”.
• Scan your product’s QR code or quick start guide. If the QR code cannot be scanned for some reason, you can enter the code manually. Tap Enter Code and follow the instructions.
• Name the LED path light identified and assign it to a room, for example “Pathlight”.
NOTE: If you are unable to access the QR code for your light, you can put it into discovery mode with the following sequence:
• In the Hubspace app, tap the “+” in the upper right hand corner and select “add Product”.
• On the next screen, tap the magnifying glass icon at the bottom next to “QR code not available?”
• Next, select “My product has no buttons” and follow the instruction in the app to place the light in discovery mode.
• Once the light is in discovery mode, the light will pulse and the app will connect to the light.
- Network Connection
• Select your 2.4 GHz network during setup in the Hubspace app.
• Enter network password.
• You can also select the network in the product settings screen.
Cable Selection
| 12 Volt Tap | Cable Length | ||
| Total Fixture Wattage | 0-50 feet | 51-100 feet | 101-150 feet |
| 0-60 Watts | 16 AWG | 16 AWG | 14 AWG |
| 61-120 Watts | 16 AWG | 14 AWG | 12 AWG |
| 121-180 Watts | 14 AWG | 12 AWG | NOT RECOMMENDED |
| 181-240 Watts | 14 AWG | 12 AWG | NOT RECOMMENDED |
| 241-300 Watts | 12 AWG | NOT RECOMMENDED | NOT RECOMMENDED |
| 600W Transformer = (2×300 Watts) | 12 AWG | NOT RECOMMENDED | NOT RECOMMENDED |
| 900W Transformer = (3×300 Watts) | 12 AWG | NOT RECOMMENDED | NOT RECOMMENDED |
NOTE: Most LED landscape fixtures can operate with full illumination from 9V all the way to as little as 6V. It is possible to have extended length runs with LED fixtures that go beyond the specifications shown on the charts above.
Troubleshooting
| Problem | Possible Cause | Solution |
| The light does not turn on. |
|
|
| The light flickers. |
|
|
| The lights flicker (all fixtures). |
|
|
| The Bluetooth path light will not pair with a smart device |
|
|
|
| |
|
| |
|
| |
|
| |
|
|
Care and Cleaning
- Before attempting to clean the fixture, disconnect the power to the fixture by turning the breaker off or removing the fuse from the fuse box.
- To clean the fixture, use a dry or slightly dampened clean cloth.
- Do not use cleaners with chemicals, solvents, or harsh abrasives, as damage to the fixture may occur.
Warranty
WHAT IS COVERED
The manufacturer warrants this lighting fixture to be free from defects in materials and workmanship for a period of five (5) years from date of purchase. This warranty applies only to the original consumer and only to products used in normal use and service. If this product is found to be defective, the manufacturer’s only obligation, and your exclusive remedy, is the repair or replacement of the product at the manufacturer’s discretion, provided that the product has not been damaged through misuse, abuse, accident, modifications, alterations, neglect, or mishandling.
WHAT IS NOT COVERED
This warranty shall not apply to any product that is found to have been improperly installed, set up, or used in any way not in accordance with the instructions supplied with the product. This warranty shall not apply to a failure of the product as a result of an accident, misuse, abuse, negligence, alteration or faulty installation, or any failure not relating to faulty material or workmanship. The warranty shall not apply to the finish on any portion of the product, such as surface and/or weathering, as this is considered normal wear and tear.
The manufacturer does not warrant and specially disclaims any warranty, whether express or implied, of fitness for a particular purpose, other than the warranty contained herein. The manufacturer specifically disclaims any liability and shall not be liable for any consequential or incidental loss or damage, including but not limited to any labor/expense cost involved in the replacement or repair of said product.
Contact the Customer Service team at 1-855-HD-HAMPTON or visit www.HamptonBay.com
HAMPTONBAY.COM
Please contact 1-855-HD-HAMPTON for further assistance.





NOTE: Do not use a hammer. If the ground is hard, use water to soften it or a trowel to loosen the soil.





















