HAMPTON BAY KIF1801LX-01 Low Voltage LED Smart Light User Guide
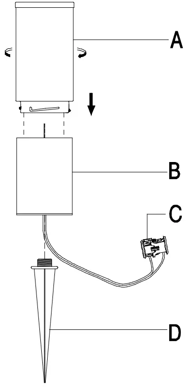
PACKAGE CONTENTS
- A –Shade x1 B –Lamp Body x 1

- C – Wire Connector x1 (with 12 in. wire attached to lamp body)

- D – Ground Stake (6.5 in.) x1

Assembly and Installation
Attaching and installing the light
WARNING: Never push the fixture into the ground by the lamp body (B) or use a hammer to insert the ground stake (D) into the ground.
- Screw the shade (A) onto the lamp body (B).
- Insert the fixture wire on the wire connector (C) into the groove located on the top of the ground stake (D).
- Ensure the fixture wire on the wire connector (C) stays in the center of the groove to avoid damage to the fixture wire. Screw the ground stake (D) into the lamp body (B).
- Prepare a hole in the installation location. Use a tool such as a screwdriver (not included) to prepare the installation hole to ensure the hole is not larger than the ground stake (D).
- Install the ground stake (D) in the ground by pushing on the lamp body (B) .

Connecting the wires
WARNING: The wire connector (C) contacts have sharp edges for piercing the main low voltage cable. To avoid injury, do not touch the metal contacts.
CAUTION: The wire from low voltage power unit should be 12-16 AWG type underground low Energy Circuit Cable.
IMPORTANT:
- Protect the wiring by routing it in close proximity to the light fitting, or next to a building structure such as a house or a deck.
- The landscape wire and connector can also be hidden under stone or buried under grass at a maximum depth of 6 in. (15.24 cm).
- Do not install the fixture within 10 ft. of a pool, spa, or fountain.
- Do not submerge the fixture in water.

- Place the wire connector (C) on opposite sides of the low voltage cable (sold separately) from the transformer (sold separately) where the fixture will be located.
- Align and fit the main low voltage cable vertically to the slot of the wire connector (C).
- Press the wire connector (C) together until it is locked around the main low voltage cable. The pre-set prongs will pierce the cable insulation and establish contact with the electrical wire inside.
- Once the wire connector (C) is in place, wrap it with electrical tape (sold separately).
- After all fixtures are installed, turn on the transformer.
Download the app
Download the Hubspace™ app from the App Store or the Google Play Store.
NOTE: For more information on the Hubspace app, visit hubspace.com/Hubspace
Create an account and instructions on the app screen
Create an account to sign in or log in if you already have an account.
NOTE:
- This Hubspace device requires a 2.4GHz Wi-Fi channel. Hubspace only shows Wi-Fi networks that your device can use.
- If you do not see your Wi-Fi network name when you attempt to connect your devices, please check your router settings or move your product closer to your Wi-Fi router.
Add smart light in app
Tap the ‘+’ button in the upper right corner to add your smart light.

NOTE: Bluetooth access is required for device setup.
Securing the rods onto the upper ring
Scan the QR code in the quick start guide or on the flush mount. To scan the QR code on the flush mount, diffuser needs to be removed. Please follow step 1 in the instructions.

Using your smart light
- Turn your smart flush mount on or off and selected lighting effects according your requirements form the Home page on the Hubspace app.
- To set a schedule or timer, tap the name of the smart flush mount on the Home page. You will see options for setting Schedules and Auto-Off Timers.
Set up your voice assistant
you can connect your samrt light to Google Home and Alexa from the Hubspace app. Or you can sign in to Alexa app or Google Home and connect to your Hubspace devices from there.
Care and Cleaning
- Clean the fixture with a soft dry cloth.
- Do not use any cleaners with chemicals, solvents or harsh abrasives.
Troubleshooting
| Problem | Possible Cause | Solution |
| The fixture will not light. | □ There is no power. □ There is a disconnection or break in the wire. □ The transformer setting is incorrect. | □ Check the outlet and ensure that a breaker or GFCI circuit has not been tripped. □ Follow the wires from the fixture and ensure a continuous connected path back to the transformer. □ Check the settings on the transformer. |
| The light flickers (one fixture). | □ There is a loose wire connector to the fixture. | □ Tighten the wire connector and ensure the metal contacts pierce the insulation on the low voltage cable from the transformer. |
| The lights flicker (all fixtures). | □ There is a loose connection at the transformer. | □ Unplug the transformer from the outlet and visually inspect the positive and negative connecting points. Each wire should be securely screwed in and not in contact with any other. |
Warranty
WHAT IS COVERED
The manufacturer warrants this lighting fixture to be free from defects in materials and workmanship for a period of five (5) years from date of purchase.
This warranty applies only to the original consumer and only to products used in normal use and service. If this product is found to be defective, the manufacturer’s only obligation, and your exclusive remedy, is the repair or replacement of the product at the manufacturer’s discretion, provided that the product has not been damaged through misuse, abuse, accident, modifications, alterations, neglect or mishandling.
WHAT IS NOT COVERED
This warranty shall not apply to any product that is found to have been improperly installed, set-up, or used in any way not in accordance with the instructions supplied with the product. This warranty shall not apply to a failure of the product as a result of an accident, misuse, abuse, negligence, alteration, or faulty installation, or any other failure not relating to faulty material or workmanship. This warranty shall not apply to the finish on any portion of the product, such as surface and/or weathering, as this is considered normal wear and tear.
The manufacturer does not warrant and specifically disclaims any warranty, whether express or implied, of fitness for a particular purpose, other than the warranty contained herein. The manufacturer specifically disclaims any liability and shall not be liable for any consequential or incidental loss or damage, including but not limited to any labor / expense costs involved in the replacement or repair of said product.
Contact the Customer Service Team at 1-855-HD-HAMPTON or visit www.HamptonBay.com.
CAUTION : Changes or modifications not expressly approved by the party responsible for compliance could void the user’s authority to operate the equipment.
NOTE: Compliance information statement shall issue by a US local Responsible Party.
NOTICE: This equipment has been tested and found to comply with the limits for a Class B digital device, pursuant to Part 15 of the FCC Rules.
These limits are designed to provide reasonable protection against harmful interference in a residential installation.
This equipment generates, uses and can radiate radio frequency energy and, if not installed and used in accordance with the instructions, may cause harmful interference to radio communications.
However, there is no guarantee that interference will not occur in a particular installation.
If this equipment does cause harmful interference to radio or television reception, which can be determined by turning the equipment off and on, the user is encouraged to try to correct the interference by one or more of the following measures:
- Reorient or relocate the receiving antenna.
- Increase the separation between the equipment and receiver.
- Connect the equipment into an outlet on a circuit different from that to which the receiver is connected.
- Consult the dealer or an experienced radio/TV technician for help.
Cable Selection
| 12 VOLT TAP | Cable Length | ||
| Total Fixture Wattage | 0-50 feet | 51-100 feet | 101-150 feet |
| 0-60 Watts | 16 AWG | 16 AWG | 14 AWG |
| 61-120 Watts | 16 AWG | 14 AWG | 12 AWG |
| 121-180 Watts | 14 AWG | 12 AWG | Not Recommended |
| 181-240 Watts | 14 AWG | 12 AWG | Not Recommended |
| 241-300 Watts | 12 AWG | Not Recommended | Not Recommended |
| 600W Transformer = (2×300) Watts | 12 AWG | Not Recommended | Not Recommended |
| 900W Transformer = (3×300) Watts | 12 AWG | Not Recommended | Not Recommended |
| 15 VOLT TAP | Cable Length | ||
| Total Fixture Wattage | 0-50 feet | 51-100 feet | 101-150 feet |
| 0-60 Watts | 16 AWG* | 16 AWG | 16 AWG |
| 61-120 Watts | 16 AWG* | 16 AWG | 12 AWG |
| 121-180 Watts | 14 AWG* | 14 AWG | 12 AWG |
| 181-240 Watts | 14 AWG* | 14 AWG | 12 AWG |
| 241-300 Watts | 12 AWG* | 12 AWG | Not Recommended |
| 600W Transformer = (2×300) Watts | 12 AWG* | 12 AWG | Not Recommended |
| 900W Transformer = (3×300) Watts | 12 AWG* | 12 AWG | Not Recommended |
NOT RECOMMENDED FOR HALOGEN LANDSCAPE LIGHTS
This data is provided as a general guideline. Actual performance will depend on the installation layout, the fixtures, and the condition of the cable.
NOTE: Most LED landscape lighting fixtures can operate with full illumination from 9V down to as little as 6V. It is possible to have extended length runs with LED fixtures that go beyond the specifications shown in the guidelines above.
FCC Warning
Warning: Changes or modifications to this unit not expressly approved by the party responsible for compliance could void the user’s authority to operate the equipment.
NOTE: This equipment has been tested and found to comply with the limits for a Class B digital device, pursuant to Part 15 of the FCC Rules. These limits are designed to provide reasonable protection against harmful interference in a residential installation. This equipment generates, uses and can radiate radio frequency energy and, if not installed and used in accordance with the instructions, may cause harmful interference to radio communications.
However, there is no guarantee that interference will not occur in a particular installation. If this equipment does cause harmful interference to radio or television reception, which can be determined by turning the equipment off and on, the user is encouraged to try to correct the interference by one or more of the following measures:
- Reorient or relocate the receiving antenna.
- Increase the separation between the equipment and receiver.
- Connect the equipment into an outlet on a circuit different from that to which the receiver is connected.
- Consult the dealer or an experienced radio/TV technician for help.




















