KOBALT 4913877/4965674 KNA 124B-03 18GA Brad Nailer

Questions, problems, missing parts? Before returning to your retailer, call our customer service department at 888-3KOBALT (888-356-2258), 8 a.m.-8 p.m., EST, Monday-Sunday. You could also contact us at [email protected].
PRODUCT SPECIFICATIONS
| COMPONENT | SPECIFICATIONS |
| Rated voltage | 24 V d.c. |
| Magazine Capacity | 110 Nails |
| Nail Type | 18 Ga (18 Gauge) |
| Brad Nail Length | 5/8” – 2-1/8” (16mm – 54mm) |
| Firing Mode | Selectable: Sequential or Contact (Bump) Actuation |
| Collation angle: | 0° |
| Recommended Operating, Charging, and Storage Temperature | 41°F (5°C) – 104°F (40°C) |
PACKAGE CONTENTS

| PART | DESCRIPTION |
| A | Power switch |
| B | Mode selector button |
| C | LED work light |
| D | Magazine release button |
| E | Magazine |
| F | Nail indicator windows |
| G | Workpiece contact |
| H | Jam release |
| PART | DESCRIPTION |
| I | Jam release latch |
| J | Trigger switch |
| K | Handle |
| L | Depth adjustment dial |
| M | No-mar pad (3pcs) |
| N | No-mar pad storage |
| O | Belt clip |
| P | 2″ 18Ga nails (100-count) |
- WARNING:
Remove the tool from the package and examine it carefully. Do not discard the carton or any packaging material until all parts have been examined. - WARNING:
If any part of the tool is missing or damaged, do not attach the battery pack or use the tool until the part has been repaired or replaced. Failure to heed this warning could result in serious injury
SAFETY INFORMATION
Please read and understand this entire manual before attempting to assemble or operate this product. If you have any questions regarding the product, please call customer service at 888-3KOBALT (888-356-2258) , 8 a.m. – 8 p.m., EST, Monday – Sunday. You could also contact us at [email protected].
WARNING:
- The operation of any power tool can result in foreign objects being thrown into your eyes, which can result in severe eye damage. Before beginning power-tool operation, always wear safety goggles or safety glasses with side shields and a full-face shield, when needed. We recommend using a wide vision safety mask over eyeglasses or standard safety glasses with shields. Always use eye protection marked to comply with ANSI Z87.1.
- Some dust created by power sanding, sawing, grinding, drilling and other construction activities contains chemicals known to the state of California to cause cancer, birth defects or other reproductive harm. Some examples of these chemicals are:
- Lead from lead-based paints,
- Crystalline silica from bricks and cement and other masonry products, and
- Arsenic and chromium from chemically-treated lumber.
- Your risk from these exposures varies, depending on how often you do this type of work.
To reduce your exposure to these chemical: work in a well ventilated area, and work with approved safety equipment, such as those dust masks that are specially designed to filter out microscopic particles.
Know the Tool
- To operate this tool, carefully read this manual and all labels affixed to the tool before using it.
- Keep this manual available for future reference.
Important
This tool should be serviced only by a qualified service technician.
Read All Instructions Thoroughly
Some of the following symbols may be used on this tool. Please study them and their meaning. Proper interpretation of these symbols will allow you to operate the tool better and more safely

General Power Tool Safety Warnings
WARNING: Read all safety warnings, instructions, illustrations and specifications provided with this power tool. Failure to follow all instructions listed below may result in electric shock, fire and/or serious injury.
Save all warnings and instructions for future reference
The term “power tool” in the warnings refers to your mains-operated (corded) power tool or battery-operated (cordless) power tool.
Work Area Safety
- Keep work area clean and well lit. Cluttered or dark areas invite accidents.
- Do not operate power tools in explosive atmospheres, such as in the presence of flammable liquids, gases or dust. Power tools create sparks, which may ignite the dust or fumes.
- Keep children and bystanders away while operating a power tool. Distractions can cause you to lose control.
Electrical Safety
- Power tool plugs must match the outlet. Never modify the plug in any way. Do not use any adaptor plugs with earthed (grounded) power tools. Unmodified plugs and matching outlets will reduce the risk of electric shock.
- Avoid body contact with earthed or grounded surfaces such as pipes, radiators, ranges and refrigerators. There is an increased risk of electric shock if your body is earthed or grounded.
- Do not expose power tools to rain or wet conditions. Water entering a power tool will increase the risk of electric shock.
- Do not abuse the cord. Never use the cord for carrying, pulling or unplugging the power tool. Keep cord away from heat, oil, sharp edges or moving parts. Damaged or entangled cords increase the risk of electric shock.
- When operating a power tool outdoors, use an extension cord suitable for outdoor use.
Use of a cord suitable for outdoor use reduces the risk of electric shock. - If operating a power tool in a damp location is unavoidable, use a ground fault circuit interrupter (GFCI) protected supply. Use of an GFCI reduces the risk of electric shock.
Personal Safety
- Stay alert, watch what you are doing and use common sense when operating a power tool. Do not use a power tool while you are tired or under the influence of drugs, alcohol or medication. A moment of inattention while operating power tools may result in serious personal injury.
- Use personal protective equipment. Always wear eye protection. Protective equipment such as a dust mask, non-skid safety shoes, hard hat or hearing protection used for appropriate conditions will reduce personal injuries.
- Prevent unintentional starting. Ensure the switch is in the off-position before connecting to power source and/or battery pack, picking up or carrying the tool. Carrying power tools with your finger on the switch or energizing power tools that have the switch on invites accidents.
- Remove any adjusting key or wrench before turning the power tool on. A wrench or a key left attached to a rotating part of the power tool may result in personal injury.
- Do not overreach. Keep proper footing and balance at all times. This enables better control of the power tool in unexpected situations.
- Dress properly. Do not wear loose clothing or jewelry. Keep your hair and clothing away from moving parts. Loose clothes, jewelry or long hair can be caught in moving parts.
- If devices are provided for the connection of dust extraction and collection facilities, ensure that these are connected and properly used. Use of dust collection can reduce dust-related hazards.
- Do not let familiarity gained from frequent use of tools allow you to become complacent and ignore tool safety principles. A careless action can cause severe injury within a fraction of a second.
Power tool use and care
- Do not force the power tool. Use the correct power tool for your application. The correct power tool will do the job better and safer at the rate for which it was designed.
- Do not use the power tool if the switch does not turn it on and off. Any power tool that cannot be controlled with the switch is dangerous and must be repaired.
- Disconnect the plug from the power source and/or remove the battery pack, if detachable, from the power tool before making any adjustments, changing accessories, or storing power tools. Such preventive safety measures reduce the risk of starting the power tool accidentally.
- Store idle power tools out of the reach of children and do not allow persons unfamiliar with the power tool or these instructions to operate the power tool. Power tools are dangerous in the hands of untrained users.
- Maintain power tools and accessories. Check for misalignment or binding of moving parts, breakage of parts and any other condition that may affect the power tool’s operation. If damaged, have the power tool repaired before use. Many accidents are caused by poorly maintained power tools.
- Keep cutting tools sharp and clean. Properly maintained cutting tools with sharp cutting edges are less likely to bind and are easier to control.
- Use the power tool, accessories and tool bits etc. in accordance with these instructions, taking into account the working conditions and the work to be performed.
Use of the power tool for operations different from those intended could result in a hazardous situation. - Keep handles and grasping surfaces dry, clean and free from oil and grease. Slippery handles and grasping surfaces do not allow for safe handling and control of the tool in unexpected situations.
Battery Tool Use and Care
- Recharge only with the charger specified by the manufacturer. A charger that is suitable for one type of battery pack may create a risk of fire when used with another battery pack.
- Use power tools only with specifically designated battery packs. Use of any other battery packs may create a risk of injury and fire.
BATTERY PACK CHARGER KB 224-03; KB 424-03; KB 524-03; KB 624-03; KXB 424-03; KXB 824-03
KRC 2445-03; KRC 2490-03; KRC 2404-03; KDPC 124-03; KCH 2401-03; KCH 2411-03
- When battery pack is not in use, keep it away from other metal objects, like paper clips, coins, keys, nails, screws or other small metal objects, that can make a connection from one terminal to another. Shorting the battery terminals together may cause burns or a fire.
- Under abusive conditions, liquid may be ejected from the battery; avoid contact. If contact accidentally occurs, flush with water. If liquid contacts eyes, additionally seek medical help. Liquid ejected from the battery may cause irritation or burns.
- Do not use a battery pack or tool that is damaged or modified. Damaged or modified batteries may exhibit unpredictable behavior resulting in fire, explosion or risk of injury.
- Do not expose a battery pack or tool to fire or excessive temperature. Exposure to fire or temperature above 265 °F (130 °C) may cause explosion.
- Follow all charging instructions and do not charge the battery pack or tool outside the temperature range specified in the instructions. Charging improperly or at temperatures outside the specified range may damage the battery and increase the risk of fire.
Service
- Have your power tool serviced by a qualified repair person using only identical replacement parts. This will ensure that the safety of the power tool is maintained.
- Never service damaged battery packs. Service of battery packs should only be performed by the manufacturer or authorized service providers.
Nailer Safety Warnings
- Always assume that the tool contains fasteners. Careless handling of the nailer can result in unexpected firing of fasteners and personal injury.
- Do not point the tool towards yourself or anyone nearby. Unexpected triggering will discharge the fastener causing an injury.
- Do not actuate the tool unless the tool is placed firmly against the workpiece. If the tool is not in contact with the workpiece, the fastener may be deflected away from your target.
- Disconnect the tool from the power source when the fastener jams in the tool. While removing a jammed fastener, the nailer may be accidentally activated if it is plugged in.
- Use caution while removing a jammed fastener. The mechanism may be under compression and the fastener may be forcefully discharged while attempting to free a jammed condition.
- Do not use this nailer for fastening electrical cables. It is not designed for electric cable installation and may damage the insulation of electric cables thereby causing electric shock or fire hazards.
- Hold power tool by insulated gripping surfaces, when performing an operation where the fastener may contact hidden wiring. Fasteners contacting a “live” wire may make exposed metal parts of the power tool “live” and could give the operator an electric shock.
PREPARATION
Know Your Brad Nailer
- Your nailer has been designed for driving nails into wooden workpieces.
- Before attempting to use the brad nailer, familiarize yourself with all of its operating features and safety requirements.
WARNING:
- Do not allow familiarity with the nailer to cause carelessness. Remember that one careless moment is enough to cause severe injury. Before attempting to use any tool, be sure to become familiar with all of the operating features and safety instructions.
- Do not attempt to modify this tool or create accessories not recommended for use with this tool. Any such alteration or modification is misuse and could result in a hazardous condition leading to possible serious personal injury
OPERATING INSTRUCTIONS
To Attach Battery Pack
- Align the raised portion on the battery pack with the grooves on the bottom of the tool, and then slide the battery pack onto the tool as shown.
- Make sure that the latch on the battery pack snaps into place and the battery pack is secured to the tool before beginning operation.
NOTICE: When placing the battery pack on the tool, be sure that the raised rib on battery pack aligns with the groove on the tool and the latches snap into place properly. Improper assembly of the battery pack can cause damage to internal components.
To Detach Battery Pack- Press the battery-release buttons to release the battery pack.
- Pull the battery pack backward to remove it from the tool.
WARNING: Battery tools are always in operating condition. Therefore, always remove the battery pack when the tool is not in use or when carrying the tool at your side.
To Attach Belt Clip
The belt clip (O) can be installed on the left or right side of the nailer, depending on operator preference.
- Remove the battery pack from the tool.
- Align the belt clip and the screw hole on the right or left side of the nailer.
- Using a phillips head screwdriver (not included) tighten the screw securely.

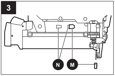
No-Mar Pad
The no-mar pad (M) attached to the nose of the tool helps prevent marring and denting the work surface when working with softer woods.
WARNING: Remove the battery pack from the tool before removing or replacing the no-mar pad. Failure to do so could result in serious personal injury.
- Remove the battery pack from the tool.
- Remove the used no-mar pad by pulling it down and away from the nose.
- To replace the no-mar pad, fit it into place over the nose and push it up to reseat.
On-board storage (N) for the no-mar pad is located on the magazine of the tool. An extra nomar pad is provided in the on-board storage area.
To Load Or Remove Brad Nails
WARNING:
- Keep the tool pointed away from yourself and others when loading nails. Failure to do so could result in possible serious personal injury.
- Use only the nails recommended for use with this tool. The use of any other nails can result in tool malfunction, leading to serious injuries.
- Never load nails with the workpiece contact or trigger activated. Doing so could result in possible serious personal injury.

To Load Brad Nails- Remove the battery pack from the tool.
- With the nose of the tool pointed away from you, squeeze the magazine release button (D) located at the rear of the magazine (E) and slide the magazine open.
- Place the brad nails (5/8” to 2-1/8” [16mm – 54mm] long) in the channel with the nail tips pointing down and resting on the bottom of the channel.
- Push the magazine (E) closed until it securely snaps into place.
- Make sure that the magazine (E) is securely locked in place.
- Reattach the battery pack, and reactivate the nailer by pressing the power switch (A).
NOTE: You can observe the number of remaining nails through the nail indicator windows (F), and load more nails as needed.
To Remove Brad Nails- Remove the battery pack from the tool.
- Squeeze the magazine release button (D) located at the rear of the magazine (E) and slide the magazine open.
- Remove the nails.
- Close the magazine and make sure that it is securely locked in place.
Depth of Drive Adjustment
- It is advisable to test the depth of drive on a scrap workpiece to determine the required depth for the application.
- Harder materials and longer nails will require more force to drive the nail.

WARNING: Always point the nailer away from yourself and others when making adjustments.
Failure to do so may cause serious injury.- Remove the battery pack from the tool.
- Rotate the depth adjustment dial (L) to adjust the depth as indicated by the depth arrow.
- Reattach the battery pack and restart the tool by pressing the power switch (A).
- Drive a test nail after each adjustment until the desired depth is set.
Driving Brad Nails
WARNING: Never wedge or hold back the workpiece contact mechanism during operation of the tool. Doing so could result in possible serious injury.
NOTICE: If no other action is taken after the power switch (A) is pressed, the nailer will turn off automatically after 30 minutes.

Single Sequential Actuation Mode:
Single sequential actuation provides the most accurate nail placement.
- Make sure the work piece is secured before performing any operation.
- Attach the battery pack and start the tool by pressing the power switch (A).
- Briefly press the mode select button (B) to select the single sequential actuation mode

- Grip the tool firmly to maintain control. Position the nose of the tool onto the work surface.
- Push the tool against the work surface to depress the work piece contact (G). Then squeeze the trigger switch (J) to drive a nail.
- Release the trigger switch (J) and lift the nose from the work piece to complete the nailing action.
- Repeat the steps ‘d’ through ‘f’ to drive more nails.
NOTE:- Hold the trigger squeezed until drive cycle is complete.
- If there is no more action for more than 10s after work piece contact (G) pressed without releasing, firing will be locked unless users release both work piece contact (G) & trigger switch (J) and try again.
Contact Actuation Mode:
Contact actuation allows very fast repetitive nail placement.- Make sure the workpiece is secured before performing any operation.
- Attach the battery pack and start the tool by pressing the power switch (A).
- Briefly press the mode select button (B) to select the contact actuation mode

- Grip the tool firmly to maintain control.
- Squeeze and hold the trigger switch (J).
- Push the tool against the work surface to depress the workpiece contact (G) and drive a nail.
- Keep the trigger squeezed, relocate the tool to the next nailing spot and push the tool against workpiece to drive another nail.
- Release the trigger (J) when done.
NOTE:
Contact actuation mode still retains the logic of the single sequential actuation mode. This means the tool can also be operated by depressing the workpiece contact (G) against the surface and squeezing the trigger switch (J).
If there is no more action for more than 10s after workpiece contact (G) or trigger switch (J) pressed without releasing, firing will be locked unless users release both workpiece contact (G) & trigger switch (J) and try again.
Dry-Fire Lockout
When the magazine has 0-6 nails remaining, the dry-fire lockout feature will not allow continued operation. To resume operation, reload the tool with nails.
LED Work Light
- The LED work light (C), shown in FIG. 8, will illuminate when the trigger switch (J) or the workpiece contact (G) is depressed. This provides additional lights on the surface of the workpiece for operation in lower-light areas.
- The LED work lights will turn off within approximately 10 seconds after the trigger switch is released.

Removing a Jammed Brad Nail
- Remove the battery pack from the tool.
- Press the magazine release button (D) and remove the nails from the magazine.
- Lift the jam release latch (I) and open the jam release (H).
- Remove the jammed nail using a flat head screwdriver or pliers if necessary.
NOTICE:
Do not mar/scratch the nail channel or driver mechanism. The screwdriver should always slip over the nail when prying.- Close the jam release and the latch.
- Reload the nails and close the magazine.
- Reattach the battery pack and restart the tool by pressing the power switch (A).

NOTE:- Driving the nails too deeply into the material, excess debris, or jammed nails may lead to a driver blade being stuck at its bottom position.
- The driver blade can usually be returned to its operating position by depressing the work contact element against a scrap piece of wood and squeezing the trigger.
- If the tool cycles without driving a nail, the nail channel may be dirty. See ‘Cleaning the Nail Channel’ in the ‘Care and Maintenance’ section of this manual.
CARE AND MAINTENANCE
All maintenance should only be carried out by a qualified service technician.
Cleaning
- Before cleaning or performing any maintenance, remove the battery pack from the tool.
- For safe and proper operation, always keep the tool and its ventilation slots clean.
- Always use only a soft, dry cloth to clean your nailer; never use detergent or alcohol.
Cleaning The Nail Channel
WARNING: Remove the battery pack and keep the tool pointed away from you while cleaning the nail channel.
NOTICE: Clean the nail channel regularly. Failure to properly and regularly clean the channel will cause premature failure or void the warranty.
- Remove the battery pack from the tool.
- Press the magazine release button (D) to open the magazine (E), and then remove the nails from the magazine.
- Lift the jam release latch (I) and open the jam release (H).
- Use a small amount of pneumatic tool oil on a clean cloth or cotton swab to wipe down the nail channel.
- Reload the nails and close the magazine

Diagnostic Lights
The LED lights under the power switch and under the mode button also provide feedback to indicate problems with the tool and/or battery pack. Refer to the table below to interpret the message behind the flashing LED lights and possible solutions.

TROUBLESHOOTING
WARNING: Turn off the tool and detach the battery pack from the tool before performing troubleshooting procedures.
| PROBLEM | POSSIBLE CAUSE | CORRECTIVE ACTION |
| Workpiece contact element does not depress fully – tool does not operate. | Too few nails in the magazine. | Reload the magazine with nails. |
| Workpiece contact element is jammed. | Remove the battery pack and clear debris. | |
|
Tool operates properly, but the nails are not fully driven into the workpiece. | Depth of drive isn’t deep enough. | Adjust the depth of drive; |
| Nail is too long for wood hardness. | Use the nail length that is appropriate for the wood type. | |
| Tool operates properly, but the nails are driven too deep into the workpiece. | Depth of drive is too deep. | Adjust the depth of drive. |
|
Tool jams frequently. | Incorrect nails. | Verify that the nails are the correct size. |
| Damaged nails. | Replace nails. | |
| Dirty magazine. | Clean the magazine. | |
| Tool will not drive a fastener or cycles without driving a nail | Driving mechanism is dirty. | Clean the nail channel as described in the Maintenance section of the manual. |
WARRANTY
- For 5 years from the date of purchase, the power tool is warranted and for 3 years from date of purchase the battery & charger are warranted for the original purchaser to be free from defects in material and workmanship. This guarantee does not cover damage due to abuse, normal wear, improper maintenance, neglect, unauthorized repair/alteration, or expendable parts and accessories expected to become unusable after a reasonable period of use.
- If you think your product meets the above guarantee criteria, but the nailer doesn’t shoot nails any more or the workpiece contact/magazine doesn’t work after being used for a period of time, please return it to the place of purchase with valid proof of purchase and the defective product will be repaired or replaced at no charge. This guarantee gives you specific legal rights, and you may also have other rights that vary from state to state.

























