
Original instructions
INSTRUCTION MANUAL
Cordless Brad Nailer
FN001G

Read before use.
SPECIFICATIONS
| Model: | FN001G |
| Nail size | 18Ga x 15, 20, 25, 30, 35, 40 mm |
| Nail magazine capacity | 100 pcs. |
| Dimensions with BL4025, without hook (L x W x H) | 265 mm x 86 mm x 243 mm |
| Rated voltage | D.C. 36 V – 40 V max |
| Net weight | 2.6 – 3.2 kg |
- Due to our continuing program of research and development, the specifications herein are subject to change without notice.
- Specifications and battery cartridges may differ from country to country.
- The weight may differ depending on the attachment(s), including the battery cartridge. The lightest and heaviest combinations, according to EPTA-Procedure 01/2014, are
shown in the table.
Applicable battery cartridge and charger
| Battery cartridge | BL4020* / BL4025* / BL4040 / BL4050F * : Recommended battery |
| Charger | DC4ORA / DC4ORB / DC4ORC |
- Some of the battery cartridges and chargers listed above may not be available depending on your region of residence.
WARNING: Only use the battery cartridges and chargers listed above. Use of any other battery cartridges and chargers may cause injury and/or fire.
Symbols
The followings show the symbols which may be used for the equipment. Be sure that you understand their meaning before use.
Read the instruction manual.
Only for EU countries Do not dispose of electric equipment or battery packs together with household waste material!
In observance of the European Directives, on Waste Electric and Electronic Equipment and Batteries and Accumulators and Waste Batteries and Accumulators and their implementation in accordance with national laws, electric equipment and batteries and battery pack(s) that have reached the end of their life must be collected separately and
returned to an environmentally compatible recycling facility.
Intended use
The tool is intended for fastening on interior work and furniture work.
Noise
The typical A-weighted noise level determined according to EN60745-2-16: Sound pressure level (LpA) : 81 dB(A) Sound power level (LWA) : 92 dB (A) Uncertainty (K)
: 3 dB(A)
NOTE: The declared noise emission value(s) has been measured in accordance with a standard test method and may be used for comparing one tool with another.
NOTE: The declared noise emission value(s) may also be used in a preliminary assessment of exposure.
WARNING: Wear ear protection.
WARNING: The noise emission during actual use of the power tool can differ from the declared value(s) depending on the ways in which the tool is used especially what kind of workpiece is processed.
WARNING: Be sure to identify safety measures to protect the operator that is based on an estimation of exposure in the actual conditions of use (taking account of all parts of the operating cycle such as the times when the tool is switched off and when it is running idle in addition to the trigger time).
Vibration
The vibration total value determined according to EN60745-2-16: Vibration emission (ah) : 2.5 m/s² or less Uncertainty (K) : 1.5 m/s²
NOTE: The declared vibration total value(s) has been measured in accordance with a standard test method and may be used for comparing one tool with another.
NOTE: The declared vibration total value(s) may also be used in a preliminary assessment of exposure.
WARNING: The vibration emission during actual use of the power tool can differ from the declared value(s) depending on the ways in which the tool is used especially what kind of workpiece is processed.
WARNING: Be sure to identify safety measures to protect the operator that is based on an estimation of exposure in the actual conditions of use (taking account of all parts
of the operating cycle such as the times when the tool is switched off and when it is running idle in addition to the trigger time).
EC Declaration of Conformity
For European countries only
The EC declaration of conformity is included as Annex A to this instruction manual.
SAFETY WARNINGS
General power tool safety warnings
WARNING: Read all safety warnings, instructions, illustrations, and specifications provided with this power tool. Failure to follow all instructions listed below may result in electric shock, fire, and/or serious injury.
Save all warnings and instructions for future reference.
The term “power tool” in the warnings refers to your mains-operated (corded) power tool or battery-operated (cordless) power tool.
Work area safety
- Keep work area clean and well-lit. Cluttered or dark areas invite accidents.
- Do not operate power tools in explosive atmospheres, such as in the presence of flammable liquids, gases, or dust. Power tools create sparks that may ignite dust or fumes.
- Keep children and bystanders away while operating a power tool. Distractions can cause you to lose control.
Electrical safety
- Power tool plugs must match the outlet. Never modify the plug in any way. Do not use any adapter plugs with earthed (grounded) power Unmodified plugs and matching outlets will reduce the risk of electric shock.
- Avoid body contact with earthed or grounded surfaces, such as pipes, radiators, ranges and There is an increased risk of electric shock if your body is earthed or grounded.
- Do not expose power tools to rain or wet con Water entering a power tool will increase the risk of electric shock.
- Do not abuse the cord. Never use the cord for carrying, pulling or unplugging the power tool. Keep cord away from heat, oil, sharp edges, or moving parts. Damaged or entangled cords increase the risk of electric shock.
- When operating a power tool outdoors, use an extension cord suitable for outdoor use. The use of a cord suitable for outdoor use reduces the risk of electric shock.
- If operating a power tool in a damp location is unavoidable, use a residual current device (RCD) protected supply. The use of an RCD reduces the risk of electric shock.
- Power tools can produce electromagnetic fields (EMF) that are not harmful to the user. However, users of pacemakers and other similar medical devices should contact the maker of their device and/or doctor for advice before operating this power tool.
Personal safety
- Stay alert, watch what you are doing, and use common sense when operating a power tool. Do not use a power tool while you are tired or under the influence of drugs, alcohol, or med A moment of inattention while operating power tools may result in serious personal injury.
- Use personal protective equipment. Always wear eye protection. Protective equipment such as a dust mask, non-skid safety shoes, hard hat, or hearing protection used for appropriate conditions will reduce personal injuries.
- Prevent unintentional starting. Ensure the switch is in the off-position before connecting to a power source and/or battery pack, picking up or carrying the tool. Carrying power tools with your finger on the switch or energizing power tools that have the switch on invites accidents.
- Remove any adjusting key or wrench before turning the power tool on. A wrench or a key left attached to a rotating part of the power tool may result in personal injury.
- Do not overreach. Keep proper footing and balance at all times. This enables better control of the power tool in unexpected situations.
- Dress properly. Do not wear loose clothing or Keep your hair and clothing away from moving parts. Loose clothes, jewelry, or long hair can be caught in moving parts.
- If devices are provided for the connection of dust extraction and collection facilities, ensure these are connected and properly used. The use of dust collection can reduce dust-related hazards.
- Do not let familiarity gained from frequent use of tools allow you to become complacent and ignore tool safety principles. A careless action can cause severe injury within a fraction of a
- Always wear protective goggles to protect your eyes from injury when using power tools. The goggles must comply with ANSI Z87.1 in the USA, EN 166 in Europe, or AS/NZS 1336 in Australia/New Zealand. In Australia/New Zealand, it is legally required to wear a face shield to protect your face, too.

It is an employer’s responsibility to enforce the use of appropriate safety protective equipments by the tool operators and by other persons in the immediate working area.
Power tool use and care
- Do not force the power tool. Use the correct power tool for your application. The correct power tool will do the job better and safer at the rate at which it was designed.
- Do not use the power tool if the switch does not turn on and off. Any power tool that cannot be controlled with the switch is dangerous and must be repaired.
- Disconnect the plug from the power source and/or remove the battery pack, if detachable, from the power tool before making any adjustments, changing accessories, or storing power Such preventive safety measures reduce the risk of starting the power tool accidentally.
- Store idle power tools out of the reach of a child- dren and do not allow persons unfamiliar with the power tool or these instructions to operate the power tool. Power tools are dangerous in the hands of untrained users.
- Maintain power tools and accessories. Check for misalignment or binding of moving parts, breakage of parts, and any other condition that may affect the power tool’s operation. If damaged, have the power tool repaired before use. Many accidents are caused by poorly maintained power tools.
- Keep cutting tools sharp and clean. Properly maintained cutting tools with sharp cutting edges are less likely to bind and are easier to control.
- Use the power tool, accessories, and tool bits in accordance with these instructions, taking into account the working conditions and the work to be performed. Use of the power tool for operations different from those intended could result in a hazardous situation.
- Keep handles and grasping surfaces dry, clean, and free from oil and grease. Slippery handles and grasping surfaces do not allow for safe handling and control of the tool in unexpected
- When using the tool, do not wear cloth work gloves which may be entangled. The entanglement of cloth work gloves in the moving parts may result in personal injury.
Battery tool use and care
- Recharge only with the charger specified by the manufacturer. A charger that is suitable for one type of battery pack may create a risk of fire when used with another battery pack.
- Use power tools only with specifically designated battery packs. Use of any other battery packs may create a risk of injury and fire.
- When the battery pack is not in use, keep it away from other metal objects, like paper clips, coins, keys, nails, screws, or other small metal objects, that can make a connection from one terminal to another. Shorting the battery terminals together may cause burns or a fire.
- Under abusive conditions, liquid maybe
ejected from the battery; avoid contact. If contact accidentally occurs, flush with water. If liquid contacts eyes, additionally seek medical Liquid ejected from the battery may cause irritation or burns. - Do not use a battery pack or tool that is damaged or modified. Damaged or modified batteries may exhibit unpredictable behavior resulting in fire, explosion, or risk of injury.
- Do not expose a battery pack or tool to fire or excessive temperature. Exposure to fire or temperature above 130 °C may cause an explosion.
- Follow all charging instructions and do not charge the battery pack or tool outside the temperature range specified in the instruc Charging improperly or at temperatures outside the specified range may damage the battery and increase the risk of fire.
Service
- Have your power tool serviced by a qualified repair person using only identical replacement This will ensure that the safety of the power tool is maintained.
- Never service damaged battery packs. Service of battery packs should only be performed by the manufacturer or authorized service providers.
- Follow instructions for lubricating and changing accessories.
Cordless nailer safety warnings
- Always assume that the tool contains fasten Careless handling of the nailer can result in the unexpected firing of fasteners and personal injury.
- Do not point the tool towards yourself or anyone nearby. Unexpected triggering will discharge the fastener causing an injury.
- Do not actuate the tool unless the tool is placed firmly against the workpiece. If the tool is not in contact with the workpiece, the fastener may be deflected away from your target.
- Disconnect the tool from the power source when the fastener jams in the tool. While removing a jammed fastener, the nailer may be accidentally activated if it is plugged in.
- Use caution while removing a jammed fas The mechanism may be under compression and the fastener may be forcefully discharged while attempting to free a jammed condition.
- Do not use this nailer for fastening electrical cables. It is not designed for electric cable installation and may damage the insulation of electric cables thereby causing electric shock or fire hazards.
- Keep hands and feet away from the ejection port area.
- Follow instructions for lubricating and changing accessories.
- Always remove the battery cartridge before loading the fasteners, adjustment, inspection, maintenance, or after the operation is over.
- Make sure no one is nearby before operation. Never attempt to drive fasteners from both the inside and outside of the wall at the same time. Fasteners may rip through and/or fly off, presenting a grave danger.
- Watch your footing and maintain your balance with the tool. Make sure there is no one below when working in high locations.
- Never use fastener driving tools marked with the symbol “Do not use on scaffoldings, ladders” for specific application for example:
- when changing one driving location to another involves the use of scaffoldings, stairs, ladders, or ladder alike constructions, e.g. roof laths;
- closing boxes or crates;
- fitting transportation safety systems e.g. on vehicles and wagons.
- Check walls, ceilings, floors, roofing, and the like carefully to avoid possible electrical shock, gas leakage, explosions, etc. caused by stapling into live wires, conduits, or gas pipes.
- Use only fasteners specified in this manual. The use of any other fasteners may cause a malfunction of the tool.
- Do not tamper with the tool or attempt to use it for other than driving fasteners.
- Do not operate the tool without fasteners. It shortens the service life of the tool.
- Stop driving operations immediately if you notice something wrong or out of the ordinary with the tool.
- Never fasten into any materials which may allow the fastener to puncture and fly through as a projectile.
- Never actuate the switch trigger and contact element at the same time until you are prepared to fasten workpieces. Allow the workpiece to depress the contact element. Never defeat its purpose by securing the contact element back or by depressing it by hand.
- Never tamper with the contact element. Check the contact element frequently for proper operations.
- Always remove fasteners from the tool when not in use.
SAVE THESE INSTRUCTIONS.
WARNING: DO NOT let comfort or familiarity with the product (gained from repeated use) replace strict adherence to safety rules for the subject product. MISUSE or failure to follow the safety rules stated in this instruction manual may cause serious personal injury.
Important safety instructions for battery cartridge
- Before using the battery cartridge, read all instruc- tions and cautionary markings on (1) battery charger, (2) battery, and (3) product using the battery.
- Do not disassemble or tamper with the battery cartridge. It may result in a fire, excessive heat, or explosion.
- If the operating time has become excessively shorter, stop operating immediately. It may result in a risk of overheating, possible burns, and even an explosion.
- If electrolyte gets into your eyes, rinse them out with clear water and seek medical attention right away. It may result in loss of your eyesight.
- Do not short the battery cartridge:
• Do not touch the terminals with any conductive material.
• Avoid storing battery cartridges in a container with other metal objects such as nails, coins, etc.
• Do not expose the battery cartridge to water or rain.
A battery short can cause a large current flow, overheating, possible burns, and even a breakdown.
- Do not store and use the tool and battery car- tridge in locations where the temperature may reach or exceed 50 °C (122 °F).
- Do not incinerate the battery cartridge even if it is severely damaged or is completely worn out. The battery cartridge can explode in a fire.
- Do not nail, cut, crush, throw, drop the battery cartridge, or hit against a hard object to the battery cartridge. Such conduct may result in a fire, excessive heat, or explosion.
- Do not use a damaged battery.
- The contained lithium-ion batteries are subject to the Dangerous Goods Legislation requirements.
For commercial transports e.g. by third parties, forwarding agents, the special requirements on packaging and labeling must be observed.
For the preparation of the item being shipped, consulting an expert for hazardous material is required. Please also observe possibly more detailed national regulations.
Tape or mask off open contacts and pack up the battery in such a manner that it cannot move around in the packaging.
- When disposing of the battery cartridge, remove it from the tool and dispose of it in a safe place. Follow your local regulations relating to the disposal of batteries.
- Use the batteries only with the products specified by Makita. Installing the batteries to non-compliant products may result in a fire, excessive heat, explosion, or leak of electrolyte.
- If the tool is not used for a long period of time, the battery must be removed from the tool.
- During and after use, the battery cartridge may take on heat which can cause burns or low-temperature burns. Pay attention to the handling of hot battery cartridges.
- Do not touch the terminal of the tool immediately after use as it may get hot enough to cause burns.
- Do not allow chips, dust, or soil stuck into the terminals, holes, and grooves of the battery It may result in poor performance or breakdown of the tool or battery cartridge.
- Unless the tool supports the use of near high-voltage electrical power lines, do not use the battery cartridge near high-voltage electrical power lines. It may result in a malfunction or breakdown of the tool or battery cartridge.
- Keep the battery away from children.
SAVE THESE INSTRUCTIONS.
CAUTION: Only use genuine Makita batteries. Use of non-genuine Makita batteries, or batteries that have been altered, may result in the battery bursting causing fires, personal injury, and damage. It will also void the Makita warranty for the Makita tool and charger.
Tips for maintaining maximum battery life
- Charge the battery cartridge before completely Always stop tool operation and charge the battery cartridge when you notice less tool power.
- Never recharge a fully charged battery car Overcharging shortens the battery service life.
- Charge the battery cartridge with room temperature at 10 °C – 40 °C (50 °F – 104 °F). Let a hot battery cartridge cool down before charging it.
- When not using the battery cartridge, remove it from the tool or the charger.
- Charge the battery cartridge if you do not use it for a long period (more than six months).
FUNCTIONAL DESCRIPTION
CAUTION: Always be sure that the tool is switched off and the battery cartridge is removed before adjusting or checking the function on the tool.
Installing or removing battery cartridge
CAUTION: Always switch off the tool before installing or removing the battery cartridge.
CAUTION: Hold the tool and the battery cartridge firmly when installing or removing the battery cartridge. Failure to hold the tool and the battery cartridge firmly may cause them to slip off your hands and result in damage to the tool and battery cartridge and a personal injury.

- 1. Red indicator 2. Button 3. Battery cartridge
To remove the battery cartridge, slide it from the tool while sliding the button on the front of the cartridge.
To install the battery cartridge, align the tongue on the battery cartridge with the groove in the housing and slip it into place. Insert it all the way until it locks in place
with a little click. If you can see the red indicator on the upper side of the button, it is not locked completely.
CAUTION: Always install the battery cartridge fully until the red indicator cannot be seen. If not, it may accidentally fall out of the tool, causing injury to you or someone around you.
CAUTION: Do not install the battery cartridge forcibly. If the cartridge does not slide in easily, it is not being inserted correctly.
Tool/battery protection system
The tool is equipped with a tool/battery protection system. This system automatically cuts off power to the motor to extend tool and battery life. The tool will automatically stop during operation if the tool or battery is placed under one of the following conditions:
Overload protection
When the tool/battery is operated in a manner that causes it to draw an abnormally high current, the tool automatically stops without any indication. In this situation, turn the tool off and stop the application that caused the tool to become overloaded. Then turn the tool on to restart.
Overheat protection
When the tool/battery is overheated, the tool stops automatically. In this situation, let the tool/battery cool before turning the tool on again.
Over-discharge protection
When the battery capacity is not enough, the tool stops automatically. In this case, remove the battery from the tool and charge the battery.
Indicating the remaining battery capacity
Press the check button on the battery cartridge to indicate the remaining battery capacity. The indicator lamps light up for a few seconds.

- Indicator lamps
- Check button
| Indicator lamps | Remaining capacity | ||
|
|
| |
| 75% to 100% | |||
| 50% to 75% | |||
| 25% to 50% | |||
| 0% to 25% | |||
| Charge the battery. | |||
| The battery may have malfunctioned. | |||
NOTE: Depending on the conditions of use and the ambient temperature, the indication may differ slightly from the actual capacity.
NOTE: The first (far left) indicator lamp will blink when the battery protection system works.
CAUTION: Before installing the battery cartridge into the tool, always check to see that the switch trigger actuates properly and returns to the “OFF” position when released.
CAUTION: When not operating the tool, depress the trigger-lock button from the B side to lock the switch trigger in the OFF position.

- Trigger-lock button
- Switch trigger

To prevent the switch trigger from being accidentally pulled, the trigger-lock button is provided.
To pull the switch trigger, depress the trigger-lock button from Aside.
After use, always press the trigger-lock button from the B side.
Adjusting the depth of nailing
WARNING: Always make sure that your fingers are not placed on the switch trigger or the contact element and the battery cartridge is removed before adjusting the depth of nailing.
The depth of nailing can be adjusted by turning the adjuster on the tool. A nail drives deeper as you turn the adjuster in the A direction shown in the figure, and shallower in
the B direction, within a range of up to 2.5 mm.

- Adjuster

- Too deep
- Right depth
- Too shallow
Lighting up the lamp
CAUTION: Do not look in the light or see the source of light directly.
Pull the switch trigger or actuate the contact element to light up the lamp. The lamp remains lit for up to 60 seconds while pulling the switch trigger or actuating the contact element. The lamp goes out approximately 10 seconds after releasing the switch trigger and the contact element.

- Lamp
NOTICE: Use a dry cloth to wipe the dirt off the lens of the lamp. Be careful not to scratch the lens or the lamp, or it may lower the illumination.
NOTICE: Even if the lamp lights up when the battery power residual gets small, the nailer may not fire nails. In this case, charge the battery cartridge.
NOTICE: When the tool is overheated, the light flashes. In this case, release the switch trigger and contact element, and then cool down the tool/battery before operating again.
NOTICE: The lamp starts blinking if the nailer detects an error during driving the nail. In this case, bring the nailer to a Factory Service Center.
ASSEMBLY
CAUTION: Always make sure that your fingers are not placed on the switch trigger or the contact element and the battery cartridge is removed before carrying out any work on the nailer.
Loading or unloading the nails
CAUTION: Always make sure that your fingers are not placed on the trigger and the battery cartridge is removed before loading nails.
CAUTION: Do not abruptly slide the sliding door of the nailer loaded with nails. Accidentally dropping nails especially when working in high places may cause personal injuries.
CAUTION: Load nails in the correct direction. Loading in the wrong direction may cause premature wear and tear of the driver and damage to the other parts.
CAUTION: Do not use deformed nail strips. Use nails specified in this manual. Using nails other than those specified may cause nail jamming and breakage of the nailer.
- Press the lock lever and open the sliding door of the magazine.
► 1. Lock lever 2. Slide door 3. Magazine - Set a nail strip so that the nail tips touch the bottom of the magazine and slide the nail strip toward the driver-guide.
► 1. Nails 2. Slide door 3. Driver guide - Return the sliding door to the original position until the lock lever locks it.
To remove the nails, press the lock lever and slide the sliding door. Take out nails from the magazine.
Nose adapter
CAUTION: Always make sure that your fingers are not placed on the switch trigger or the contact element and the battery cartridge is removed before installing the nose adapter.
When firing nails on the material with easily-marred surfaces, use the nose adapter. Put the adapter onto the pointed end of the driver-guide.
You can store the nose adapter in the holder at the back end of the magazine to keep it from being lost.
- Nose adapter
- Driver guide
- Holder
HOOK
CAUTION: When installing the hook, always secure it with the screw firmly. If not, the hook may come off from the tool and result in personal injury.
CAUTION: Use the hanging/mounting parts for their intended purposes only. Using for unintended purposes may cause accidents or personal injury.
CAUTION: Do not hang the hook from the waist belt. Dropping the nailer, which is caused by the hook accidentally coming out of place, may cause unintentional firing and result in personal injuries.
The hook is convenient for temporarily hanging the tool.
This can be installed on either side of the tool.
To install the hook, insert it into a groove in the tool housing on either side and then secure it with a screw.
To remove, loosen the screw and then take it out.
- Groove
- Hook
- Screw
Hex wrench storage
When not in use, store the hex wrench as shown in the figure to keep it from being lost.
- Hex wrench
OPERATION
Testing the safety system
WARNING: Make sure all safety systems are in working order before operation. Failure to do so may cause personal injuries.

- Trigger-lock button
- Switch trigger
- Contact element
- Magazine
Test safety systems as follows for possible faults before operation.
- Unload nails from the tool and keep the magazine opening.
- Install the battery cartridge and release the trigger lock.
- Pull the switch trigger without touching the contact element against the material.
- Touch the contact element against the material without pulling the switch trigger.
If the tool operates in the case of 3 or 4 above, the safety systems are faulty. Stop using the tool immediately and ask your local service center.
Driving nails
WARNING: Continue to place the contact element firmly on the material until the nail is driven completely. Unintentional firing may cause personal injuries.
CAUTION: Hold the tool firmly during operation.
- Release the trigger lock.
- Place flat the contact element on the material.
- Pull the switch trigger fully to drive a nail.
- To drive the next nail, release your finger from the switch trigger once, and then repeat steps 2 and 3 above.

- Switch trigger
- Contact element
You can also drive the nails when dragging the tool to the next area with the contact element pressed against the material and pulling the switch trigger.

If the head of the nail remains above the workpiece surface, drive the nail while holding the nailer head firmly against the workpiece.

NOTE: If the head of the nail still remains above the workpiece even you hold the nail head, the material may not be suitable for the nailer. Continuing to use the nailer on such material may result in damage to the driver of the nailer and/or nailer jamming.
Anti-dry fire mechanism
WARNING: Always make sure that your fingers are not placed on the switch trigger or the contact element and the battery cartridge is removed before loading the nailer.
When the number of remaining nail strips in the magazine is empty, the switch trigger can no longer be pulled. At this time, insert a new nail strip in the magazine. The switch
the trigger can be pulled again.
Checking remaining nails
You can check the number of remaining nails through the sight window.
The red indicator moves toward the firing opening as the number of remaining nails becomes smaller.

- Sight window
- Indicator
Removing jammed nails
WARNING: Always make sure that the trigger is released, and the battery cartridge and nails are removed before removing jammed nails.
CAUTION: Do not remove the jammed nails with bare hands. The nail may jump out of the magazine and cause an injury.
Remove the hex bolts on the driver guide using the hex wrench.
Take the jammed nails from the nail guide groove with a slotted screwdriver.
Secure the driver guide with the hex bolts.

- Driver guide
- Hex bolt
NOTE: After securing the driver guide, always make sure that it actuates properly. If not, remove hex bolts and install the driver guide again.
MAINTENANCE
CAUTION: Always be sure that the tool is switched off and the battery cartridge is removed before attempting to perform inspection or maintenance.
NOTICE: Never use gasoline, benzene, thinner, alcohol, or the like. Discoloration, deformation, or cracks may result.
To maintain product SAFETY and RELIABILITY, repairs, any other maintenance or adjustment should be performed by Makita Authorized or Factory Service
Centers, always using Makita replacement parts.
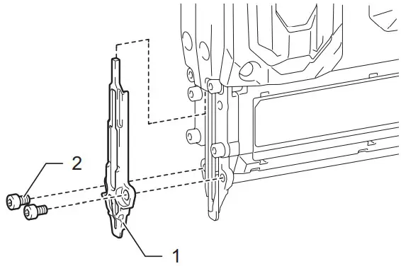
Replacing driver-guide
Optional accessory
Replace the standard-equipped driver-guide with the optional driver-guide better suited for fastening softwood.
- Remove the hex bolts on the driver guide using the hex wrench.
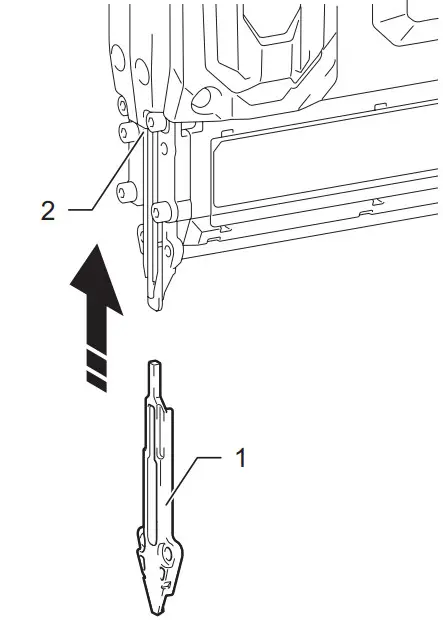
► 1. Hex bolt - Pull off the standard-equipped driver-guide downward.
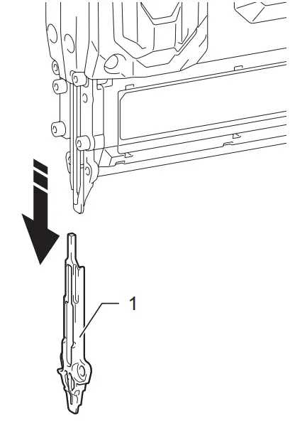
► 1. Standard-equipped driver-guide - Install the optional driver guide by pushing it upward into the guide slot.
► 1. Optional driver-guide 2. Guide slot - Secure the optional driver-guide with the hex bolts.
► 1. Hex bolt
OPTIONAL ACCESSORIES
CAUTION: These accessories or attachments are recommended for use with your Makita tool specified in this manual. The use of any other accessories or attachments might present a risk of injury to persons. Only use accessory or attachment for its stated purpose.
If you need any assistance for more details regarding these accessories, ask your local Makita Service Center.
- Nails
- Safety goggles
- Driver guide (for fastening softwood)
- Makita genuine battery and charger
NOTE: Some items in the list may be included in the tool package as standard accessories. They may differ from country to country.
Makita Europe N.V.
Jan-Baptist Vinkstraat 2,
3070 Kortenberg, Belgium
Makita Corporation
3-11-8, Sumiyoshi-cho,
Anjo, Aichi 446-8502 Japan
www.makita.com
885861-223
20201022
► 1. Lock lever 2. Slide door 3. Magazine
► 1. Nails 2. Slide door 3. Driver guide
► 1. Hex bolt
► 1. Standard-equipped driver-guide
► 1. Optional driver-guide 2. Guide slot
► 1. Hex bolt















