
DC5460 wall Hood
Instructions
![]() | ![]() |
![]() | ![]() |
![]() | ![]() |
GENERAL SAFETY
- Before any cleaning or maintenance operation, disconnect the hood from the mains by removing the plug or disconnecting the mains’ electrical supply.
- Always wear work gloves for all installation and maintenance operations.
- This appliance can be used by children aged 8 years and above and persons with reduced physical, sensory or mental capabilities or lack of experience and knowledge if they have been given supervision or instruction concerning the use of the appliance in a safe way and understand the hazards involved.
- Children shall not be allowed to tamper with the controls or play with the appliance.
- Cleaning and user maintenance shall not be made by children without supervision.
- The premises where the appliance is installed must be sufficiently ventilated when the kitchen hood is used together with other gas combustion devices or other fuels.
- The hood must be regularly cleaned on both the inside and outside (AT LEAST ONCE A MONTH).
- This must be completed in accordance with the maintenance instructions provided. Failure to follow the instructions provided regarding the cleaning of the hood and filters will lead to the risk of fires.
- Do not flambé under the range hood.
- Do not remove filters during cooking.
- For lamp replacement use only the lamp type indicated in the Maintenance/Replacing lamps section of this manual. The use of exposed flames is detrimental to the filters and may cause a fire risk, and must therefore be avoided in all circumstances. Any frying must be done with care in order to make sure that the oil does not overheat and ignite.
CAUTION: Accessible parts of the hood may become hot when used with cooking appliances.
- Do not connect the appliance to the mains until the installation is fully complete.
- With regards to the technical and safety measures to be adopted for fume discharging it is important to closely follow the regulations provided by the local authorities.
- The air must not be discharged into a flue that is used for exhausting fumes from appliances burning gas or other fuels.
- Do not use or leave the hood without the lamp correctly mounted due to the possible risk of electric shocks.
- Never use the hood without effectively mounted grids.
- The hood must NEVER be used as a support surface unless specifically indicated.
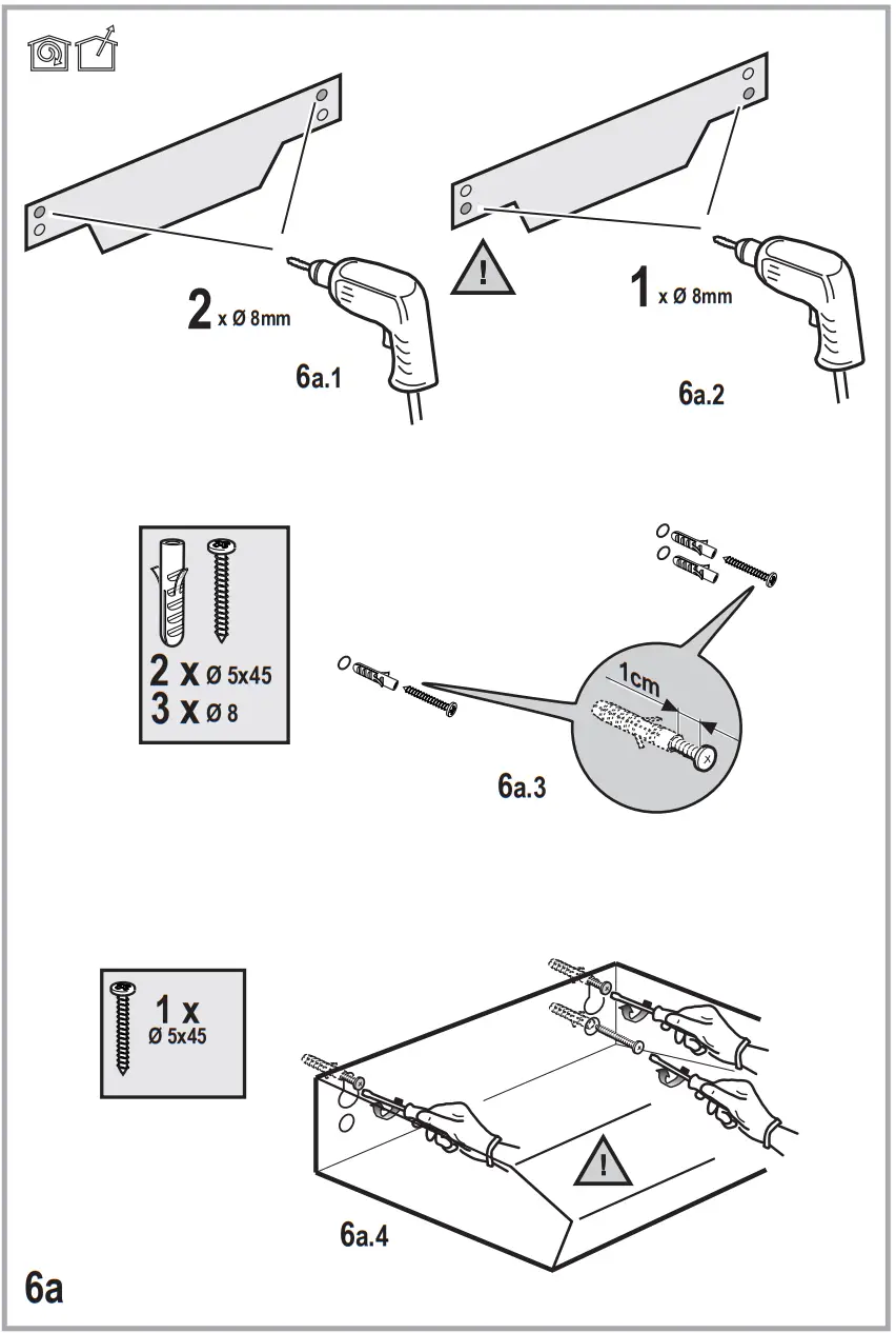
- Use only the fixing screws supplied with the product for installation or, if not supplied, purchase the correct screw type.
- Use the correct length for the screws which are identified in the Installation Guide.
- In case of doubt, consult an authorized service assistance center or similarly qualified person.
WARNING!
- Failure to install the screws or fix the device in accordance with these instructions may result in electrical hazards.
- Do not use with a programmer, timer, separate remote control system, or any other device that switches on automatically.
Very young children(0-3years)should be kept away from the appliance. Young children (3-8 years)should be kept away from the appliance unless continuously supervised.
CAUTION: The appliance is not intended to be operated by means of an external switching device, such as a timer, or a separate remote-controlled system.
This appliance is not for professional use. Do not use the appliance outdoors.
The appliance must be handled and installed by two or more persons-risk of injury.
Installation, including water supply (if any), electrical connections, and repairs must be carried out by a qualified technician. Once installed, packaging waste (plastic, styrofoam parts, etc.) must be stored out of reach of children risk of suffocation.
Do not use the appliance when you are wet or barefoot. Never use steam cleaning equipment risk of electric shock.
The packaging material is 100% recyclable and is marked with the recycle symbol
The hood can look different from that illustrated in the drawings in this booklet. The instructions for use, maintenance, and installation, however, remain the same. Closely follow the instructions set out in this manual. All responsibility, for any eventual inconveniences, damages, or fires caused by not complying with the instructions in this manual, is declined. This appliance is intended to be used in households and similar applications such as:
– staff kitchen areas in shops, offices, and other working environments;
– farmhouses;
– by clients in hotels, motels, and other residential type environments;
– bed and breakfast type environments.
- It is important to conserve this booklet for consultation at any moment. In the case of sale, cession, or move, make sure it is together with the product.
- Read the instructions carefully: there is important information about installation, use, and safety.
- Do not carry out electrical or mechanical variations on the product or on the discharge conduits.
- Before proceeding with the installation of the appliance verify that there are no damaged all components. Otherwise, contact your dealer and do not proceed with the installation.
The minimum distance between the supporting surface for the cooking equipment on the hob and the lowest part of the range hood must be not less than 60cm from electric cookers and 75cm from gas or mixed cookers.
If the instructions for installation for the gas hob specify a greater distance, this must be adhered to.
ELECTRICAL CONNECTION
The main power supply must correspond to the rating indicated on the plate situated inside the hood. If provided with a plug connect the hood to a socket in compliance with current regulations and positioned in an accessible area, after installation. If it is not fitted with a plug (direct mains connection) or if the plug is not located in an accessible area, after installation, apply a double pole switch in accordance with standards which assures the complete disconnection of the mains under conditions relating to over-current category III, in accordance with installation instructions.
WARNING!
Before re-connecting the hood circuit to the mains supply and checking the efficient function, always check that the mains cable is correctly assembled. If the cable is not fitted with a plug, connect the wires according to the following table:
Mains voltage and frequency
Refer to the rating indicated on the plate inside of the hood
Replacing the power cable
The hood is provided with a special power cable; if the cable is damaged, request a new one from Technical Service.
AIR VENT
(for the suction versions) Connect the hood and discharge holes on the walls with a diameter equivalent to the air outlet (connection flange). Using the tubes and discharge holes on walls with smaller dimensions will cause a diminution of the suction performance and a drastic increase in noise. Any responsibility in the matter is therefore declined.
! Use a duct of the minimum indispensable length.
! Use a duct with as few elbows as possible (maximum elbow angle: 90°).
! Avoid drastic changes in the duct cross-section.
! The company declines any responsibility whenever these regulations are not respected.
FILTERING OR DUCTING?
! Your cooker hood is ready to be used in the suction version. To use the hood in the filtering version the special ACCESSORY KIT must be installed. Check on the first pages of this manual if the ACCESSORY KIT is furnished or must be bought separately.
Note: If furnished, in certain cases, the additional activated carbon filtering system may be installed on the hood. Information about the conversion of the hood from suction version to filtering version is present in this manual.
Ducting version
In this case, the fumes are conveyed outside of the building by means of a special pipe connected with the connection ring located on top of the hood.
CAUTION!
The exhausting pipe is not supplied and must be purchased apart. The diameter of the exhausting pipe must be equal to that of the connection ring.
CAUTION!
If the hood is supplied with an active charcoal filter, then it must be removed.
Filter version
The aspirated air will be degreased and deodorized before being fed back into the room. In order to use the hood in this version, you have to install a system of additional filtering based on activated charcoal.
CONTROLS
The hood is fitted with a control panel with aspiration speed selection control and a light switch to control cooking area lights.
a. ON/OFF lighting
b. OFF motors
c. – d. – e. Minimum suction power (c.), medium (d.), maximum (e.).
MAINTENANCE
Cleaning
Clean using ONLY a cloth dampened with neutral liquid detergent. DO NOT CLEAN WITH TOOLS OR INSTRUMENTS. Do not use abrasive products. DO NOT USE ALCOHOL!
Maintenance of the anti-grease filters
Traps cooking grease particles. The grease filter must be cleaned once a month using nonaggressive detergents, either by hand or in the dishwasher, which must be set to a low temperature and a short cycle. When washed in a dishwasher, the grease filter may discolor slightly, but this does not affect its filtering capacity. To remove the grease filter, pull the spring release handle.
Maintenance of the charcoal filter
It absorbs unpleasant odors caused by cooking.
The saturation of the charcoal filter occurs after more or less prolonged use, depending on the type of cooking and the regularity of cleaning the grease filter.
In any case, it is necessary to replace the cartridge at least every four months.
The charcoal filter may NOT be washed or regenerated.
Remove the grease filters. Fit the charcoal filters over the motor. Align the pins, R on, the cowl with the slots S, then turn the filter clockwise until it locks in place.
Reverse the above procedure to remove the charcoal filters.
Refit the grease filters.
Replacing lamps
Disconnect the appliance from the electricity.
Warning! Prior to touching the light bulbs ensure they are cooled down. Put the grill back. Replace the damaged lamp. Use E14 2,5W max LED lamps only. For more details, check the enclosed leaflet “ILCOS D” (alphanumeric position “1e”).
Put the grill back.
DISPOSAL
- This appliance is marked according to the European directive 2012/19/EC on Waste Electrical and Electronic Equipment (WEEE). · By ensuring this product is disposed of correctly, you will help prevent potential negative consequences for the environment and human health, which could otherwise be caused by inappropriate waste handling of this product.
- The symbol
on the product, or on the documents accompanying the product, indicates that this appliance may not be treated as household waste. Instead, it should be taken to the appropriate collection point for the recycling of electrical and electronic equipment. Disposal must be carried out in accordance with local environmental regulations for waste disposal. - For further detailed information regarding the process, collection, and recycling of this product, please contact the appropriate department of your local authorities or the local department for household waste or the shop where you purchased this product.
An appliance designed, tested, and manufactured according to - Safety: EN/IEC 60335-1; EN/IEC 60335-2-31, EN/IEC 62233.
- Performance: EN/IEC 61591; ISO 5167-1; ISO 5167-3; ISO 5168; EN/IEC 60704-1; EN/IEC 60704-2-13; EN/IEC 60704-3; ISO 3741; EN 50564; IEC 62301.
- EMC: EN 55014-1; CISPR 14-1; EN 55014-2; CISPR 14-2; EN/IEC 61000-3-2; EN/IEC 61000-3-3. Suggestions for correct use in order to reduce the environmental impact: Switch ON the hood at minimum speed when you start cooking and kept it running for a few minutes after cooking is finished. Increase the speed only in case of a large amount of smoke and vapor and use boost speed(s) only in extreme situations. Replace the charcoal filter(s) when necessary to maintain a good odor reduction efficiency. Clean the grease filter(s) when necessary to maintain a good grease filter efficiency. Use the maximum diameter of the ducting system indicated in this manual to optimize efficiency and minimize noise.
MALFUNCTIONS
If something appears not to be working properly, do the following simple checks before calling Technical Service:
- If the hood is not working:
Check that:
– The power has not been disconnected.
– A speed has been selected. - If the hood performs inefficiently:
Check that:
– The motor speed selected is sufficient for the amount of smoke and vapors released. - – The kitchen is sufficiently ventilated to allow air intake.
– The charcoal filter is not worn (hood in filtering version). - If the hood has turned off during normal functioning:
Check that:
– The power has not been disconnected.
– the omnipolar disconnection device has not tripped.
If the hood fails to operate correctly, briefly disconnect it from the mains power supply for almost 5 sec. Then connect it in again and try once more before contacting the Technical Assistance Service.
TECHNICAL DATA
| Height (cm) | Width (cm) | Depth (cm) | 0 of the exhaust tube (cm) |
| 13,3 | 49,9 | 51 | 12,5-10 |
| 13,3 | 54,9 | 51 | 12,5-10 |
| 13,3 | 59,9 | 51 | 12,5-10 |
| 13,3 | 89,9 | 51 | 12,5-10 |
Components not provided with the product
You can download the Safety Instructions, User Manual, Product Fiche, and Energy data by:
- Visiting our website docs.Bauknecht.eu
- Using QR Code
- Alternatively, contact our After-sales Service (See phone number in the warranty booklet).
When contacting our After-sales Service, please state the codes provided on your product’s identification plate.
























