Body-Solid GCEC-KIT Leg Extension and Leg Curl Machine

Warning, Safety & Maintenance
Be sure that all users carefully read and understand all warning, safety and maintenance labels on the machine before each use. Failure to do so may result in death or serious injury.
It is imperative that you retain this Owner’s Manual and be sure all warning labels are legible and intact. Replacement Owner’s Manuals and warning labels are available from your local Body-Solid dealer.
If you have any questions about the operation, set up or maintenance of this machine please call our customer service department at 1 (800) 556-3113
Important Safety Instructions
Before beginning any fitness program, you should obtain a complete physical examination from your physician.
When using exercise equipment, you
should always take basic precautions,
including the following
- Read all instructions before using the GCEC-KIT.
- These instructions are written to ensure your safety and to protect the unit.
- Do not remove any safety labels from the machine.
- Do not allow children on or near the equipment.
- Use the equipment only for its intended purpose as described in this guide. Do not use accessory attachments that are not recommended by the manufacturer. Such attachments might cause injuries.
- Wear proper exercise clothing and shoes for your workout, no loose clothing.
- Keep hands, limbs, loose clothing, and long hair well out of the way of all moving parts.
- Use care when getting on or off the unit.
- Do not overexert yourself or work to exhaustion.
- If you feel any pain or abnormal symptoms, stop your workout immediately and consult your physician.
- Never operate unit when it has been dropped or damaged. Return the equipment to a service center for examination and repair.
- Never drop or insert objects into any opening in the equipment.
- Always check the unit and its cables before each use. Make sure that all fasteners and cables are secure and in good working condition.
- Do not use the equipment outdoors or near water.
Personal Safety During Assembly
- Before beginning assembly, please take the time to read the instructions thoroughly.
- Read each step in the assembly instructions and follow the steps in sequence. Do not skip ahead.
- If you skip ahead, you may learn later that you have to disassemble components and that you may have damaged the equipment.
- Assemble and operate the GCEC-KIT on a solid level surface. Locate the unit a few feet from the walls or furniture to provide easy access.
The GCEC-KIT is designed for your enjoyment. By following these precautions and using common sense, you will have many safe and pleasurable hours of healthful exercise with your Body-Solid GCEC-KIT.
After assembly, you should check all functions to ensure correct operation. If you experience problems, first recheck the assembly instructions to locate any possible errors made during assembly. If you are unable to correct the problem, call the dealer from whom you purchased the machine or call 1-800-556-3113 for the dealer nearest you.
Obtaining Service
Please use this Owner’s Manual to make sure that all parts have been included in your shipment. When ordering parts, you must use the part number and description from this Owner’s Manual. Use only Body-Solid replacement parts when servicing this machine. Failure to do so will void your warranty and could result in personal injury. For information about product operation or service, check out the official Body-Solid website at www.bodysolid.com or contact an authorized Body-Solid dealer or a Body-Solid factory-authorized service company or contact Body-Solid customer service at one of the following:
Toll Free: 1-800-556-3113
Phone: 1-708-427-3555
Fax: 1-708-427-3556
Hours: M-F 8:30-5:00 CST
Email: [email protected]
Or write to: Body-Solid, Inc.
Service Department
1900 S. Des Plaines Ave.
Forest Park, IL 60130 USA
Retain this Owner’s Manual for future reference. If you need to order replacement parts please be prepared to provide the following information when contacting us so that we can assist you better.
- Model Number
- Place of Purchase
- Serial Number (S/N)
- Part # and Description
Preparation
Thank you for purchasing the GCEC-KIT. This bench is part of the Body-Solid line of quality strength training machines, which lets you target specific muscle groups to achieve better muscle tone and overall body conditioning. To maximize your use of the equipment please study this
Required Tools
The basic tools that you must obtain before assembling the GCEC-KIT include but are not limited to:
- Metric Allen Key Set
- Standard Allen Key Set
- Standard Wrench Set
- Metric Wrench Set
- Adjustable Wrench
- Screwdriver (standard and/or Philips)
Follow these installation requirements when assembling the GCEC-KIT:
Set up the GCEC-Kerr on a solid, flat surface. A smooth, flat surface under the machine helps keep it level. A level machine has fewer malfunctions.
Provide ample space around the machine. Open space around the machine allows for easier access.
Insert all bolts in the same direction. For aesthetic purposes, insert all bolts in the same direction unless specified {In text or Illustrations) to do otherwise.
Leave room for adjustments. lighten fasteners such as bolts, nuts, and screws so the unit is stable, but leave room for adjustments. Do not fully tighten fasteners until instructed in the assembly steps to do so.
Fill out and mall the warranty card.
Read all “Notes” on each page before beginning each step.
While you may be able to assemble the GCEC-KIT using the illustrations only, important safety notes and other tips are included in the text.
Some pieces may have extra holes that you will not use. Use only those holes indicated in the instructions and illustrations.
NOTE: With so many assembled parts, proper alignment and adjustment is critical. While tightening the nuts and bolts, be sure to leave room for adjustments.
NOTE: The bottles that are marked “Polson” Is your touch up paint. Keep away from children.
CAUTION: Obtain assistance! If you feel like you can’t assemble the GCEC-KIT by yourself then do not attempt to do so as this could result in injury. Review the installation requirements before proceeding with the following steps.
Body-Solid con11nually seeks ways to improve the performance, specifications and product manuals In order to ensure that only superior products are released from our factories. Please take the time to carefully read through this manual thoroughly. Instructions contained in this document are not intended to cover all details or variations possible with Body-Solid equipment, or to cover every contingency that may be met In conjunction with Installation, operation, maintenance or troubleshooting of the equipment. Even though we have prepared this manual with extrema care, neither the publisher nor the author can accept responsibility far any errors in, or omission from, the Information given. Should additional information be required, or should situations arise that are not covered by this manual, the matter should be directed to your local Body-Solid representative, or the Service Department at Body-Solid Inc.in Fo”’81 Park, Illinois.
Be careful to assemble all components in the sequence they are presented.
NOTE:
Finger tighten all hardware in this step. DO NOT wrench tighten until the last step.
Some components may be pre-assembled. Nylon lock nuts will not fully screw onto
bolts, they must be wrench tighten to fully go on.
- A. Disassemble Multi-Hip Arm (F)GcEc-340 by loosening four M8x8 Allen Screws (#29)GcEc-340 & removing Pin (#28)GcEc-340
- B. Slide Cam (A) into the Multi-Hip Adjuster (G)GcEc-340
- C. Insert Pin (#28GcEc-340 or #21 GcEc-KiT) into the Multi-Hip Adjuster (G)GcEc-340 , then secure Multi-Hip Adjuster (G)GcEc-340 by tightening four Allen Screws (#8) on Cam (A).
- D. Attach Cable with Hole End (#20) to Cam (A) using:
- Two spacer sleeve (#17)
- One sleeve (#18)
- One M8x40 hex head bolt (#5)
- Two MS washers (#10)
- One MS nylon lock nut (#12)

Above shows Step 1 assembled and completed


Be careful to assemble all components in the sequence they are presented.
NOTE: Finger tighten all hardware in this step. DO NOT wrench tighten until the last step. Some components may be pre-assembled. Nylon lock nuts will not fully screw onto bolts, they must be wrench tighten to fully go on.
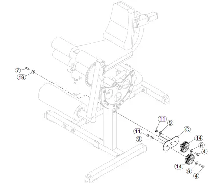
- A. Remove Shaft (L)GcEc-340.
- B. Install Pulley Holder (C) into Leg Extension Frame (B)GcEc-340 using:
- one M10x25 allen head bolt (#7)
- one M10 washer (#19)
- C. Install two Pulleys (#14) into the Pulley Holder (C) using:
- Two M10x40 hex head bolts (#4)
- Four M10 washer (#9)
- Two M10 nylon lock nuts (#11)
- D. Route Cable (#20) between the two Pulleys (#14 ). Please note that you may need to un-install one of the Pulleys in order to route the cable.

Above shows Step 2 assembled and completed.

Be careful to assemble all components in the sequence they are presented.
NOTE: Finger tighten all hardware first in this step. Wrench tighten ALL hardware at the end of STEP 3D. Some components may be pre-assembled. Nylon lock nuts will not fully screw onto bolts, they must be wrench tighten to fully go on.
- A. Disassemble Multi-Hip Vertical Frame (K) GcEc-340 from Leg Extension Frame (B) GcEc-340 by removing:
- One M1 0x65 hex head bolt (#4)
- Two M10 washer (#9)
- One M10 nylon lock nuts (#7)
- B. Attach Double Pulley Holder (B) to Lower Base Frame (A)GsTAcK using:
- Two M1 0x95 hex head bolts (#1)
- Four M10 washer (#9)
- Two M10 nylon lock nuts (#11)
- C. Attach Double Pulley Holder (B) to Leg Extension Frame (B)GcEc-340 using:
- One M1 0x75 hex head bolt (#2)
- Two M10 washer (#9)
- One M10 nylon lock nuts (#11)
- D. Install Two Pulleys (#15) into the Double Pulley Holder (B) using:
- Two M1 0x45 hex head bolts (#3)
- Four M10 washer (#9)
- Two M10 nylon lock nuts (#11)

Above shows Step 3 assembled an d completed

Be careful to assemble all components in the sequence they are presented.
- A. Route Cable (#20) as shown in Step 4 Drawing and attached Cable with chain end (#20) to the Floating Pulley Bracket (E)GsTAck
Part# Size Description Quantity
1 M10X95mm HEX HEAD BOLT 2
2 M10X75mm HEX HEAD BOLT 1
3 M10X45mm HEX HEAD BOLT 2
4 M10X40mm HEX HEAD BOLT 2
5 M8x40mm HEX HEAD BOLT 1
6 M6x25mm SOCKET HEAD BOLT (Pre-Installed) 8
7 M10x25mm ALLEN HEAD BOLT (Pre-Installed) 1
8 M8x8mm ALLEN SCREW (Pre-Installed) 4
9 M10 WASHER 14
10 M8 WASHER 2
11 M10 NYLON LOCK NUT 7
12 M8 NYLON LOCK NUT 1
13 M6 NYLON LOCK NUT (Pre-Installed) 8
14 3-1/2″ PULLEY 2
15 4-1/2″ PULLEY 2
16 NA CAM CABLE TRACK (Pre-Installed) 4
17 NA SPACER SLEEVE 2
18 NA SLEEVE 1
19 NA WASHER (Pre-Installed) 1
20 4’6″ (1370MM) CABLE 1
21 NA PIN 1
G C E C – K I T Main frame Parts List
Part# Description Quantity
A CAM 1
B DOUBLE PULLEY HILDER 1
C OULLEY HOLDER 1
G C E C – K I T H a r d w a r e I l l u s t r a t i o n
PART#1 HEX HEAD BOLT M10X95 QTY.2

PART#2 HEX HEAD BOLT M10X75 QTY.1

PART#3 HEX HEAD BOLT M10X45 QTY.2

PART#4 HEX HEAD BOLT M10X40 QTY.2

PART#5 HEX HEAD BOLT M8X40 QTY.1

PART#6 SOCKET HEAD BOLT M6X25 (Pre-installed) QTY.8
![]()
PART#7 ALLEN HEAD BOLT M10X25 (Pre-installed) QTY.1

PART#8 ALLEN SCREW M8X8 (Pre-installed) QTY.4

PART#9 M10 WASHER QTY.14

PART#10 M8 WASHER QTY.2

PART#11 M10 NYLON NUT QYT.7

PART#12 M8 NYLON NUT QYT.1

PART#13 M6 NYLON NUT QYT.8


G C E C – K I T Exploded View

Notes
www.bodysolid.com
Copyright 2009. Body-Solid. All rights reserved. Body-Solid reserves the right to change design and specifications when we feel it will improve the product.
Body-Solid machines maintain several patented and patent pending features and designs. All rights reserved on all design patents and utility patents.
1900 S. Des Plaines Ave.
Forest Park, II 60130
Phone: (708)427-3555
Fax: (708)427-3556
Hours: M-F 8:30 – 5:00 CST

















