Cybex International 21050-999-4 AD Prestige Leg Extension

Product Information
The product is manufactured and distributed by Cybex International Inc. The owner’s manual part number is 21050-999-4 AD. The company has its corporate headquarters and international offices located in various regions across the world. The product can be used for exercise purposes.
Product Usage Instructions
Intended Use
The product is intended to be used for exercise purposes only.
It is important to follow the instructions provided in the manual and seek professional advice before starting any exercise routine.
Instructions
TIP: Read and understand all instructions and warnings prior to using this machine in the Safety section of the Owner’s Manual.
CAUTION: Use only in manner depicted. To avoid serious injury, use equipment only as describe in placards located on each machine.
All adjustment points on the machine have yellow handles or knobs.
| Set Up | Motion | Muscles Used |
| Push forward and up against pad until legs are straight. | Quadriceps |
![]() | ![]() | ![]() |
Corporate Headquarters
10601 W Belmont Ave, Franklin Park, IL 60131 • U.S.A.
847.288.3300
FAX: 847.288.3703
Service phone number: 800.351.3737 (toll-free within U.S.A., Canada)
Global Website: www.cybexintl.com
International Offices
AMERICAS
North America
Cybex International Inc.
10601 W Belmont Ave
Franklin Park, IL 60131 U.S.A.
Telephone: (847) 288 3300
Service Email: [email protected]
Sales/Marketing Email: [email protected]
Brazil
Life Fitness Brasil
Av. Rebouças, 2315 Pinheiros
São Paulo, SP 05401-300 BRAZIL
SAC: 0800 773 8282 option 2
Telephone: +55 (11) 3095 5200 option 2
Service Email: [email protected]
Sales/Marketing Email: [email protected]
Latin America and Caribbean
Life Fitness, LLC
10601 W Belmont Ave Franklin Park, IL 60131 U.S.A.
Telephone: (847) 288 3300
Service Email: [email protected]
Sales/Marketing Email: [email protected]
EUROPE, MIDDLE EAST, and AFRICA (EMEA)
Netherlands and Luxemburg Life Fitness Atlantic BV
Bijdorpplein 25-31
2992 LB Barendrecht THE NETHERLANDS
Telephone: (+31) 180 646 666
Service Email: [email protected]
Sales/Marketing Email: [email protected]
United Kingdom
Life Fitness UK LTD
Queen Adelaide
Ely, Cambs, CB7 4UB
Telephone: General Office (+44) 1353.666017
Customer Support (+44) 1353.665507 Service Email: [email protected]
Sales/Marketing Email: [email protected]
Germany, Austria, and Switzerland
Life Fitness Europe GMBH
Neuhofweg 9
85716 Unterschleißheim GERMANY
Telephone:
+49 (0) 89 / 31775166 Germany
+43 (0) 1 / 6157198 Austria
+41 (0) 848 / 000901 Switzerland
Service Email: [email protected]
Sales/Marketing Email: [email protected]
Spain
Life Fitness IBERIA
C/Frederic Mompou 5,1º1ª
08960 Sant Just Desvern Barcelona SPAIN
Telephone: (+34) 93.672.4660
Service Email: [email protected]
Sales/Marketing Email: [email protected]
Belgium
Life Fitness Benelux NV
Parc Industrial de Petit-Rechain 4800 Verviers
BELGIUM
Telephone: (+32) 87 300 942
Service Email: [email protected]
Sales/Marketing Email: [email protected]
All Other EMEA Countries and Distributor Business EMEA* Life Fitness Atlantic BV
Bijdorpplein 25-31
2992 LB Barendrecht THE NETHERLANDS
Telephone: (+31) 180 646 644
Service Email: [email protected]
ASIA PACIFIC (AP)
Japan
Life Fitness Japan, Ltd
4-17-33 Minami Aoyama 1F/B1F Minato-ku – Tokyo 107-0062 Japan
Telephone: (+81) 0120.114.482
Fax: (+81) 03-5770-5059
Service Email: [email protected]
Sales/Marketing Email: [email protected]
Hong Kong
Life Fitness Asia Pacific LTD
26/F, Global Trade Square 21 Wong Chuk Hang Road Wong Chuk Hang
Hong Kong
Telephone: (+852) 25756262
Fax: (+852) 25756894
Service Email: [email protected]
Sales/Marketing Email: [email protected]
All Other Asia Pacific countries and distributor business Asia Pacific*
Life Fitness Asia Pacific LTD
26/F, Global Trade Square 21 Wong Chuk Hang Road Wong Chuk Hang
Hong Kong
Telephone: (+852) 25756262
Fax: (+852) 25756894
Service Email: [email protected] Sales/Marketing Email: [email protected]
Also check www.cybexintl.com for local representation or distributor/dealer
*Also check www.cybexintl.com for local representation or distributor/dealer
User and Service Documents Link
https://lifefitness9512.zendesk.com/hc/en-us
https://lfworld.lifefitness.com
Additional information is available online using the links above.
Safety
Safety Guidelines and Practices
TIP: Read the Owner’s Manual carefully before assembling, servicing, or using the equipment. Owner must comply with all safety guidelines in this manual. It is also the owner’s responsibility to instruct users on the safe and proper operation of the equipment and to properly display any and all warning labels and instructional placards. All users should read these labels and placards before using equipment.
WARNING: Serious injury or death could occur if the following safety precautions and instructions are not followed.
WARNING: This product can expose you to chemicals including Di-isobutyl Phthalate, which is known to the State of California to cause birth defects or other reproductive harm, and Antimony Trioxide, which is known to the State of California to cause cancer. For more information go to http://www.P65Warnings.ca.gov
Anchoring Equipment
Owner should not allow equipment to be used until it is properly anchored as described below.
WARNING: Anchoring equipment:
- To maximize stability and eliminate rocking, tipping, or falling over, equipment must be anchored to a solid, level surface, utilizing all anchoring holes provided.
- Fasteners must have a minimum of 500 lbs. tensile capacity. Cybex recommends .3/8” grade 2 bolts or better. A minimum pull force of 220 lbs/100 kgs is required for each anchor position.
- If leg frames do not contact surface, DO NOT pull down with anchors. Shim any leg or frame not in contact with surface using flat washers.
- Due to the wide variation of flooring on which machines may be anchored or installed, consult with a qualified and licensed contractor to ensure proper anchoring and installation.
Facility Safety Precautions
Do not allow anyone, including trainers, to use equipment in a manner other than that shown on the warning labels and instructional placards located on every machine.
Do not install equipment on an uneven surface. The solid, level surface should not deviate more than 1/8” over a 10’ distance or as defined and required by local building and architectural codes.
It is the responsibility of the facility owner/owner of the equipment to ensure that there is appropriate clearance around each machine to allow for safe use and passage.
In compliance with the ADA (American Disabilities Act) there must be clear floor space of at least 30 by 48 inches and be served by an accessible route for at least one of each type of exercise equipment. If the clear space is enclosed on three sides (e.g., by walls or the equipment itself), the clear space must be 36 by 48 inches.
All other machines must have a clear floor space of 23” for all access point on the machine, unless shown in the Owner’s Manual. The dimensions stated in the assembly instructions of this manual include the maximum foot print (in use) dimensions.
All equipment should be used in a supervised, access-controlled area.
Do not allow equipment to be used by children 12 and under. Supervise disabled and children 13 and older.
The owner should ensure that regular inspection and maintenance checks as detailed in this manual are performed. Keep a log of all maintenance and repair activities.
Each day before use, the owner should inspect the equipment. If there are any loose or worn components such as belts, cables, grips, pulleys, or any missing, damaged labels, or placards, the owner should fix any deficiencies before they allow the equipment to be used.
Use only Cybex components to maintain and repair the equipment.
Display the Facility Safety Sign so it is visible and prominent.
User Safety Precautions
Owners must instruct users to DO the following:
- Follow all warning labels and instructional placards when using equipment.
- Insert weight pin completely before using selectorized equipment.
- Consult a physician prior to commencing an exercise program. If at any time during exercise you feel faint, dizzy or experience pain, stop and consult your physician.
- Use a spotter for Free Weight equipment.
Owners must instruct users to NOT DO the following:
- DO NOT pin weights on selectorized equipment in an elevated position or use the machine if found in this position
- DO NOT increase weight resistance on equipment by any means other than those provided by Cybex.
- DO NOT wear loose or dangling clothing or jewelry while using equipment. Stay clear of moving parts.
- DO NOT lean or pull on machine
- DO NOT use machine for support during stretching.
- DO NOT attach resistance straps, ropes or other means to equipment, except those provided by the manufacturer for intended use on the equipment.
- DO NOT exceed the maximum specified user weight.
- DO NOT use if equipment appears damaged or inoperable upon inspection
- DO NOT use if guards are missing or damaged.
- DO NOT remove any labeling from equipment.
Warnings and Cautions
Warning labels indicate a potentially hazardous situation that could result in serious injury or death if the precautions are not observed.
Caution labels indicate a potentially hazardous situation that could result in serious injury or damage to machine if the precautions are not observed.
Contact Customer Support Services to replace any worn or damaged labels.
Label Placement
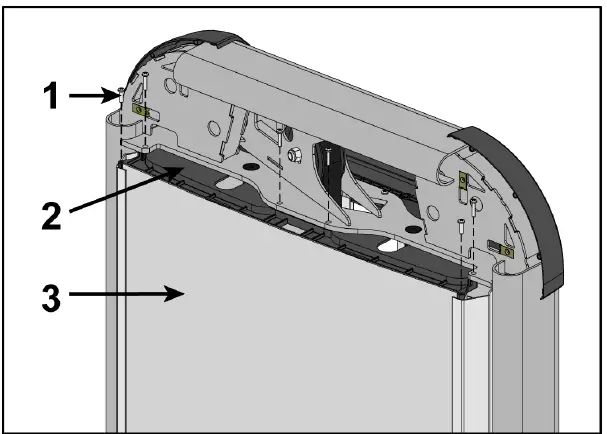
The following diagram shows where each label is located.
| Description | Qty | |
| 1 | DE000023-X | 1 |
| 2 | 8500-025-X | 1 |
Assembly
Machine Specifications
Total Weight and Size: 21050 Prestige Leg Extension Standard Stack
| Weight | Machine Dimensions at Rest | Machine Dimensions in Use |
| 565 Lbs | 49” L × 41” W × 58” H | 65” L × 43” W × 56” H |
| 257 Kg | 124 cm L × 104 cm W × 147 cm H | 165 cm L × 109 cm W × 142 cm H |
Total Weight and Size: 21050 Prestige Leg Extension Heavy Stack
| Weight | Machine Dimensions at Rest | Machine Dimensions in Use |
| 625 Lbs | 49” L × 41” W × 58” H | 65” L × 43” W × 56” H |
| 284 Kg | 124 cm L × 104 cm W × 147 cm H | 165 cm L × 109 cm W × 142 cm H |

| Maximum User Weight | Maximum Training Weight |
| 300 lbs/135 kg | 305 lbs/138 kg |
Choosing and Preparing a Site
Before assembling the unit, verify the chosen site meets the following criteria:
- Area is well lit and well ventilated.
- Surface is structurally sound and properly leveled.
- Free area for access to unit and emergency dismount. Minimum clearance is 23.6 inches (0.6 meters).
- Adjacent units may share the free area.
It is the responsibility of the facility owner/owner of the equipment to ensure that there is appropriate clearance around each machine to allow for safe use and passage.
In compliance with the ADA (American Disabilities Act) there must be clear floor space of at least 30 by 48 inches and be served by an accessible route for at least one of each type of exercise equipment. If the clear space is enclosed on three sides (e.g., by walls or the equipment itself), the clear space must be 36 by 48 inches.
All other machines must have a clear floor space of 23” for all access point on the machine, unless shown in the Owner’s Manual.
Environment
Humidity and Static Electricity
The unit is designed to function normally in an environment with a relative humidity range of 30% to 75%. The unit can be shipped and stored in a relative humidity range of 10% to 90%.
Climatic dry air may cause static electricity. During workout, user may experience a shock due to build up of static electricity on the body and the discharge path of the unit. If static electricity is experienced, increase humidity to a comfortable level through the use of a humidifier.
Do not install, use or store the unit in an area of high humidity, such as in the vicinity of a steam room, sauna, indoor pool or outdoors. Exposure to extensive water vapor, chlorine and/or bromine could adversely affect other parts of the unit.
Temperature
The unit is designed to function normally in an environment with an ambient temperature range of 50° F (10° C) to 104° F (40° C). The unit can be shipped and stored in an environment with an ambient temperature range of 32° F (0° C) to 140° F (60° C).
Verify parts list below
| Qty | Part Number | Description | Diagram |
| 4 | 12090-322 | Foot Pad | ![]() |
| 1 | 12000-560 | Decal, Weight Plate (30-290) | ![]() |
| 11 | 4000C101 | Weight Stack Plate (Standard Stack) | ![]() |
| 14 | 4000C101 | Weight Stack Plate (Heavy Stack) | ![]() |
Tools Required
- 7/32” Allen wrench
- 3/4” Socket wrench or Open end wrench
- Torque wrench
- Phillips screwdriver
- Medium weight automotive engine oil
Assembly Procedure
Two people will be required for this procedure.
TIP: Read and understand all instructions thoroughly before assembling this unit. Check all items carefully. If there is damage, see the Customer Service section of this manual for proper procedure to return, replace, or reorder parts.
If machine CAN be moved without adding or removing weight stack
Two people will be required for this procedure
- Move to desired location.
- Remove shipping cones using a 3/4″ socket or wrench.
- Remove bolt from shipping cone with hammer. Recycle cone.
- Attach foot pads to each foot of frame.
Securely anchor machine to floor
Owner should not allow equipment to be used until it is properly anchored as described below.
WARNING: Anchoring equipment:
- To maximize stability and eliminate rocking, tipping, or falling over, equipment must be anchored to a solid, level surface, utilizing all anchoring holes provided.
- Fasteners must have a minimum of 500 lbs. tensile capacity. Cybex recommends .3/8” grade 2 bolts or better. A minimum pull force of 220 lbs/100 kgs is required for each anchor position.
- If leg frames do not contact surface, DO NOT pull down with anchors. Shim any leg or frame not in contact with surface using flat washers.
- Due to the wide variation of flooring on which machines may be anchored or installed, consult with a qualified and licensed contractor to ensure proper anchoring and installation.
Verify proper operation
If machine CANNOT be moved without adding or removing weight stack
Two people will be required for this procedure
- Remove shipping cones using a 3/4” socket or wrench.
- Remove bolt from shipping cone with hammer. Recycle cone.
Disconnect belt
- Make a note of the current belt routing and connections. This will assist you in reinstalling them properly.
- Remove screws securing top rear cover to frame using a Phillips screwdriver.

Item Description Qty 1 Screw 4 2 Top rear cover 1 - Remove screws securing top mount to frame using a Phillips screwdriver.

Item Description Qty 1 Screw 6 2 Top mount 1 3 Back panel 1 - Slide back panel upward and remove.
- Remove set screws securing belt to belt clamp using a 7/32″ Allen wrench.

Item Description Qty 1 Belt clamp 1 2 Set screw 2
Remove weight plates
- Turn the increment weight adjusting knob to select 0 lbs (0 kg).
- Remove top guide rod caps. Top guide rod cap contains a compression spring that will fly if grasp is not released slowly. Slide spring loaded top guide rod cap down guide rod until cap is clear of frame. Slowly release grasp of top guide rod cap and set aside.
- Repeat above step for opposite guide rod.
- Lean guide rods slightly outward, away from machine. DO NOT put excessive pressure on guide rods, it will damage lower guide rod caps.
- Slide top weight up and out of the machine and set aside.
- Remove weight plates and set aside for re-installation later.
- Move to desired location.
Install weight plates
- Lean guide rods slightly outward, away from machine, DO NOT put excessive pressure on guide rods, it will damage lower guide rod caps.
- Wipe the entire length of the guide rods with a clean cloth.

Item Description Qty 1 Top guide rod cap 2 2 Guide rod 2 3 Guide rod plate 1 - Lubricate the guide rods with a light coating of medium weight oil.
- Install each weight plate, one at a time, so wide edge of bushing faces upward (1) and narrow edge of bushing (2) faces downward.

- Slide top weight onto guide rods.
- Install compression spring and top guide rod cap onto guide rod. Slide spring loaded top guide rod cap down guide rod until cap is clear of guide rod plate and install. Repeat for opposite side.

Item Description Qty 1 Top guide rod cap 2 2 Guide rod 2 3 Guide rod plate 1 - Install four Phillips head screws securing plastic mount to guide rod plate.
Apply weight plate decal (if not already installed on weight plates)
- Peel off half of backing from weight plate decals, making sure that the decals remain attached to the front sheet.

Item Description Qty 1 Backing 1 2 Front sheet 1 3 Weight decals 1 - Place decals front sheet in the correct position on weight plates.
- Insert a guide pin through each hole of the decals front sheet. (A guide pin can be anything that fits through the weight stack hole, such as a weight stack selector pin.)
- Align decals and rub them onto weight plates.
- Remove front sheet, do not peel decals off of weight plates.

Item Description Qty 1 Weight stack selector pin 1 2 Weight plate decals 1 - Repeat above steps for other half of the weight plate decals.
Belt routing
- Verify belt is routed through top of pulley bracket and then route end of belt down to the top weight.
- Lift top weight and verify that the position of the belt clamp (on the top weight) is aligned properly with the top pulley bracket.
- Slide belt through slot in belt clamp.
- Verify belt and insert are installed properly. Do not install the insert backwards.

Item Description Qty. 1 Belt 1 2 Insert 1 3 Belt clamp 1 - Pull belt tight and secure belt to clamp with set screws.
- Torque set screws 300-350 lb-in.
- Turn the Increment Weight Adjusting Knob to select 0 lbs or 0 kg.
- Place weight stack pin in each plate to verify proper installation.
- Simulate normal operation by lifting top weight up and down without selecting any resistance.
- Verify that the belt is moving smoothly and is routed straight from the top pulley bracket to the top weight belt clamp.
Install back panel
Slide back panel down into extrusions.
Install top cover
- Install screws securing top mount to frame using a Phillips screwdriver.

Item Description Qty 1 Screw 6 2 Top mount 1 3 Back panel 1 - Install screws securing top rear cover to frame using a Phillips screwdriver.

Item Description Qty 1 Screw 4 2 Top rear cover 1
Securely anchor machine to floor
Owner should not allow equipment to be used until it is properly anchored as described below.
WARNING: Anchoring equipment:
- To maximize stability and eliminate rocking, tipping, or falling over, equipment must be anchored to a solid, level surface, utilizing all anchoring holes provided.
- Fasteners must have a minimum of 500 lbs. tensile capacity. Cybex recommends .3/8” grade 2 bolts or better. A minimum pull force of 220 lbs/100 kgs is required for each anchor position.
- If leg frames do not contact surface, DO NOT pull down with anchors. Shim any leg or frame not in contact with surface using flat washers.
- Due to the wide variation of flooring on which machines may be anchored or installed, consult with a qualified and licensed contractor to ensure proper anchoring and installation.
Verify proper operation
Maintenance
All preventive maintenance activities must be performed on a regular basis. Performing routine preventive maintenance actions can aid in providing safe, trouble-free operation of all Cybex equipment.
Cybex is not responsible for performing regular inspection and maintenance actions for your machines. Instruct all personnel in equipment inspection and maintenance actions and also in accident reporting and recording. Cybex representatives are available to answer any questions that you may have.
Warnings
TIP: Read all warnings in this chapter.
WARNING: For maintenance, service and repair:
- Must be performed by trained service personnel only
- Use only replacement parts.
WARNING: Equipment hazard.
To avoid serious injury or death replace worn or damaged components immediately and keep the equipment out of use until repair is completed.
WARNING: The safety level of the equipment can be maintained only if the equipment is examined regularly for damage and wear.
Daily Procedures
When using strong cleaning agents such as rubbing alcohol or bleach, it is advisable to test first in an inconspicuous area. Other cleaning agents may contain harsh or unknown solvents and are subject to formula changes by the product manufacturer without notice. Should you desire to use other cleaning agents, carefully try them in an inconspicuous area to determine potential damage to the material. Never use harsh solvents or cleaners which are intended for industrial applications. To clean stained or soiled areas, a soft white cloth is recommended. Avoid use of paper towels.
Cleaning products may be harmful/irritating to your skin, eyes, etc. Use protective gloves and eye protection. Do Not inhale or swallow any cleaning product. Protect surrounding area/clothing from exposure. Use in well ventilated area. Follow all product manufacturer’s warnings. Cybex and its vendors cannot be held responsible for damage or injuries resulting from the use or misuse of cleaning products.
Clean Upholstery
| If | Then |
| Light Soiling |
|
| More Difficult Stains |
|
| More Difficult Stains (Alternative Method) |
|
| If | Then |
| Restoring Luster |
|
Clean Frames
Wipe down all frames using a mild solution of warm water and car wash soap. Be sure to dry thoroughly. AVOID acid or chlorine based cleaners and also cleaners containing abrasives as these could scratch or damage the equipment.
Clean Chrome
Clean chrome tubes, first using chrome polish and then using a car wax seal. Neutral cleaners with a pH between 5.5 and 8.5 are recommended. Be sure to dry thoroughly. AVOID acid or chlorine based cleaners and also cleaners containing abrasives as these could scratch or damage the equipment.
Guidelines for cleaning front panel:
Use clean soft cloths or sponges for application of cleaners and again for washing and rinsing. Follow up each application with warm water rinse.
- DO NOT use abrasives or high alkaline cleaners.
- DO NOT leave cleaners on for long periods, wash immediately.
- DO NOT apply cleaners in direct sunlight or at elevated temperatures.
- DO NOT use scrapers, squeegees, or razors.
- DO NOT clean with gasoline.
Compatible Cleaners and Detergents:
- Formula 409
- Top Job
- Joy
- Palmolive
- Windex with Ammonia D
To Minimize Fine or Hairline Scratches:
Mild automotive polish applied and removed with a soft clean cloth will help fill scratches.
Suggested Polishes:
- Johnson Paste Wax
- Mirror Glaze #10 Plastic Polish (by Mirror Bright Polish Co.)
- Novus Plastics Polish #1, #2 (By Novus Inc.)
Weekly Procedures
Inspect All Nuts and Bolts
Tighten all loose nuts and bolts as required.
WARNING: Equipment hazard.
To avoid serious injury or death replace worn or damaged components immediately and keep the equipment out of use until repair is completed.
Inspect Belts
Inspect all belts for wear or damage and proper tension. When inspecting belts, run fingers on the belt, paying particular attention to bends and attachment points.
The following conditions may indicate a worn belt:
Inspect Other Items
Inspect other items for proper operation, damage, or wear.
| Inspection | Action |
| Inspect grips for looseness or wear. | Replace all loose or worn grips immediately. |
| Inspect all labeling for readability, including instructional placards, warning and caution decals. | Replace all worn labeling immediately. |
| Inspect all weight stacks for proper alignment and operation. | Correct all improper alignment and operation issues immediately. |
| Inspect guide rods for lubrication. | Wipe Weight Stack Guide Rods clean over entire length. Lubricate with a light coat of medium weight automotive engine oil. |
Yearly Procedures
Replace all cables and belts annually
Belt Adjustment
Tools Required
- 7/32″ Wrench
- Torque wrench
- Loosen set screws using a 7/32″ Allen wrench.

Item Description Qty 1 Set screw 2 2 Belt 1 - Pull belt tight.
- Secure belt in place with set screws.
- Torque set screws to 300-350 lb-in.
- Verify that the belt is moving smoothly and is routed straight from the top pulley bracket to the top weight belt clamp.
Customer Service
Product Registration
To register product do the following:.
- Visit www.cybexintl.com.
- Locate Product Registration in the Support section.
- Fill out form completely.
- Click the Submit button to register product.
Contacting Service
Hours of phone service are Monday through Friday from 8:30 a.m. to 6:00 p.m. Eastern Standard Time.
For Cybex customers living in the USA, contact Cybex Customer Service at 1-888-462-9239.
For Cybex customers living outside the USA, contact Cybex Customer Service at 1-508-533-4300 or fax 1-508-533-5183. Email address [email protected]
Find information on the web at www.cybexintl.com.
To contact us online go to www.cybexintl.com.
Ordering Parts
To order parts online go to www.cybexintl.com.
To speak with a customer service representative, call 800-351-3737 (for customers living within the USA) or 847-288-3700 (for customers outside the USA).
The following information located on the serial number decal will assist our Cybex representatives in serving you.
- Unit Serial Number, Product Name and Model Number
- Part Description and Part Number if you have it. All parts can be found on the web at www.cybexintl.com
- Shipping Address
- Contact Name
- Include a description of the problem.
In addition to your shipping address and contact name, your account number is helpful but not required. You may also fax orders to 800-216-8893.
Return Material Authorization (RMA)
The Return Material Authorization (RMA) system is used when returning material for placement, repair or credit. The system assures that returned materials are properly handled and analyzed. Follow the following procedures carefully.
Contact your authorized Cybex dealer on all warranty-related matters. Your local Cybex dealer will request a RMA from Cybex, if applicable. Under no circumstances will defective parts or equipment be accepted by Cybex without proper RMA and an Automated Return Service (ARS) label.
Please contact Cybex Customer Service for the return of any item that is defective.
Provide the technician with a detailed description of the problem you are having or the defect in the item you wish to return. Provide the model and serial number of your Cybex equipment.
At Cybex’s discretion, the technician may request that you return the problem part(s) to Cybex for evaluation and repair or replacement. The technician will assign you a RMA number and will send you an ARS label. The ARS label and the RMA numbers must be clearly displayed on the outside of the package that contains the item(s) to be returned. Include the description of the problem, the serial number of the equipment and the name and address of the owner in the package along with the part(s).
Merchandise returned without an RMA number on the outside of the package or shipments sent COD will not be accepted by the Cybex receiving department.
Damaged Parts
Materials damaged in shipment should not be returned for credit. Shipping damages are the responsibility of the carrier (UPS, Federal Express, trucking companies, etc.)
Apparent Damage
Upon receipt of your shipment, check all items carefully. Any damage seen with a visual check must be noted on the freight bill and signed by the carrier’s agent. Failure to do so will result in the carriers refusal to honor your damage claim. The carrier will provide you with the required forms for filing such claims.
Concealed Damage
Damage not seen with a visual check upon receipt of a shipment but notices later must be reported to the carrier as soon as possible. Upon discovery of the damage, a written or phone request to the carrier asking them to perform an inspection of the materials must be made within ten days of the delivery date. Keep all shipping containers and packing materials as they will be needed in the inspection process. The carrier will provide you with an inspection report and the necessary forms for filing a concealed damage claim. Concealed damage claim is the carrier’s responsibility.
10601 W Belmont Ave, Franklin Park, IL 60131
800-351-3737
847-288-3700
www.cybexintl.com


























