Quick Start Guide
VLS PAN/TILT BRACKET
VLS Pan/Tilt Bracket
Important Safety Instructions
CAUTION ![]()
RISK OF ELECTRIC SHOCK!
DO NOT OPEN!
Terminals marked with this symbol carry electrical current of sufficient magnitude to constitute risk of electric shock. Use only high-quality professional speaker cables with ¼” TS or twist-locking plugs pre-installed.
All other installation or modification should be performed only by qualified personnel.
This symbol, wherever it appears, alerts you to thepresence of uninsulated dangerous voltage inside the enclosure- voltage that may be sufficient to constitute a risk of shock.
This symbol, wherever it appears, alerts you to important operating and maintenance instructions in the accompanying literature. Please read the manual.
Caution
To reduce the risk of electric shock, do not remove the top cover (or the rear section). No user serviceable parts inside.Refer servicing to qualified personnel.
Caution
To reduce the risk of fire or electric shock, do not expose this appliance to rain and moisture. The apparatus shall not be exposed to dripping or splashing liquids and no objects filled with liquids, such as vases, shall be placed on the apparatus.
Caution
These service instructions are for use by qualified ervice personnel only. To reduce the risk of electric shock do not perform any servicing other than that contained in the operation instructions.
Repairs have to be performed by qualified service personnel.
- Read these instructions.
- Keep these instructions.
- Heed all warnings.
- Follow all instructions.
- Do not use this apparatus near water.
- Clean only with dry cloth.
- Do not block any ventilation openings. Install in accordance with themanufacturer’s instructions.
- Do not install near any heat sources such as radiators, heat registers,stoves, or other apparatus (including amplifiers) that produce heat.
- Do not defeat the safety purpose of the polarized or grounding-type plug. A polarized plug has two blades with one wider than the other.
A grounding-type plug has two blades and a third grounding prong. The wide blade or the third prong are provided for your safety. If the provided plug does not fit into your outlet, consult an electrician for replacement of the obsolete outlet. - Protect the power cord from beingwalked on or pinched particularly at plugs, convenience receptacles, and the point where they exit from the apparatus.
- Use only attachments/accessories specified by the manufacturer.
Use only with the cart, stand, tripod, bracket, or table specified by the manufacturer, or sold with the apparatus. When a cart is used,use caution when moving the cart/ apparatus combination to avoid injury from tip-over.- Unplug this apparatus during lightning storms or when unused for long periods of time.
- Refer all servicing to qualified service personnel. Servicing is required when the apparatus has been damagedin any way, such as power supply cord or plug is damaged, liquid has been spilled or objects have fallen into the apparatus, the apparatus has been exposed to rain or moisture, does not operate normally, or has been dropped.
- The apparatus shall be connected to a MAINS socket outlet with a protective earthing connection.
- Where the MAINS plug or an appliance coupler is used as the disconnect device, the disconnect device shall remain readily operable.
Correct disposal of this product: This symbol indicates thatthis product must not be disposed of with household waste, according to the WEEE Directive (2012/19/EU) and your national law. This product should be taken to a collection center licensed for the recycling of waste electrical and electronic equipment (EEE).
The mishandling of this type of waste could have a possible negative impact on the environment and human health due to potentially hazardous substances that are generally associated with EEE. At the same time, your cooperation in the correct disposal of this product will contribute to the efficient use of natural resources. For more information about where you can take your waste equipment for recycling, please contact your local city office, or your household waste collection service.- Do not install in a confined space, such as a book case or similar unit.
- Do not place naked flame sources, such as lighted candles, on the apparatus.
- Please keep the environmental aspects of battery disposal in mind.
Batteries must be disposed-of at a battery collection point. - This apparatus may be used in tropical and moderate climates up to 45°C.
LEGAL DISCLAIMER
Music Tribe accepts no liability for any loss which may be suffered by any person who relies either wholly or in part upon any description, photograph, or statement contained herein. Technical specifications, appearances and other information are subject to change without notice.
All trademarks are the property of their respective owners. Midas, Klark Teknik, Lab Gruppen, Lake, Tannoy, Turbosound, TC Electronic, TC Helicon, Behringer, Bugera, Oberheim, Auratone, Aston Microphones and Coolaudio are trademarks or registered trademarks of Music Tribe Global Brands Ltd.
© Music Tribe Global Brands Ltd. 2021 All rights reserved.
LIMITED WARRANTY
For the applicable warranty terms and conditions and additional information regarding Music Tribe’s Limited Warranty, please see complete details online at musictribe.com/warranty.
VLS PAN/TILT BRACKET
Rigging and Safety Procedures
The installation of TANNOY loudspeakers using the dedicated hardware should only be carried out by fully qualified installers, in accordance with all the required safety codes
and standards that are applied at the place of installation.
WARNING: As the legal requirements for flying vary from country to country, please consult your local safety standards office before installing any product. We also recommend that you thoroughly check any laws and bylaws prior to installation. For more detailed information on rigging hardware and safety procedures, please consult the full VLS Series Operation Manual.
Hardware included
1 x Pan and tilt bracket
4 x Screws and washers for attaching bracket to product
1 x 5 mm Allen key
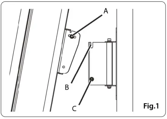
Mounting the loudspeaker on the wall bracket
- Lift the loudspeaker up to the wall bracket and insert the tilt rod “A” of the bracket into slot “B” at the top of the wall bracket.
- The weight of the bracket is now supported.
- The bottom fixing bolt “C” can now be fitted.
- The bracket is now secure and can be adjusted to the required angle.

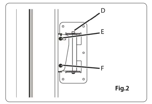
Adjusting the pan and tilt
Pan
- Loosen the vertical bolt “D” on the wall bracket using a spanner (wrench) on the top and bottom.
- Adjust to desired angle then re-tighten vertical bolt “D”.
Tilt
- Loosen bolts “E” and “F” on the loudspeaker bracket using a spanner (wrench) and the supplied Allen key.
- Adjust to desired angle then re-tighten bolts “E” and “F”.

Bracket pan and tilt angles
| VLS 7 | VLS 15 | VLS 30 | |
| Tilt | 0-10° | 0-10° | 0-10° |
| Pan left and right with no tilt | 70° | 70° | 70° |
| Pan left and right with full tilt | 45° | 45° | 45° |
Specifications
| VLS PAN/TILT BRACKET | |
| Hardware (screws, nuts and washers) | Stainless steel |
| Bracket material | Aluminium and steel with corrosion-resistant nickel zinc finish |
| Colours | Black Ral 9004 or White Ral 9003 |
Other important information
Important information
- Register online.
Please register your new Music Tribe equipment right after you purchase it by visiting musictribe.com. Registering yourpurchase using our simple online form helps us to process your repair claims more quickly and efficiently.
Also, read the terms and conditions of our warranty, if applicable. - Malfunction. Should your
Music Tribe Authorized Reseller not be located in your vicinity, you may contact the Music Tribe Authorized Fulfiller for your country listed under “Support” at musictribe.com. Should your country not be listed, please check if your problem can be dealt with by our “Online Support”which may also be found under “Support” at musictribe.com. Alternatively, please submit an online warranty claim at musictribe.com BEFORE returning the product. - Power Connections.
Before plugging the unit into a power socket, please make sure you are using thecorrect mains voltage for your particular model. Faulty fuses must be replaced with fuses of the same type and rating without exception.
Hereby, Music Tribe declares that this product is in compliance with Directive 2011/65/EU and Amendment 2015/863/EU, Directive 2012/19/ EU, Regulation 519/2012 REACH SVHC and Directive 1907/2006/EC, and this passive product is not applicable to EMC Directive 2014/30/EU, LV Directive 2014/35/EU.
Full text of EU DoC is available at https://community.musictribe.com/
EU Representative: Music Tribe Brands DK A/S
Address: Ib Spang Olsens Gade 17, DK – 8200 Aarhus N, Denmark
Use only with the cart, stand, tripod, bracket, or table specified by the manufacturer, or sold with the apparatus. When a cart is used,use caution when moving the cart/ apparatus combination to avoid injury from tip-over.
Correct disposal of this product: This symbol indicates thatthis product must not be disposed of with household waste, according to the WEEE Directive (2012/19/EU) and your national law. This product should be taken to a collection center licensed for the recycling of waste electrical and electronic equipment (EEE).

















