Instruction Manual
Portable air conditioner
https://goo.gl/M28ujH
SAFETY INSTRUCTIONS
Thank you very much for selecting this new model of Portable Air Conditioner, please read this Use and Care Manual carefully before installing and using this appliance. Please keep this Use and Care Manual properly for future reference.
The refrigerant used in the portable air conditioners is the environmentally friendly hydrocarbon R290. This refrigerant is odorless and compared to the alternative refrigerant, the R290 is an ozone-free refrigerant.
Please read the instructions before use and repair.
The drawings provided in this manual may not be the same as the physical objects. Please refer to the physical objects.
WARNING
- Do not use means to accelerate the defrosting process or to clean, other than those recommended by the manufacturer.
- The appliance shall be stored in a room without continuously operating ignition sources (for example open flames, an operating gas appliance or an operating electric heater.)
- Do not pierce or burn.
- Be aware that refrigerants may not contain an odor.
- The appliance shall be installed, operated, and stored in a room with a floor area larger than12.5 m2.
- Keep any required ventilation openings clear of obstruction.
- Servicing shall be performed only as recommended by the manufacturer.
- The appliance shall be stored in a well-ventilated area where the room size corresponds to the room area as specified for operation.
- Any person who is involved with working on or breaking into a refrigerant circuit should hold a current valid certificate from an industry-accredited assessment
![]()
This appliance contains R290/Propane a flammable refrigerant
The maximum dosage of refrigerant is 260g.
NOTES:
- The air conditioning is only suitable for indoor use and is not suitable for other applications.
- Follow local grid interconnection rules while installing the air conditioning and ensure that it is properly grounded. If you have any questions on electrical installation, follow the instructions of the manufacturer, and if necessary, ask a professional electrician to install it.
- Place the machine in a flat and dry place and keep a distance of above 50cm between the machine and the surrounding objects or walls.
- After the air conditioning is installed, ensure that the power plug is intact and firmly plugged into the power outlet, and place the power cord orderly to prevent someone from being tripped or pulling out the plug.
- Do not put any object into the air inlet and outlet of the air conditioning. Keep the air inlet and outlet free from obstructions.
- When drainage pipes are installed, ensure that the drainage pipes are properly connected, and are not distorted or bent.
- While adjusting the upper and lower wind-guide strips of the air outlet, pluck it with your hands gently to avoid damaging wind-guide strips.
- When moving the machine, make sure that it is in an upright position.
- The machine should stay away from gasoline, flammable gas, stoves, and other heat sources.
- Don’t disassemble, overhaul and modify the machine arbitrarily, otherwise, it will cause a machine to malfunction or even bring harm to persons and properties. To avoid danger, if a machine failure occurs, ask the manufacturer or professionals to repair it.
- Do not install and use the air conditioning in the bathroom or other humid environments.
- Do not pull the plug to turn off the machine.
- Do not place cups or other objects on the body to prevent water or other liquids from spilling into the air conditioning.
- Do not use insecticide sprays or other flammable substances near the air conditioning.
- Do not wipe or wash the air conditioning with chemical solvents such as gasoline and alcohol. When you need to clean the air conditioning, you must disconnect the power supply, and clean it with a half-wet soft cloth. If the machine is really dirty, scrub with a mild detergent.
- This appliance may be used by persons with reduced physical, sensory or mental capabilities or lack of experience or knowledge, provided that they are supervised or instructed in the safe use of the appliance and that they fully understand the potential hazards.
- Do not operate this appliance if it has a damaged cord or plug, if it is not working properly or if it has been damaged or dropped. If the supply cord is damaged, it must be replaced by the manufacturer or its service agent or a similarly qualified person in order to avoid a hazard.
- The appliance shall be installed in accordance with national wiring regulations.
- The device must not be used if it has been dropped, it obvious signs of damage are visible, or if it has leaks.
- Your appliance has been designed for domestic use only. It is not intended for use in the following situations which are not covered by the warranty:
– in staff kitchen areas in shops, offices, and other professional environments,
– in farm hostels,
– by guests in hotels, motels, and other residential environments,
– in bed and breakfast-type environments.
TRANSPORTATION, PARKING, AND STORAGE OF UNITS
- Transport of equipment containing flammable refrigerants Compliance with the transport regulations
- Marking of equipment using signs Compliance with local regulations
- Disposal of equipment using flammable refrigerants Compliance with national regulations
- Storage of equipment/appliances The storage of equipment should be in accordance with the manufacturer’s instructions.
- Storage of packed (unsold) equipment Storage package protection should be constructed such that mechanical damage to the equipment inside the package will not cause a leak of the refrigerant charge.
The maximum number of pieces of equipment permitted to be stored together will be determined by local regulations.
The appliance shall be stored so as to prevent mechanical damage from occurring Remark:
The best operating ambient temperature for cooling is 17-35 ° C, and the optimum ambient temperature for heating is 8-25 ° C.
Fuse Parameter: φ5.0x20mm 3.15A,250Vac.
The appliance is filled with flammable gas R290, and the maximum charge of refrigerant is 260g.
GWP value of R290refrigerant is 3.
For any repairs you need, contact the nearest authorized Service Centre and strictly follow the manufacturer’s instructions only.
FEATURES AND IDENTIFICATION OF PARTS
1. Features
- New appearance with compact design, more luxury, and upscale.
- Outlet louver swings automatically and winds direction up to consumer needs.
- Beautiful and simple appearance, humanized design for remote control storage, which can be placed in a storage bracket at the back of the unit body.
- Simple operation, LED digital display control panel, and high-end LCD remote control.
- A winding pillar and universal socket can protect the power cord better.
- 24-hour Timer function, unique on/off reminding music.
- 3-minute re-start delay protection to the compressor and other multiple protection functions.
- Unique exhaust hose and fasteners, convenient installation.
2. Identification of Parts

- Control panel
- Horizontal louver
- Remote control receiving window
- Top panel
- Front shell
- Universal wheels
- Handle
- Backshell
- Winding pillar
- Chassis
- Upper filter assembly
- Drain cover and stopper
- Lower filter assembly
- Remote control
- Round connector and exhaust hose
- The adapter of the exhaust hose
- Window kits
OPERATIONS AND SETTINGS
1. Control Panel
This section explains proper mobile air conditioner operation. 
2. Control Panel Operation
A. Power button: Press the power button, and the power indicator lights up in green; when the power is on, press the power button, and the power indicator light is off (or red).
B. Mode button: Touch this key to switch and select the unit working mode you want, all modes turn as COOL – DEHUM – FAN – HEAT, and the indicator will light up accordingly.
C. Fan button: Press this button to change the fan speed to High, Medium, or Low.
D. Up button: Press the up key to adjust the set temperature or timing up.
E. Down button: Press the down key to adjust the set temperature or timing up.
F. Timer button: Press the timer button to set the timing, query timing, and cancel the timing.
G. “Up” + “Down” button: Press this group of composite keys at the same time to switch the display temperature (Fahrenheit / Celsius).
H. “Timer” + “Up” button: Press this group of composite keys at the same time to select sleep mode.
I. “Timer” + “Fan” button: Press this group of composite buttons at the same time to turn the swing function on or off.
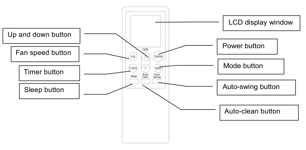
3. Remote Control Operation

- Power: Press this button to start the unit when it is energized or stop the unit when it is in operation.
- Mode: Press this button to select the operation mode.
- : Press this button to increase room temperature and timer setting.
- : Press this button to decrease room temperature and timer setting.
- Fan: Press this button to select fan speed in sequence: Low → Medium → High.
- Auto-Swing: Press this button to turn on or turn off the auto-swing function.
- Sleep: Press this button to select or cancel sleep mode (only effective under cooling operation or energy conversation modes).
- Timer: press this button to set AUTO-ON and AUTO-OFF times. Time can be adjusted between 0.5-24 hours. It jumps by 0.5-hour interval within 5 hours, and 1-hour interval over 5 hours, set time will flash 5 times on screen then confirm the setting.
Before using your remote, install the AAA batteries into a remote control.
1) Press and glide the battery cover on the back of the remote control, then you can remove the cover.
2) Insert two new alkaline AAA batteries into the battery compartment, being sure to note the proper polarity.
Reattach the battery cover, making sure the locking tab clicks into place.

Notes:
- Use alkaline batteries only. Do not use rechargeable batteries.
- When replacing batteries, always replace both batteries with new batteries, do not mix old and new batteries.
- If the air conditioner will not be used for an extended period of time, remove the batteries from the remote control.
4. Remote Control Storage
- Insert the remote controller into a built-in compartment on the left side of the unit, and push it gently for closure.
- Press the lower part of the built-in compartment gently to open it and take out the remote controller.
Note: In order to avoid losing the remote control, please put the remote control inside of the storage place when you do not use it.

WARNING
If the liquid from the batteries gets onto your skin or clothes, wash it well with clean water, do not use the remote control if the batteries have any leakage.
If you eat the liquid from the batteries, brush your teeth and see a doctor. The chemicals in batteries could cause burns or other health hazards.
HANDLING AND TRANSPORTATION
1. Handle and move the unit
1) Hold handles on side panels to move the unit in an upright position.
- Make the unit in the upright position whatever handling or moving it.
- Drain the water in the unit completely to prevent water leakage and wet the floor or carpet before handling or moving the unit.
- Take out the remote control from the storage area and keep it.

INSTALLATION & ADJUSTMENT
1. Installation
Notes:
- Keep this mobile air-conditioner in an upright position at least 2 hours before the first installation.
- This air-conditioner may be moved indoors conveniently; keep the unit in an upright position while moving it. The air-conditioner shall be placed a flat surface.
- Do not install or operate this air-conditioner in the bathroom or other wet environments.
- Installation of exhaust hose assembly and its adapter.
A. Take out the exhaust hose and its connector and adapter, to remove the plastic bag.
B. Extend one end of the exhaust hose, and screw the end without the slot of the round connector onto it in an anticlockwise direction at least 3 laps.
C. Extend another end of the exhaust hose, and screw the adapter onto it in an anticlockwise direction for at least 3 laps.
Note: Screw round connector and adapter into the right position, at least 3 laps, to keep the good connection of exhaust hose assembly. - Installation of window seal-plate
A. Make the window half open, put the seal plate into the window, either in a vertical or horizontal position.
B. Extend seal plate parts and adjust it to the length of the window, keep both ends to meet the window edge, fix it with screws then.
Note:
- Keep two ends of the window seal plate to meet the window edges well, to assure seal effect.
- Turn the screw in a good position.

- Installation of the unit
A. Move the unit with the exhaust hose assembly installed in front of the window and keep the unit at least 50cm away from the walls or other objects.
B. Install the rectangle end of the exhaust hose assembly into the corresponding rectangle hole in the window seal-plate assembly, fix it with screw and close the window.

Note:
- Slide the adapter downwards and assure the adapter is installed in a good position.
- Assure the slant panel direction matches the seal-plate direction.
- The exhaust hose cannot be bent or with flexure higher than 45°, in order to keep good ventilation of the exhaust hose.

Important notes:
The exhaust hose is 280mm-1500mm long and this length is determined based on the specification of the air-conditioner (s). Do not use a prolonged hose or replace it with other different hoses as this may affect the functions of the air-conditioner. The exhaust hose must be smooth or it may lead to air-conditioner overheating and damage.
DRAINAGE INSTRUCTION
1. Manual drainage:
- Once the unit shuts down upon water-full, turn off the unit and then unplug.
- Put the tray below the water outlet at the back of the unit.
- Screw off the drain cover, and unplug the water stopper for water to flow into the tray.
- Plug in the stopper and screw the drain cover tightly onto the water outlet after drainage.
Notes:
- Protect the drain cover and water stopper properly.
- Move the unit carefully to avoid leakage it is necessary.
- Tilt the unit slightly backward when draining.
- Block the drain hole as soon as possible before the tray is full if it cannot hold all water in the unit to prevent water leakage and wetting the floor or carpet.
- Water stopper and drain cover must be tightly installed, to avoid new condensate to wet the floor or carpet when the unit re-starts working.

2. Continuous drainage
- Screw off the drain cover & unplug the water stopper.
- Connect drain-hole with φ13mm drain hose, as deep as possible to avoid leakage.
- Pull the drain hose to the bathroom or outdoor.
Notes:
- A drain hose must be installed when there’s no water in the tray.
- It is suggested not to use continuous drainage when the unit is in COOL mode, to ensure enough water recycling in the unit to enhance the system cooling effects.
- Put the drain hose in an inaccessible place, not higher than the drainage hole, and keep the drain hose straight without any flexure.
- Keep the drain cover and its stopper properly when continuous drainage is adopted.
- Drainpipe needs to be purchased separately

MULTIPLE PROTECTION FUNCTIONS
- Anti-frozen protection function Under COOL mode, when the compressor continuously runs over 10 minutes, if tube temperature is ≦2℃/36℉ for 20 seconds, the anti-frozen protection function will be on, E4 will be shown on the LCD display, compressor and water wheel motor will stop working, but upper fan remains running; If tube temperature≧8℃/46℉, the unit will stop anti-frozen protection and recover to the original working condition. The compressor will re-start working with 3 minutes delay for protection.
- Water-full safety alarm and shut–off protection function When the water volume exceeds its alarm level in the chassis, warning sounds automatic and a water-full icon is lit on the LCD display, you need to drain the condensate and re-start the unit.(For more information about how to drain, refer to the “Drainage Instruction” please). If the unit is not shut down manually, the unit will recover to the original operating status automatically once the water is fully drained. Or connect the power to restart the unit again.
- Delay protection function of compressor This unit offers restart protection to the compressor. Except that the compressor may start immediately when the unit is energized the first time, there is a 3-minute delay in re-start protection after the compressor is shut down.
MAINTENANCE AND SERVICE
Note: Be sure to turn off the unit and pull out the plug before maintaining or send to the service center.
1. Surface cleaning
- Clean the unit surface with a wet soft cloth and do not use chemical solvents such as alcohol and gasoline to avoid any damage to unit.
- Clean the dirty air outlet or louvers with wet soft cloth and detergent.
- Any chemical solvent is prohibited to use for unit cleaning or put such things near the unit for a long time.
- Any thinner, alcohol-glazer or other similar solvents is prohibited for unit cleaning.
2. Filter cleaning
Clean the filter once every two weeks, or it would influence the unit function if the filter is clogged with dust.
1) How to clean filter
A. Grip the filter handle and pull it out gently incorrect direction.
B. Clean the dirty particles in the filter with cleaner if it is necessary.
C. Immerse and wash the filter gently into warm water (about 40℃) mixed with a neutral cleaner, and then rinse and dry them thoroughly in the shade.
Notes:
- Pull out the filter gently.
- Removal of the filter at the back panel is a priority than for the filter at the side panel, to avoid any twist or damage to filter.
- Do not squash the mesh.
- Do not hit the mesh with sharp objects or brushes.

3. Installation of the filter
Aim the end of the filter toward the slot then push filter gently into the slot.
Notes:
- Be sure to install the filter to the side panel and then for the filter to the back panel.
- Install the filter in the opposite direction of removal.
- Install the filter into place gently to avoid any damage to the filter.
4. End of Season Storage
- Screw off the drain cover and pull out the stopper to drain condensate water completely. (Note: the tilt angle of the unit must be≦30 ).
- Keep the unit running in fan mode for half-day to dry inside of the unit completely to prevent it from going moldy.
- Turn off the unit, pull out the plug then wrap the power cord around the wire-winding pillar, insert the plug into the universal fixing hole at the back panel of the unit, and install the water stopper and drain cover.
- Remove the heat exhaust hose assembly, clean it, and keep it properly.
Notes:
• Hold the exhaust hose assembly with both hands when removal.
• Push the fasteners aside on the exhaust air outlet using your thumbs, then pull out the exhaust hose assembly. - Pack the air-conditioner properly with a soft plastic bag and put it in a dry place with appropriate dust-proof measures, and keep the unit away from children.
- Take out the batteries from the remote control and keep them properly. Note: Assure the unit is stored in a dry place. All accessories of the unit shall be protected together properly.
TROUBLESHOOTING
Please check the unit and suggestions below before asking for professional service, but never dismantle or repair the unit by yourself, it may cause harm to you and your property.
If problems not listed in the table occur or recommended solutions do not work, please contact the professional service organization.
| Trouble | Cause | Remedy |
| The unit fails to start up | Power supply failure | Connect the unit to a live socket and turn it on. |
| Water-full and its icon lighting | Drain the water stored in the unit. | |
| Ambient temperature too low or low high | It is recommended to use this unit between 8-35°C | |
| The room temperature is lower than the set temperature in cooling mode or higher temperature in heating mode | Change the set temperature | |
| Bad cooling effects | There is direct sunlight | Close the window curtain |
| The doors and windows are open, the room is crowded or there are other heat sources | Close the door and window, remove other heat sources, and add new air-conditioners | |
| Dirty filter | Clean or replace the filter mesh | |
| Air inlet or air outlet clogged | Remove the obstruction | |
| High noise level | The unit is being placed on an uneven surface. | Put the unit in a flat and firm place (may reduce noise) |
| The compressor does not work | Initiation of overheat protection. | Wait until the temperature decrease, the unit will re-start automatically |
| The remote control does not work | Too long distance | Bring the remote control close to the air-conditioner and ensure airs at the signal receptor on the unit. |
| The remote control didn’t aim at the signal receptor on the unit. | ||
| The batteries have no electricity | Replace the batteries | |
| “El” code displays | Tube temperature sensor failure | Check the tube temperature sensor and related circuits |
| “E2” code displays | Room temperature sensor failure | Check the room temperature sensor and related circuits |
| “E4” code displays | Anti-freeze protection | Restore the functions automatically once anti-freeze protection is over. |
| FL Displays | The water tank in the chassis is full | Drain the condensate and re-start the unit |
1. Information on servicing
- Checks to the area
Prior to beginning work on systems containing flammable refrigerants, safety checks are necessary to ensure that the risk of ignition is minimized. For repair to the refrigerating system, the following precautions shall be complied with prior to conducting work on the system. - Work procedure Work shall be undertaken under a controlled procedure so as to minimize the risk of flammable gas or vapor being present while the work is being performed.
- General work area All maintenance staff and others working in the local area shall be instructed on the nature of work being carried out. Work in confined spaces shall be avoided. The area around the workspace shall be sectioned off. Ensure that the conditions within the area have been made safe by control of flammable material.
- Checking for presence of refrigerant The area shall be checked with an appropriate refrigerant detector prior to and during work, to ensure the technician is aware of potentially flammable atmospheres. Ensure that the leak detection equipment being used is suitable for use with flammable refrigerants, i.e. non-sparking, adequately sealed or intrinsically safe.
- Presence of fire extinguisher If any hot work is to be conducted on the refrigeration equipment or any associated parts, appropriate fire extinguishing equipment shall be available to hand. Have a dry powder or CO2 fire extinguisher adjacent to the charging area.
- No ignition sources No person carrying out work in relation to a refrigeration system that involves exposing any pipework that contains or has contained flammable refrigerant shall use any sources of ignition in such a manner that it may lead to the risk of fire or explosion. All possible ignition sources, including cigarette smoking, should be kept sufficiently far away from the site of installation, repairing, removal, and disposal, during which flammable refrigerant can possibly be released to the surrounding space. Prior to work taking place, the area around the equipment is to be surveyed to make sure that there are no flammable hazards or ignition risks. “No Smoking” signs shall be displayed.
- Ventilated area Ensure that the area is in the open or that it is adequately ventilated before breaking into the system or conducting any hot work. A degree of ventilation shall continue during the period that the work is carried out. The ventilation should safely disperse any released refrigerant and preferably expel it externally into the atmosphere.
- Checks to the refrigeration equipment Where electrical components are being changed, they shall be fit for the purpose and to the correct specification. At all times the manufacturer’s maintenance and service guidelines shall be followed. If in doubt consult the manufacturer’s technical department for assistance. The following checks shall be applied to installations using flammable refrigerants:
a. The charge size is in accordance with the room size within which the refrigerant-containing parts are installed.
b. The ventilation machinery and outlets are operating adequately and are not obstructed.
c. If an indirect refrigerating circuit is being used, the secondary circuit shall be checked for the presence of refrigerant.
d. Marking of the equipment continues to be visible and legible. Markings and signs that are illegible shall be corrected.
e. Refrigeration pipes or components are installed in a position where they are unlikely to be exposed to any substance which may corrode refrigerant containing components unless the components are constructed of materials that are inherently resistant to being corroded or are suitably protected against being so corroded. - Checks to electrical devices Repair and maintenance to electrical components shall include initial safety checks and component inspection procedures. If a fault exists that could compromise the safety, then no electrical supply shall be connected to the circuit until it is satisfactorily dealt with. If the fault cannot be corrected immediately but it is necessary to continue operation, an adequate temporary solution shall be used. This shall be reported to the owner of the equipment so all parties are advised. Initial safety checks shall include
a. That capacitors are discharged: this shall be done in a safe manner to avoid the possibility of sparking.
b. That there are no live electrical components and wiring are exposed while charging, recovering or purging the system.
c. That there is continuity of earth bonding.
2. Repairs to sealed components
- During repairs to sealed components, all electrical supplies shall be disconnected from the equipment being worked upon prior to any removal of sealed covers, etc. If it is absolutely necessary to have an electrical supply to equipment during servicing, then a permanently operating form of leak detection shall be located at the most critical point to warn of a potentially hazardous situation.
- Particular attention shall be paid to the following to ensure that by working on electrical components, the casing is not altered in such a way that the level of protection is affected. This shall include damage to cables, an excessive number of connections, terminals not made to original specification, damage to seals, incorrect fitting of glands, etc. Ensure that apparatus is mounted securely. Ensure that seals or sealing materials have not degraded such that they no longer serve the purpose of preventing the ingress of flammable atmospheres. Replacement parts shall be in accordance with the manufacturer’s specifications. NOTE: The use of silicon sealant may inhibit the effectiveness of some types of leak detection equipment. Intrinsically safe components do not have to be isolated prior to working on them.
3. Repair to intrinsically safe components
Do not apply any permanent inductive or capacitance loads to the circuit without ensuring that this will not exceed the permissible voltage and currently permitted for the equipment in use. Intrinsically safe components are the only types that can be worked on while living in the presence of a flammable atmosphere. The test apparatus shall be at the correct rating. Replace components only with parts specified by the manufacturer. Other parts may result in the ignition of refrigerant in the atmosphere from a leak.
4. Cabling
Check that cabling will not be subject to wear, corrosion, excessive pressure, vibration, sharp edges or any other adverse environmental effects. The check shall also take into account the effects of aging or continual vibration from sources such as compressors or fans.
5. Detection of flammable refrigerants
Under no circumstances shall potential sources of ignition be used in the searching for or detection of refrigerant leaks. A halide torch (or any other detector using a naked flame) shall not be used.
6. Leak detection methods
The following leak detection methods are deemed acceptable for systems containing flammable refrigerants.
Electronic leak detectors shall be used to detect flammable refrigerants, but the sensitivity may not be adequate or may need re-calibration. (Detection equipment shall be calibrated in a refrigerant-free area.) Ensure that the detector is not a potential source of ignition and is suitable for the refrigerant used. Leak detection equipment shall be set at a percentage of the LFL of the refrigerant and shall be calibrated to the refrigerant employed and the appropriate percentage of gas (25 % maximum) is confirmed.
Leak detection fluids are suitable for use with most refrigerants but the use of detergents containing chlorine shall be avoided as the chlorine may react with the refrigerant and corrode the copper pipe-work.
If a leak is suspected, all naked flames shall be removed/ extinguished.
If leakage of refrigerant is found which requires brazing, all of the refrigerants shall be recovered from the system, or isolated (by means of shut-off valves) in a part of the system remote from the leak. Oxygen-free nitrogen (OFN) shall then be purged through the system both before and during the brazing process.
7. Removal and evacuation
When breaking into the refrigerant circuit to make repairs – or for any other purpose – conventional procedures shall be used. However, it is important that best practice is followed since flammability is a consideration. The following procedure shall be adhered to:
- Remove refrigerant.
- Purge the circuit with inert gas.
- Evacuate.
- Purge again with inert gas.
- Open the circuit by cutting or brazing.
The refrigerant charge shall be recovered into the correct recovery cylinders. The system shall be “flushed” with OFN to render the unit safe. This process may need to be repeated several times. Compressed air or oxygen shall not be used for this task. Flushing shall be achieved by breaking the vacuum in the system with OFN and continuing to fill until the working pressure is achieved, then venting to the atmosphere, and finally pulling down to a vacuum. This process shall be repeated until no refrigerant is within the system. When the final OFN charge is used, the system shall be vented down to atmospheric pressure to enable work to take place. This operation is absolutely vital if brazing operations on the pipe-work are to take place. Ensure that the outlet for the vacuum pump is not close to any ignition sources and there is ventilation available.
8. Charging procedures
In addition to conventional charging procedures, the following requirements shall be followed.
- Ensure that contamination of different refrigerants does not occur when using charging equipment. Hoses or lines shall be as short as possible to minimize the amount of refrigerant contained in them.
- Cylinders shall be kept upright.
- Ensure that the refrigeration system is earthed prior to charging the system with refrigerant.
- Label the system when charging is complete (if not already).
- Extreme care shall be taken not to overfill the refrigeration system.
Prior to recharging the system, it shall be pressure tested with OFN. The system shall be leak tested on completion of charging prior to commissioning. A follow up leak test shall be carried out prior to leaving the site.
9. Decommissioning
Before carrying out this procedure, it is essential that the technician is completely familiar with the equipment and all its detail. It is recommended good practice that all refrigerants are recovered safely. Prior to the task being carried out, an oil and refrigerant sample shall be taken in case analysis is required prior to re-use of reclaimed refrigerant. It is essential that electrical power is available before the task is commenced.
- Become familiar with the equipment and its operation.
- Isolate system electrically.
- Before attempting the procedure ensure that:
a) Mechanical handling equipment is available, if required, for handling refrigerant cylinders.
b) All personal protective equipment is available and being used correctly.
c) The recovery process is supervised at all times by a competent person.
d) Recovery equipment and cylinders conform to the appropriate standards. - Pump down the refrigerant system, if possible.
- If a vacuum is not possible, make a manifold so that refrigerant can be removed from various parts of the system.
- Make sure that the cylinder is situated on the scales before recovery takes place.
- Start the recovery machine and operate in accordance with the manufacturer’s instructions.
- Do not overfill cylinders. (No more than 80 % volume liquid charge).
- Do not exceed the maximum working pressure of the cylinder, even temporarily.
- When the cylinders have been filled correctly and the process completed, make sure that the cylinders and the equipment are removed from the site promptly and all isolation valves on the equipment are closed off.
- Recovered refrigerant shall not be charged into another refrigeration system unless it has been cleaned and checked.
10. Labelling
Equipment shall be labeled stating that it has been de-commissioned and emptied of refrigerant. The label shall be dated and signed. Ensure that there are labels on the equipment stating the equipment contains flammable refrigerant.
11. Recovery
When removing refrigerants from a system, either for servicing or decommissioning, it is recommended good practice that all refrigerants are removed safely. When transferring refrigerant into cylinders, ensure that only appropriate refrigerant recovery cylinders are employed. Ensure that the correct number of cylinders for holding the total system charge is available. All cylinders to be used are designated for the recovered refrigerant and labeled for that refrigerant (i.e. special cylinders for the recovery of refrigerant). Cylinders shall be complete with a pressure relief valve and associated shut-off valves in good working order. Empty recovery cylinders are evacuated and, if possible, cooled before recovery occurs. The recovery equipment shall be in good working order with a set of instructions concerning the equipment that is at hand and shall be suitable for the recovery of flammable refrigerants. In addition, a set of calibrated weighing scales shall be available and in good working order. Hoses shall be complete with leak-free disconnect couplings and in good condition. Before using the recovery machine, check that it is in satisfactory working order, has been properly maintained, and that any associated electrical components are sealed to prevent ignition in the event of a refrigerant release. Consult the manufacturer if in doubt. The recovered refrigerant shall be returned to the refrigerant supplier in the correct recovery cylinder, and the relevant Waste Transfer Note arranged. Do not mix refrigerants in recovery units and especially not in cylinders.
If compressors or compressor oils are to be removed, ensure that they have been evacuated to an acceptable level to make certain that flammable refrigerant does not remain within the lubricant. The evacuation process shall be carried out prior to returning the compressor to the suppliers. Only electric heating to the compressor body shall be employed to accelerate this process. When oil is drained from a system, it shall be carried out safely.
Appendix
Schematic diagram of the air-conditioner

For specific technical parameters of the model, refer to rating label on the product.
ENVIRONMENT
CAUTION:
Do not dispose of this product as it has with other household products. There is a separation of this waste product into communities, you will need to inform your local authorities about the places where you can return this product. In fact, electrical and electronic products contain hazardous substances that have harmful effects on the environment or human health and should be recycled. The symbol here indicates that electrical and electronic equipment should be chosen carefully, a wheeled waste container is marked with a cross.
Adeva SAS / H.Koenig Europe – 8 rue Marc Seguin, 77290 Mitry-Mory, France
www.hkoenig.com – https://en.hkoenig.com – Tél: +33 1 64 67 00 05 ![]()
A. Take out the exhaust hose and its connector and adapter, to remove the plastic bag.
B. Install the rectangle end of the exhaust hose assembly into the corresponding rectangle hole in the window seal-plate assembly, fix it with screw and close the window.


















