
Starlit Dance Floor
User Manual
StarLit Dance Floor
Please read these instructions carefully, it includes important information about this installation and usage of this product.
WARNING FOR YOUR OWN SAFETY, PLEASE READ THIS USER MANUAL CAREFULLY BEFORE YOUR INITIAL START-UP!
- Before your initial start-up, please make sure that there is no damage caused during transportation.
- Should there be any damage, consult your dealer and do not use the equipment.
- To maintain the equipment in good working condition and to ensure safe operation, it is necessary for the user to follow the safety instructions and warning notes written in this manual.
- Please note that damages caused by user modifications to this equipment are not subject to a warranty.
CAUTION! KEEP THIS EQUIPMENT AWAY FROM RAIN, MOISTURE, AND LIQUIDS
CAUTION! TAKE CARE USING THIS EQUIPMENT! HIGH VOLTAGE RISK OF ELECTRIC SHOCK!!
OPERATING DETERMINATIONS
If this equipment is operated in any other way, than those described in this manual, the product may suffer damage and the warranty becomes void. Incorrect operation may lead to danger e.g: short-circuit, burns and electric shocks, etc. Do not endanger your own safety and the safety of others!
Incorrect installation or use can cause serious damage to people and/or property.
The dancefloor panels are designed to be installed on dry, stable surfaces. All installations must feature complete edge trim systems to reduce the risk of any trip hazards. All components including locking mechanisms and electrical contacts should be carefully inspected each time before laying a starlit floor system. DO NOT assemble and lay a floor system if any components are worn or damaged. The dancefloor system utilizes custom edge connectors to transmit a safe, low voltage power feed from panel to panel.
Product overview & technical specifications
The starlit dance floors use crisp cool white LEDs into high gloss, interlocking panels. Constructed using a rugged aluminum chassis, each panel is finished with a glossy, acrylic upper panel giving a sprung feel while remaining fully supported. Each panel features 16 (61 x 61 cm) or 32 (121 x 61 cm) SMD white. LEDs with modes including full on and adjustable-rate flash/twinkle. Ideal for use in venues for events such as weddings, parties and corporate evenings. Scalable in size, the system uses a combination of 121 x 61 cm and 61 x 61 cm panels finished with sloped aluminum edge trim.
- High gloss, interlocking panels
- Cool white or RGB LEDs
- Aluminum edge trim
- High quality, Meanwell SMPSU
- RF remote control with static and adjustable-rate flash and twinkle

Operating instructions
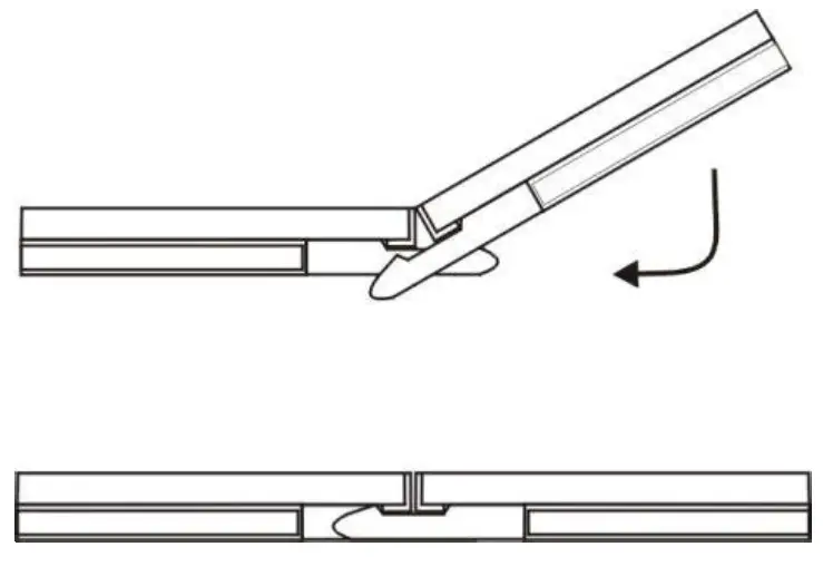
Panel locking mechanism: The panels are locking together using a special locking mechanism. Lay the first panel flat on the floor in the orientation shown below. Hold the second panel at an angle as shown in the diagram and push towards the first panel allowing the aluminum lugs to locate. When the two panels are fully touching along their edges, lower the panel to the floor. If the panels are not square, or if the edges are not fully touching the panel being fitted will not lower. DO NOT FORCE THE PANELS DOWN! Simply adjust the alignment until the panel will lower to the floor.
Detailed laying instructions:
Row 1:
Start at the top left-hand corner position by placing a full panel (61 x 121 cm) with the 2 end lugs pointing to the right. Please ensure you leave space to add the edge trim between the dancefloor and any immovable objects such as walls or staging.
Lay a second panel with the 2 end lugs also pointing to the right.
Continue to lay the row with as many full panels as required for the size of floor required, add onto the end of this row a three-sided half panel if required. Take great care to ensure the panels are aligned flush along the length of the row to ensure the edging will be straight. After completing the first row of panels, fit the edging to this row before continuing to lay the second row.
The first row of edging should include the appropriate number of 121 cm edge strips with power connection depending on the floor size (see component cross reference chart on page 3). When selecting the power supply, please consult the chart included in this user guide. Up to (and including) 7 x 7 cm floor systems require a 500W power supply. Systems 8 x 8 m up to 9 x 9 m use a 750W power supply. Dancefloor systems over 10 x 10 m require a 1000W power supply.
CAUTION: Care should be taken to ensure the power connection between each floor panel is correctly aligned. Failure to do so may result in an open or short circuit fault condition.
Row 2: Begin row 2 at the left-hand side with a four-sided half panel (2ft x 2ft) and the 2 end lugs pointing left. Continue with full panels ensuring all panels are laid with the 2 end lugs pointing to the right. Complete the row with another half panel. To prevent slippage or movement on smooth surfaces, a second person may be required to help secure the first row of panels while the second row is laid.
Edging: Start to lay the edging when row one is completed, the edging then acts as a straight edge and ensures each row is square and flush as it is laid.
Fit the edging by pushing the lugs underneath the panels at an angle, and then fit them lower to the floor, in the same way as laying the panels. DO NOT FORCE THE EDGING DOWN! Half-length and full-length edges are supplied so that the panel joints and edging joints never coincide, i.e. they follow the same brickwork type pattern.
Row 3:
Lay with full panels the same as row 1.
Fitting the corner:
Corners are always positioned on the side of the floor as shown and never on the top or bottom.
Two corner pieces are always on the same edge and always positioned on the same side.
Remote Control (White Starlit Dancefloor):
Connect the receiver unit to a suitable power source and power on. Ensure the handheld remote is fitted with a good quality battery (A23 12V Alkaline). Press the correct button as per the list below to select the required mode of operation.
Button A Full On
Button B Blackout
Button C Twinkle speed increase
Button D Twinkle speed decrease

















