insportline 16385 Stepmill ProfiStair

OVERVIEW DRAWING

SAFETY PRECAUTIONS
- Read this manual carefully before first use and retain it for future reference.
- Use the product only according to this manual and for its intended purpose. Do not modify the product in any way.
- WARNING! Before maintenance, always unplug the device from electrical outlet to prevent burning or electrocuting yourself.
- While the product is turned on, pay attention to its operating status to avoid an injury. If the machine is idle, it is recommended to turn off the power and unplug the power cord.
- Keep the stepmill away from children and pets. Never leave them unattended near the device.
- Never use the product if parts of it are worn or damaged. Regularly check all the screws, nuts and other connecting parts to make sure they are not loose. Damaged or worn parts should be replaced immediately.
- Never use the stepmill if the plug or power cord are damaged. If the power cord doesn’t work properly or if it has been exposed to water, stop using it at once and have it repaired or replaced by a qualified technician or the customer service.
- Never use the power cord or other cables to move the device.
- Make sure the power cord never comes into contact with a heated surface. Keep it in a sufficient distance from heated surfaces or objects.
- If the ventilation ducts are clogged with hair or dust, make sure you clean them before operating the stepmill.
- Never insert anything into the open spaces found on the device.
- This product cannot be used outdoors.
- Do not use the product in a room without proper ventilation or with low levels of oxygen.
- Always unplug the power cord after shutting the stepmill off.
- Make sure the device is plugged into a properly grounded socket.
- This product is not intended for people with physical or mental disabilities and unexperienced users (including children), unless they are under qualified supervision.
- Exercise according to the given instructions. Improper exercising may result in an injury. Make sure not to exceed your limits.
- For the assembly, prepare a wide area with a flat and clean surface.
- The stepmill can only be placed on a flat, clean and solid surface. Keep a safety clearance of 2 x 1 m behind the device and at least 0.6 m around the rest.
- You should provide regular maintenance and check the stepmill for damage.
- No adjustable part should protrude and limit the user’s movements.
- If the first stair is too high for you, use the foot supports to get on.
- Always hold on to the handlebars while getting on/off the device.
- Wear appropriate sports clothes and shoes. Avoid loose clothes so they don’t get stuck in the moving parts of the stepmill.
- Make sure you attach the safety clip to your clothes. Step onto the second stair while holding on to the handle bars and use this as a standby position. Don’t start exercising before you stand on the stair.
- Always hold the handlebar as a support.
- Press the STOP key to finish exercising and wait until the stairs stop completely. Only then step off the stepmill.
- Step area: 526 x 250 mm
- Weight limit: 180 kg
- It meets the standards: EN957-1, EN957-8
- Category: S (according to EN957 standard) suitable for commercial use
- WARNING! The heart rate frequency monitoring may not be completely accurate. Overexertion during training can lead to a serious injury or even death. If you start to feel faint, stop the exercise immediately.

POWER INPUT REQUIREMENTS
This product requires 220-240 V power and a well-grounded socket, as shown in the picture below. Make sure the power socket was installed by a qualified technician. Cables should be transported according to the corresponding laws of your country. High pressure cables, low pressure cables und underground cables should be transported separately and cannot be connected or tangled with other cables. Improper power cord connection can result in the risk of an electric shock. Check with a qualified electrician or serviceman if you have any doubts that the product is properly grounded. Never modify the provided power cord. If it does not fit the outlet, have a proper one installed by a professional electrician.
LEVELLING
If the surface is not even and not all the support legs are fixed, the stepmill will wobble when you start to use it. This can cause vibrations or make the device lean tilt.
How to level the stepmill:
- Loosen the A nut by turning in counter-clockwise.
- Adjust the foot pad B to the desirable height.
- Lock the A nut tightly in a clockwise direction.
- Use the same method to adjust all the foot pads.

POWER SWITCH
The power switch is located on the back of the stepmill (I=ON, O=OFF).
SAFETY KEY
The stepmill is equipped with an emergency stop system, including a safety key. Below are instructions on how to use the safety key in case of an emergency.
![]() |
|
![]() |
|
PARTS LIST
![]() | A) Main frame set |
![]() | B) Console set |
![]() | C) Console back cover |
![]() | D) Accessory tray back cover |
![]() | E) Accessory tray set |
![]() | F) Support handlebar set |
![]() | G) Front upright tube set |
![]() | H) Rear upright tube set |
![]() | I) Support handlebar covers |
![]() | J) Rear upright tube covers |
![]() | K) Foot supports |
![]() | L) Waterproof covers |
![]() | N) Underside cover of the accessory tray |

| STEP | ITEM | DESCRIPTION | QTY |
| STEP 1 | K03 | Hexagon socket head steel screw M10xP1.5×70 | 4 |
| K04 | Flat washer ø10xø20×1.5t | 4 | |
| STEP 2 | K03 | Hexagon socket head steel screw M10xP1.5×70 | 4 |
| K04 | Flat washer ø10xø20×1.5t | 4 | |
| STEP 3 | K15 | Umbrella head steel screw M8xP1.25×15 with nylon blue | 4 |
| K16 | Flat washer ø8xø20×1.5t | 4 | |
| STEP 4 | K05 | Hexagon socket head steel screw M8xP1.25×30 | 4 |
| K08 | Hexagon socket head steel screw M8xP1.25×45 | 4 | |
| K09 | Camber washer ø8.5xø16×1.0t-R19 | 4 | |
| STEP 5 | K10 | Umbrella head steel screw M8xP1.25×20 | 2 |
| K11 | Console fix washer NT-3409 | 2 | |
| K12 | Spring washer M8 | 2 | |
| K13 | Umbrella head cross self-tapping screw ø4×16 | 2 | |
| K14 | Umbrella head cross screw (thread cutting) M4xP0.7×15 | 2 | |
| K20 | Umbrella head cross self-tapping screw ø4×20 | 3 | |
| STEP 6 | K06 | Umbrella head cross self-tapping screw (stainless) ø4×16 | 10 |
| K07 | Umbrella cross screw (stainless, black) M4xP0.7×15 | 8 | |
| STEP 7 (Tools) | K01 | Hexagon socket head steel screw M10xP1.5×15 | 4 |
| K02 | Flat washer ø10xø30×1.5t | 4 | |
| K21 | Buckle end cap | 8 | |
| K17 | L-shaped Allen wrench + Cross driver 5x70x70 mm | 1 | |
| K18 | L-shaped Allen wrench 6x40x120 mm | 1 | |
| K19 | L-shaped Allen wrench 8x55x110 mm | 1 |
ASSEMBLY STEPS
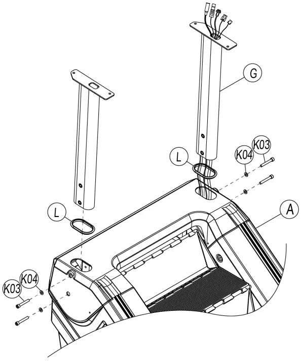
STEP 1 – Main frame and the front upright tube set
- First install the waterproof covers (L) onto both front upright tubes (G).
- Then pull the main cable out of the upright opening on the right side of the Main frame (A) and pull the cable up through the right side Upright tube (G).
- Then attach the upright tube set (G) to the main frame set (A) using screws (K03) and flat washers (K04).
- Do not tighten the screws too much yet.

STEP 2 – Main frame and the rear upright tube set
- Attach the rear upright tube set (H) to the main frame (A) using screws (K03) and flat washers (K04).
- Do not tighten the screws too much yet.

STEP 3 – Accessory tray and the front upright tube set
- Attach the accessory tray set (E) to the front upright tube set (G) with screws (K15) and flat washers (K16).
- Do not tighten the screws too much yet.
- Note:
- After each successful cable wire connection, you should hear a click.
- For better safety during the assembly, request the help of at least one other person.

STEP 4 – Accessory tray and the support handlebar set
- Look at the picture below. Attach the support handlebar (F) to the accessory tray set (E) with screws (K08) and camber washers (K09), but don’t tighten them too much.
- Use screws (K05) to fix the support handlebars to the rear upright tube set (pay attention the left/right side difference).
- Screw the bolts well and make sure they don’t wobble.
- Now you can tighten all the bolts and screws firmly.

STEP 5 – Main frame and the console set
- Attach the console set (B) to the accessory tray set (E) and connect the control cables on the accessory tray (E) to the console cables. While connecting the cables, you will need one person to hold the console set so that it doesn’t fall down.
- Use screws (K10) and washers (K11 and K12) to secure the console set to the accessory trayset (E).
- Use screws (K13) to attach the console back cover (C) to the console.
- Use screws (K14) to attach the accessory tray back cover (D) to the accessory tray. Make sure you don’t damage or clip the cables while doing it.
- After the above is finished, use screws (K20) and attach the underside cover of the accessory tray (N) to the accessory tray set as shown in the picture.
NOTES:
- After each successful cable wire connection, you should hear a click.
- For better safety during the assembly, request the help of at least one other person.

| X01 | Upper connection bus cable |
| X02 | Upper control cable |
| X03 | Console upper power cable |
| X04 | Upper optical sensor cable |
| X05 | Heart rate connection cable |
| X06 | Middle control cable |
| X07 | Console middle power cable |
| X08 | Middle optical sensor cable |
| X09 | Middle TV cable (optional only, depending on product type) |
| X10 | Middle internet cable (optional only, depending on product type) |
| X11 | Adobe connection wire |
STEP 6 – Support handlebar assembly
- Look at the picture below. Use screws (K06) to secure the handlebar cover set (I) on the handlebar.
- Use screws (K06 and K07) to secure the upright tube cover set (J) on the handlebar.
- Press the waterproof cover onto the main frame set.

STEP 7 – Foot support assembly
- Use screws (K01) and flat washers (K02) to attach the foot supports (K) to the main frame.
- Finally install the buckle end cap (K21) into the main frame orderly.

STEP 8 – Level the stepmill
- After finding the ideal position, turn the foot pads until they are lower than the transport wheels.

CONSOLE OPERATION INSTRUCTIONS
This stepmill features an easy-to-operate console for users of all ages. You can input your personal data to set your exercise goals more accurately.
| A | Workout profile window |
|
| B | Data |
|
| C1 | Increase inclination level |
|
| C2 | Decrease inclination level |
|
| D | Enter |
|
| E | Mode selection |
|
| G1 | Heart rate display |
|
| G2 | Heart rate range instructions |
|
| H1 | Quick start |
|
| H2 | Stop |
|
| J | SPM quick key |
|
| N1 | Fan start/stop key |
|
| O |
|
|
HEART RATE EXERCISING
Keep your heart rate stable while exercising. Follow the instructions below for best results.
Set the target heart rate range and start exercising. Find your age and corresponding heart rate in the table below. You can exercise in three heart rate modes:
- Hill heart rate
- Interval heart rate
- Intensive heart rate
Each function has its own advantages. Refer to the corresponding chapter for details.
WARNING! Before you start exercising, you should consult your physician. Improper exercising can result in an injury or other health problems. You can ask a professional trainer for advice.
| High intensity: Interval Exercise Lower intensity: Burning Fats Select target heart rate as % of the max. value Available heart rate range: 55% – 90% | AGE | 65% | 80% |
| 10 | 136 | 168 | |
| 20 | 130 | 160 | |
| 30 | 123 | 152 | |
| 40 | 117 | 144 | |
| 50 | 110 | 136 | |
| 60 | 104 | 128 | |
| 70 | 97 | 120 | |
| 80 | 91 | 112 | |
| 90 | 84 | 104 | |
| 100 | 78 | 96 |
HEART RATE MONITORING SYSTEM
HAND PULSE SENSOR
Put your hands over the steel heart rate sensors at the front of the handlebar to monitor your heart rate while exercising. Each handlebar is equipped with two sensors. You should grip all four sensors while exercising so that the stepmill records your heart rate accurately. The monitored heart rate will be displayed after 20-30 seconds of holding the handlebars. If you exercise faster than 60 SPM, it is recommended to use a chest strap instead of the handlebar sensor.
CHEST STRAP
NOTE: The chest strap is not included.
This heart rate monitoring system requires a chest strap attached to your person. The signal will be transmitted to the console wirelessly through Bluetooth. The chest strap is not included. Attach the strap to your body as shown below.
This picture illustrates the correct position of the chest strap’s central electrodes. The electrodes are placed in the grooving on the inside of the strap. These electrodes must be moist to transmit the signal accurately. Fasten the strap under your pectoral muscles and adjust its size so that it does not hinder your breathing. There should be a direct contact between the electrodes and your body. You can wear a thin damp shirt for the same result. To moisten the electrodes, pull the chest strap from the center and moisten the electrodes directly. While setting the heart rate exercising range, set the stepmill start speed. If the system doesn’t receive any heart rate signal from the strap, maximum speed will be 60 SPM. If the device receives heart rate signal, maximum speed will be 140 SPM.
EXERCISE PROGRAMS
There are the following preset programs:
QUICK START
When the stepmill is turned on, press QUICK START to begin exercising right away. To calculate the correct number of calories burned, input your weight and choose a suitable level. Press LEVEL+ and LEVEL- to adjust the speed.
GOAL
- By pressing MODE in the standby mode, select GOAL and then press ENTER to confirm.
- Press LEVEL+ or LEVEL- to choose what goal to set: Time (1), Distance (2) or Calories (3). Confirm your selection by pressing ENTER.
- Set the goal (target value) and input additional data necessary to your training, such as your age or weight. Always press ENTER to confirm.
- Press QUICK START to start exercising.
TIME GOAL
Set the target time of your training. When the target time is achieved, the program ends automatically.
Settings – Default time: 20 minutes / Setting range: 10-95 minutes / Unit: minutes
DISTANCE GOAL
This program is designed to test your endurance. If you achieve the target distance within the corresponding time limit, the program will automatically end. Settings – Default distance: 5 km / Setting range: 1-99 km / Unit: km
CALORIES GOAL
This program is designed to help you lose weight and burn calories. If you burn your target number of calories within the set time limit, the program will automatically end. Settings – Default number of calories: 200 cal / Setting range: 40-600 cal / Unit: cal
HRC
Hill heart rate control – The preset target is 80% of the maximum heart rate. The target heart rate is calculated from input user data. The height of the column in the graph illustrates maximum heart rate percentage target. There are seven target heart rate values in total, with three gradual goals: 70%, 75%, 80%. The rest of the program maintains 65% target heart rate as the minimum limit (see the picture below). After three minutes of standard warm-up exercising, the resistance will increase to bring the heart rate to 70%. The program will allow you to maintain the heart rate for one minute and then decrease your speed to bring it back to 65%. Each heart rate target will be maintained for one minute. At the end of the exercise, there will be a cool-down phase. If the heart rate rises above the set maximum for more than 45 seconds, the stepmill will pause. If the heart rate doesn’t rise to the target value, this machine will increase its speed. If the first target cannot be achieved, the program moves on to the next one. Make sure you wear the chest strap properly or hold the heart rate sensors tightly while exercising so that the program can run smoothly.
Take a 40-year old user as an example. The target heart rate is 80% of your maximum heart rate.
You’ll find out your maximum heart rate by subtracting your age from 220: (220-40) x 80% = 144
Interval heart rate control – The interval target heart rate program resembles the previous heart rate control program with few differences. The heart rate target is 80% of the maximum heart rate. The target heart rate is calculated from the user’s input personal data. Each heart rate interval is maintained for 3 minutes. Make sure you wear the chest strap properly or hold the heart rate sensors tightly while exercising so that the program can run smoothly.
Intensive heart rate – Intended for experienced users who want to challenge themselves. While exercising, the program quickly alternates between two heart rate targets (65% and 85%), similarly to racing short distance. Make sure you wear the chest strap properly or hold the heart rate sensors tightly while exercising so that the program can run smoothly.
NOTE: It is recommended to wear a chest strap for the target heart rate programs.
Set the program to determine the target heart rate and choose the speed-up and slow-down speed.
After a three-minute warm-up, the stepmill increases the speed to your set speed-up limit to help you achieve the 85% target heart rate. The speed will hold steady for a stabilizing period and then the system will slow down to return your heart rate to the 65%. After another stabilizing period, the system will speed up again. The speed will keep changing this way. If the first heart rate target is not reached, the program moves on to the next.
Take a 40-year old user as an example. The target heart rate is 85% of your maximum heart rate.
You’ll find out your maximum heart rate by subtracting your age from 220: (220-40) x 85% = 153
PROGRAMS
MANUAL
Manual mode is a continuous exercise program where the user can set the speed during the workout as needed. The pulse panel displays heart rate, calculated by the user’s age.
RANDOM
An interval training with continuously changing speed, displayed on the console.
HILL
This program helps you improve your cardio-respiratory system and is divided into four stages. Your progress is displayed on the console, where each stage represents different exercise intensity. The heart rate test shall first choose the transitional stages for two areas to check the heart rate changes in the transitional stages. The two triangles on screen denote the heart rate check points. This program is the exercise program to combine cardio training, burning fats and regional heart rate training. The program is not intended for monitoring your heart rate. Because of that, the current heart rate is not displayed on the console. Make sure you wear the chest strap properly or hold the heart rate sensors tightly while exercising so that the program can run smoothly.
| Warm-Up | The intensity of the exercise gradually rises as the stepmill speeds up to make your heart rate reach the minimum target. It quickens your breathing and stimulates blood circulation. |
| Plateau | Your goal at this stage is to maintain the heart rate at the minimum level. |
| Interval Training | The exercise intensity will rise in regular intervals and then let you rest at the minimum target heart rate for short periods of time. When you reach the highest intensity level, your heart rate will be checked for the second. |
| Cool-Down | This stage allows you to cool down after exercising. The duration and intensity level of this stage depends on the time of your previous exercise, as well as speed, resistance level and target heart rate. |
Each column represents an interval and the whole program consists of 20 intervals in total. The operation period of the program determines the program every 95 minutes. The default time setting is 10 minutes, but you can adjust the range from 10 to 95 minutes. Unit: 5 mins.
| 10-19 minutes | The total time of the program is 10 minutes. The interval time is set to be 30 seconds. If the program time is 15 mins, the interval time is set to be 45 seconds. |
|
20-95 minutes | The default continued time is 60 seconds for each default interval. If the user wants to extend the time interval – more than 60 seconds. Every interval time is equal to the user fitness time, divided by 20 sections. (For example: set time: 80 mins., each interval time: 4 mins.). |

SPEED INTERVAL
When setting the PROGRAM values, you can preset the minimum and maximum speed. Once you confirm the setting, you will not be able to change it during your workout. After starting the program, use the LEVEL+ and LEVEL- keys to change the exercise speed in the rangeof those limits.
Press the MODE key to change the default jogging and running speed. Once it has been set, you will not be allowed to change the value as needed during exercising. Press the LEVEL+ and LEVEL- keys to adjust the other speed value. Then press MODE to shift from jogging to running speed. The speed will be adjusted to the pre-set value.
FAT BURN
This low intensity exercise program is intended to burn the fat while maintaining the 65% target heart rate. It is necessary to wear the chest strap or to grasp the heart rate sensors in the handlebars. If the heart rate is not received well, a heart symbol will be displayed to warn you that the heart rate value comes from the hand heart rate sensors rather than the chest strap. The console will display the heart rate and adjust the speed automatically to maintain the target heart rate value. This program is suitable for warm-up or low-intensity exercising. It will not work for hard workouts.
CARDIO
Cardio training is the best way to improve your cardiovascular system through exercising. For this program to work, you need to wear the chest strap or grasp the handlebar heart rate sensors while exercising. The program automatically adjusts the speed level according to your current heart rate to keep it at target value.
NOTE: The target heart rate for FAT BURNING training program has been calculated to maintain 65% of the max. heart rate and the CARDIO. For the HEART RATE HILL, it is calculated on the base of the 80% max. HR.
The above programs require you to input your weight. Use SPEED+ and SPEED- to set the weight value.
TRAINING
Fitness training 20
Fitness training 40
This device features the 20-floor and 40-floor self-challenge program. By setting a different level, it would create a complied exercise diagram. The level represents the workout difficulty. After reaching the preset value, the program stops automatically.
STEPMILL PROGRAM OPERATION DIAGRAM
When setting the HILL, RANDOM, TRAINING 20 and TRAINING 40 programs, you can choose from 10 levels. When using the QUICK START, there will be 20 levels as shown below.
NOTE: 1 loop means 1 floor
The column on the display will illustrate the selected level. You can use the SPEED+ and SPEEDkeys to choose between levels.
INTENSITY-SPEED REFERENCE | |||
| LEVEL | SPM | LEVEL | SPM |
| 1 | 20 | 11 | 90 |
| 2 | 27 | 12 | 97 |
| 3 | 34 | 13 | 103 |
| 4 | 41 | 14 | 109 |
| 5 | 48 | 15 | 115 |
| 6 | 55 | 16 | 121 |
| 7 | 62 | 17 | 127 |
| 8 | 69 | 18 | 132 |
| 9 | 76 | 19 | 137 |
| 10 | 83 | 20 | 140 |
TROUBLE SHOOTING
| Error code | Possible reason | Solution | Note |
|
Console without power | Power switch is OFF | Turn the power switch ON. | |
| The power switch light is off. | Check the socket power output. | Make sure the voltage is 110/220V. | |
| Inverter didn’t output 12V (DC) power | Replace the inverter. | ||
| Control cables damaged. are | Replace the control cables. | ||
| Main board is damaged. | Replace the main board. | ||
| E01 | Low voltage on the power inverter. | Replace filter or turn it. | Make sure the voltage is 110/220V. |
| E02 | The power inverter heat sensor works doesn’t work properly. | Replace the inverter. | |
| E04 | The inverter overloaded. output | Apply lubrication oilor replace the inverter. | |
| E06 | The inverter overloaded. voltage | Replace the inverter circuit breaker. | |
| E08 | The inverter is not properly grounded. | Replace the inverter. | |
| E09 | The inverter overheating. is | Apply lubrication oil, wipe off the dust or replace the inverter. | |
| E10 | Inverter sense overloaded motor | Replace the motor or the inverter. | |
| E11 | The inverter overloaded. | Apply lubrication oil or replace the inverter. | |
| E12 | Inverter system overload error | Replace the inverter. | |
| E13 | Inverter sense motor cable disconnected | Replace the motor or the inverter. | |
| E14 | The inverter circuit breaker is defective. | Replace the inverter circuit breaker. | |
| E33 | The inverter indication light is defective. | Replace the inverter. | |
| E34 | The inverter indication light doesn’t work. | Replace the inverter. | |
| E35 | Low voltage warning for | Replace the filter or the | Make sure the |
| the inverter. | inverter. | voltage is 110/220V. | |
| E37 | Inverter emergency shut down. | Replace the inverter, the control cables or the main board of the console. | |
| E41 | Overheating warning for the inverter. | Apply lubrication oil, clean off the dust or replace the inverter. | |
| E77 | Inverter communication error | Replace the inverter, control cables or the main board of the console. | |
| E78 | Console membrane key error | Replace the membrane key, the key transport board or the main board of the console. |
SWITCHING BETWEEN METRIC AND IMPERIAL UNITS
| 1) The standby mode | ![]() |
| 2) Press STOP + ENTER for approx. 10 seconds to enter the factory settings. | ![]() |
| 3) Press ENTER and hold for 2 seconds to enter the unit selection page. | ![]() |
| 4) Use SPEED+ and SPEED- to switch METRIC or IMPERIAL units. | ![]() |
| 5) Press ENTER 4 times to go back to the standby page and to save the setting. | ![]() |
TERMS AND CONDITIONS OF WARRANTY, WARRANTY CLAIMS
General Conditions of Warranty and Definition of Terms
All Warranty Conditions stated hereunder determine Warranty Coverage and Warranty Claim Procedure. Conditions of Warranty and Warranty Claims are governed by Act No. 40/1964 Coll. Civil Code, Act No. 513/1991 Coll., Commercial Code, and Act No. 634/1992 Coll., Consumer Protection Act, as amended, also in cases that are not specified by these Warranty rules.
The seller is SEVEN SPORT s.r.o. with its registered office in Borivojova Street 35/878, Prague 13000, Company Registration Number: 26847264, registered in the Trade Register at Regional Court in Prague, Section C, Insert No. 116888.
According to valid legal regulations it depends whether the Buyer is the End Customer or not.
“The Buyer who is the End Customer” or simply the “End Customer” is thelegal entity that does not conclude and execute the Contract in order to run or promote his own trade or business activities.
“The Buyer who is not the End Customer” is a Businessman that buys Goods or uses services for the purpose of using the Goods or services for his own business activities.
The Buyer conforms to the General Purchase Agreement and business conditions to the extent specified in the Commercial Code.
These Conditions of Warranty and Warranty Claims are an integral part of every Purchase Agreement made between the Seller and the Buyer. All
Warranty Conditions are valid and binding, unless otherwise specified in the Purchase Agreement, in the Amendment to this Contract or in another written agreement.
Warranty Conditions
Warranty Period
The Seller provides the Buyer a 24 months Warranty for Goods Quality, unless otherwise specified in the Certificate of Warranty, Invoice, Bill of Delivery or other documents related to the Goods. The legal warranty period provided to the Consumer is not affected.
By the Warranty for Goods Quality, the Seller guarantees that the delivered Goods shall be, for a certain period of time, suitable for regular or contracted use, and that the Goods shall maintain its regular or contracted features.
The Warranty does not cover defects resulting from (if applicable):
- User’s fault, i.e. product damage caused by unqualified repair work, improper assembly, insufficient insertion of seat post into frame, insufficient tightening of pedals and cranks
- Improper maintenance
- Mechanical damages
- Regular use (e.g. wearing out of rubber and plastic parts, moving mechanisms, joints etc.)
- Unavoidable event, natural disaster
- Adjustments made by unqualified person
- Improper maintenance, improper placement, damages caused by low or high temperature, water, inappropriate pressure, shocks, intentional changes in design or construction etc.
Warranty Claim Procedure
The Buyer is obliged to check the Goods delivered by the Seller immediately after taking the responsibility for the Goods and its damages, i.e. immediately after its delivery. The Buyer must check the Goods so that he discovers all the defects that can be discovered by such check.
When making a Warranty Claim the Buyer is obliged, on request of the Seller, to prove the purchase and validity of the claim by the Invoice or Bill of Delivery that includes the product’s serial number, or eventually by the documents without the serial number. If the Buyer does not prove the validity of the Warranty Claim by these documents, the Seller has the right to reject the Warranty Claim.
If the Buyer gives notice of a defect that is not covered by the Warranty (e.g. in the case that the Warranty Conditions were not fulfilled or in the case of reporting the defect by mistake etc.), the Seller is eligible to require a compensation for all the costs arising from the repair. The cost shall be calculated according to the valid price list of services and transport costs.
If the Seller finds out (by testing) that the product is not damaged, the Warranty Claim is not accepted.
The Seller reserves the right to claim a compensation for costs arising from the false Warranty Claim.
In case the Buyer makes a claim about the Goods that is legally covered by the Warranty provided by the Seller, the Seller shall fix the reported defects by means of repair or by the exchange of the damaged part or product for a new one. Based on the agreement of the Buyer, the Seller has the right to exchange the defected Goods for a fully compatible Goods of the same or better technical characteristics. The Seller is entitled to choose the form of the Warranty Claim Procedures described in this paragraph.
The Seller shall settle the Warranty Claim within 30 days after the delivery of the defective Goods, unless a longer period has been agreed upon. The day when the repaired or exchanged Goods is handed over to the Buyer is considered to be the day of the Warranty Claim settlement. When the Seller is not able to settle the Warranty Claim within the agreed period due to the specific nature of the Goods defect, he and the Buyer shall make an agreement about an alternative solution. In case such agreement is not made, the Seller is obliged to provide the Buyer with a financial compensation in the form of a refund.
SEVEN SPORT s.r.o.
Registered Office: Borivojova 35/878, 130 00 Praha 3, Czech Republic
Headquarters: Delnicka 957, 749 01 Vitkov, Czech Republic
Headquarters: Delnicka 957, 749 01 Vitkov, Czech Republic
CRN: 26847264
VAT ID: CZ26847264
Phone: +420 556 300 970
E-mail: [email protected]
[email protected]
Web: www.insportline.cz
SK
INSPORTLINE s.r.o.
Headquarters, Warranty & Service centre:
Elektricna 6471, 911 01 Trencin, Slovakia
CRN: 36311723
VAT ID: SK2020177082
Phone: +421(0)326 526 701
E-mail: [email protected]
[email protected]
[email protected]
Web: www.insportline.sk
Date of Sale: Stamp and Signature of Seller:







































