USER MANUAL EN
IN 3881 Stepper inSPORTline PROFI Imperial

INTRODUCTION
Thank you for purchasing this product. To use it properly and safely, read the entire manual and observe all warnings and recommendations.
SAFETY PRECAUTIONS
- WARNING! This product has been designed to offer the maximum safety. Nevertheless, certain precaution should be kept while using it. Read the whole manual before first using and retain it for future reference.
- It’s the owner responsibility to use it safely and properly. Instruct all other users in correct using.
- Use this product only for intended purpose. Don’t do any improper modification.
- Keep it away from children and pets. Never let children unattended near this device.
- Regularly check all bolt, nuts and components, if they are well tightened. Retighten, if necessary. Regularly check this machine for damage or wearing. Never use damaged or worn product. All damager or worn parts should be replaced immediately.
- Place it only on a flat, clear and solid surface and keep a safety clearance of at least 0.6 m round it. Put a mat under this device to protect your floor.
- Use it only indoors and protect it from humidity and dust. Assure sufficient ventilation. Never exercise in an airless place.
- Don’t put any sharp objects on or near this stepper.
- Always wear appropriate clothes and sports shoes. Avoid too loose dress that can be caught in device.
- Keep your hands away from moving parts to avoid an injury. No adjustable part should protrude and obstruct user movements.
- Control your speed and exercise reasonably.
- If you remark it works abnormally, stop using.
- Only one person can use it at time.
- Consult your physician before starting any exercise. It is especially necessary if you are over 35 years of age or if you have some problems. If you feel faintly or remark other health complications, stop immediately. Don’t use it, if you have health complications or if you take some medical care.
- Avoid using if you have: leg pain, waist pain, wounded neck, waist, leg, arthritis, rheumatic, gout, osteoporosis, perfunctory obstacles (heart problems, wrong blood circulation, hypertension), respiratory complications, sarcomata, thrombus, diabetes, skin irritation, hyperpyrexia, bone problems, if you are pregnant or have catamenia or similar problems.
- Weight limit: 150 kg
- Dimensions after assembly: 125 x 76 x 160 (l x w x h)
- Category: SC (according to EN957 norm) suitable for semi-commercial, hotel and Club use.
- WARNING! The heart rate frequency monitoring may not be completely accurate. Overexertion during training can lead to a serious injury or even death. If you start to feel faint, stop the exercise immediately.
3
DIAGRAM

PARTS LIST
| No. | Name | Qty | No. | Name | Qty |
| 1 | Main Frame | 1 | 21 | Cross Pan Head Bolt M4*12 | 4 |
| 2 | Handlebar Post | 1 | 22 | Nylon Nut M8 | 4 |
| 3 | T-Handlebar | 1 | 23 | Acorn Nut | 4 |
| 4 | Handrail (L) | 1 | 24 | Flat Washer Ø 8 | 11 |
| 5 | Lower Handrail (L) | 1 | 25 | Control wire | 1 |
| 6 | Handrail (R) | 1 | 26 | Flat Washer Ø 4 | 4 |
| 7 | Lower Handrail (R) | 1 | 27 | Arc Washer | 18 |
| 8 | Pedal Arm (L) | 1 | 28 | Pulse Sensor Wire | 2 |
4
| 9 | Pedal Arm (R) | 1 | 29 | Pedal (L/R) | 1 |
| 10 | Front Stabilizer | 1 | 30 | Square Pipe Cap 38*38 | 4 |
| 11 | Rolling cap | 2 | 31 | Ф60 Round Pipe Cap | 2 |
| 12 | Rear Stabilizer | 1 | 32 | Ф32 Round Pipe Cap | 2 |
| 13 | End Cap | 2 | 33 | Adapter | 1 |
| 14 | Pedal Fixed Plate | 2 | 34 | Cap | 16 |
| 15 | Hex Head Bolt M8*55 | 4 | 35 | Pulse Sensor | 2 |
| 16 | Hex Head Bolt M8*15 | 16 | 36 | Console | 1 |
| 17 | Hex Socket Pan Head Bolt M8*58 | 2 | 37a/b | Vertical cover | 1 |
| 18 | Hex Socket Pan Head Bolt M8*90 | 4 | 38a/b | Bar cover | 1 |
| 19 | Hex Socket Pan Head Bolt M8*15 | 1 | 39 | Cross bolt | 5 |
| 20 | Extended wire | 1 |
NOTE: Most of the listed assembly hardware has been packaged separately, but some hardware items have been preinstalled in the identified assembly parts. In these instances, simply remove and reinstall the hardware as assembly is required. Please reference the individual assembly steps and make note of all preinstalled hardware.
ASSEMBLY
Before assembling the device, remove all parts from the box, unpack them and check their number according to the parts list. If the numbers match, you can proceed to the first assembly step. If any part is missing, contact the complaints department.
Step 1
Attach the stabilizers (10, 12) to the main frame (1), secure them with 4x hex socket pan head bolts (18), 6x arc washers (27) and 2x acorn nuts (23).

Step 2
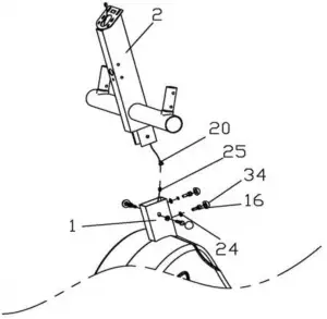
Connect the extended wire (20) with control wire (25), then insert the handlebar post (2) to the main frame (1), secure it with the 4x hex head bolts (16) and 4x flat washers (24), cover the bolts with 4x caps (34).
5

* Ensure that all bolts and washers are in place and partially threaded in before completely tightening all bolts.
Step 3
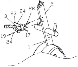
Feed pulse sensor wires (28) through hole in front of handlebar post (2), and out of the top of the handlebar post. Attach the T-handlebar (3) to the handlebar post, secure in place with the 2x hex socket pan head bolts (17), 2x flat washers (24) and 2x acorn nuts (23), and then fix the T-handlebar with hex socket pan head bolt (19) and flat washer (24).

Step 4
Carefully insert the upper part of the lower handle (R) (7) into the lower end of the handle (R) (6). Align the mounting holes. Secure the handle with 2x hex bolts (16) and 2x arc washers (27). Position the handle assembly by sliding the upper end of the handle into the handle post on the front post (2), and at the same time the lower end of the handle into the front stabilizer bracket (10). Align the mounting holes. Secure the handle in place with 4x hex bolts (16) and 4x arc washers (27) as shown in the illustration below. Use the 6x caps (34) to cover the bolts. Apply the same mounting procedure when mounting the other side of the handle.
6

Step 5
Attach the pedal fixed plate (14) and the pedals (29L/R) on the pedal arms (L/R) (8/9) respectively. Align the mounting holes. Secure with 4x hex head bolts (15), 4x flat washers (24) and 4x nylon nuts (22) as shown.

Step 6
Fix the bar covers (38a/b) , vertical covers(37a/b) to the T-handlebar (3), handlebar Post (2) respectively and make sure the covers are fixed properly ,then secure the covers (37a/b, 38 a/b) with 4x cross bolt (39).
7

Step 7
Connect the extended wire (20) , pulse sensor wire (28) with wires from console (36) respectively, attach the computer (36) carefully onto the bracket and secure in place with the 4x flat washers (26) and 4x cross pan head bolts (21) which are pre-attached to the console.

8
CONSOLE

AUTO ON /OFF:
The console will turn on automatically if the exercise machine is in motion or you press one of the buttons ENTER, START/STOP and MODE. If you stop exercising for 256 seconds, console will turn off
(These operating instructions are for guidance only and the functions marked “*” are alternative, details depend on the exact type of console.)
Buttons
There are total of 6 buttons including START/STOP, ENTER, MODE, UP, DOWN, and RECOVERY.
A. START/STOP: Starts or stops the program chosen. And, resets the monitor by pressing and holding for 2 seconds.
B. ENTER: Chooses the functions from PROGRAMS, GENDER, TIME, HEIGHT, WEIGHT, DISTANCE, WATT, TARGET HEART RATE, AGE, and 10 columns. The chosen function shall flash. Please note that not all the functions can be selected in every program according to the types of each program.
C. MODE: Changes the displays of the values between RPM or SPEED, and KJOULE/CAL or WATT. The values of RPM and WATT show at the same time, or the values of SPEED and KJOULE/CAL do by pressing it.
D. UP (
): Selects or increases the values of PROGRAMS, GENDER, TIME, HEIGHT, WEIGHT, DISTANCE, WATT, TARGET HEART RATE, AGE, and 10 columns.
E. DOWN (
): Selects or decreases the values of PROGRAMS, GENDER, TIME, HEIGHT, WEIGHT, DISTANCE, WATT, TARGET HEART RATE, AGE, and 10 columns.
F. *RECOVERY: Starts the function of PULSE RECOVERY.
9
Display
A. START: Indicates the program selected has started.

B. STOP: Indicates the program selected has stopped. And, users are free to change the programs and the value of functions applied.


C. PROGRAM: Indicates the programs selected from PROGRAM 1 to PROGRAM 15 (or 17).
D. LEVEL - úrove: Indicates the level of loading selected from LEVEL 1 to LEVEL 16.

E. GENDER – : Display the gender (Male or Female) selected.
![]()
![]()
F. TIME/ HEIGHT /WEIGHT: Display the value of one selected function depending on the selected program.

G. RPM/SPEED/KMH (MPH): Display only 1 value of RPM, SPEED, or KMH (MPH) displayed depending on the program.

H. DISTANCE /FAT fat %: Display value of one function depending on the program.

I. CAL/WATT/BMR: Display value of one function depending on the program.

J. TARGET H.R./ BMI/ AGE: Display value of one function depending on the program.
10

K. HEART RATE /BODY TYPE: Display value of one function depending on the program.
L. LOADING: There are 10 columns of loading bars, and 8 bars in each column. Each column represents 3 minutes workout (without the change of TIME value), and each bar represents 2 levels of load.

Operating range
| Values | Range (Count up) | Count down | Preset | Increase (Decrease) |
| PROGRAM | 1 ~ 17 | 17 ~ 1 | 1 | 1 |
| LEVEL | 1 ~ 16 | 16 ~ 1 | N/A | 1 |
| GENDER | Male , Female | N/A | Male | N/A |
| TIME | 0:00 ~ 99:59 | 99:00 ~ 5:00 | 0:00 | 1:00 |
| HEIGHT | 110.0 ~ 199.5 | 199.5 ~ 110.0 | 175.0 | 0.5 |
| WEIGHT | 10.0 ~ 199.8 | 199.8 ~ 10.0 | 70.0 | 0.2 |
| DISTANCE | 0.0 ~ 999.0 | 999.0 ~ 1.0 | 0.0 | 1.0 |
| WATT | 30 ~ 300 | 300 ~ 30 | 100 | 10 |
| TARGET H.R. | 60 ~ 220 | 220 ~ 60 | 90 | 1 |
| AGE | 10 ~ 99 | 99 ~ 10 | 30 | 1 |
Instructions before exercising
- The values calculated or measured by the console are for exercise purpose only, not for medical purpose.
- The variables may need to change in the programs:
| Programs | Variables |
| P1 ~ P7 | TIME, DISTANCE, AGE |
| P8 | GENDER, HEIGHT, WEIGHT, AGE |
| P9 | TIME, DISTANCE, TARGET H.R. |
| P10 ~ P12 | TIME, DISTANCE, AGE |
| P13 ~ P16 | TIME, DISTANCE, AGE, 10 Intervals |
| P17 | TIME, DISTANCE, WATT, AGE |
11
Please note that only one value of TIME or DISTANCE can be adjusted. Both values do not exist at the same time. For example, the value of DISTANCE is “0.0” while the value of TIME is adjusted to be any number except “00:00”.
- Programs Selection:
There are 17 programs: 1x Recovery, 1x Manual Program, 6x Preset Programs, 1x Body Fat Program, 4x Heart Rate Control Programs, 4x User Programs, 1x Speed Independent Program, and 1x Pulse Recovery Measuring.
- Program Graph:
Each column is made of segments. Segments display load and columns time interval of 3 minutes. Total exercise time is 30 minutes. If you enter time countdown, time is divided into 10 intervals. If you set exercise time to 40 minutes, each column will represent 4 minutes. Load is displays in pictures below:
Program 1 (Manual ) Program 2 (Polling)

Program 3 (Valley) Program 4 (Fat Burn)

Program 5 (Ramp) Program 6 (Mountain)

Program 7 (Random) Program 8 (Body Fat )

Program 9 (Target H.R.) Program 10 (60% H.R.C)
12

Program 11 (75% H.R.C.) Program 12 (85% H.R.C.)

Program 13 (User setting) Program 14 (User setting)

Program 15 (User setting) Program 16 (User setting)

Program 17 (Watt control)

Body type:
According to the% of body fat, body types can be divided into 9 categories:
- Type Very slim (5% – 9%)
- Type Ideal (10% – 14%)
- Type Highly sport (15% – 19%)
- Type Sport (20% – 24%)
- Type Healthy (25% – 29%)
- Type Slim (30% – 34%)
- Type Slightly obese (35% – 39%)
- Type Obese (40% – 44%)
- Type Morbid obese (45% – 50%)
BMR: Basal Metabolism Ratio
Your baseline metabolic rate (BMR) shows the number of calories your body needs to function normally. It does not include any activity, simply put, it is the energy needed to work the heart, breathe, and maintain a normal body temperature. They are measured when the body is at rest, not at sleep, and at room temperature.
Formula for calculating BMR:
BMR (women) = 655.0955 + (9.5634 × weight in kg) + (1.8496 × height in cm) – (4.6756 × age in years)
BMR (men) = 66.473 + (13.7516 × weight in kg) + (5.0033 × height in cm) – (6.755 × age in years)
BMI: Body Mass Index
The body mass index (BMI) helps people determine what their weight should be based on a simple weight-to-height ratio. BMI is a figure calculated from a person’s weight and height, and doctors and other nutritionists commonly use it to determine underweight, overweight, and obesity in both men and women.
Operation Instructions
Exercising with a Specific Goal:
A. TIME Control: Sets up a period to exercise. (Except in Program 8)
B. DISTANCE Control: Sets up a certain distance to exercise. (Except in Program 8)
C. BODY FAT Control: Computer designs various programs for different people with different body fat ratio.
D. WATT Control: Keeps different bodies burning in desire WATT consumed.
E. Heart Rate Control: Keeps users to exercise under a safe heart-beating condition
Pulse Rate
The whole set of heart rate detector include 2 sensors each side. Each sensor has 2 pieces of metal parts. The correct way to get detected is to gently hold both metal parts each hand. With the good signals picked up by the computer, the heart mark in the HEART RATE/BODY TYPE Display shall flash.
* (Options: Chest Belt for wireless pulse system is optional. If wireless pulse system is adapted, please refer to the leaflet of wireless pulse system. It may not apply to all the models, only if the option is along with the computer.)
Manual Program:
PROGRAM 1 is a manual program. Press “ENTER” key to select TIME, DISTANCE, and AGE. Then, press
or
key to adjust the values. The default level of loading is 6. After pressing “START/STOP” key to exercise, please also apply the heart rate detector appropriately. Users may exercise in any desire level (by pressing
or
during the workout) with a period of time or a certain distance. With the input of age, the computer may suggest a target heart rate to exercise. The suggested heart rate is 85%(220 age). So, if the heart rate detected equals to or greater than the TARGET H.R., the value of HEART RATE will keep flashing. Please note that it is a warning for users to slow down or to lower the level of loading.
14
Preset Programs:
PROGRAM 2 to PROGRAM 7 are the preset programs. Press “ENTER” key to select TIME, DISTANCE, and AGE. Then, press
or
key to adjust the values. Users may exercise with different level of loading in different intervals as the profiles show. After pressing “START/STOP” key to exercise, please also apply the heart rate detector appropriately. Users may also exercise in any desire level (by pressing
or
during the workout) with a period of time or a certain distance. With the input of age, the computer may suggest a target heart rate to exercise. The suggested heart rate is 85%(220 age). So, if the heart rate detected equals to or greater than the TARGET H.R., the value of HEART RATE will keep flashing. Please note that it is a warning for users to speed down or to lower the level of loading.
Body Fat Program:
Program 8 is a special program designed to calculate users’ body fat ratio and to design a specific loading profile for users. With 9 different body types, the computer can generate 9 different profiles for each. Press “ENTER” key to select GENDER, HEIGHT, WEIGHT, and AGE. Then, press
or
key to adjust the values. After pressing “START/STOP” key to calculate body fat, please also apply the heart rate detector appropriately. If the detector cannot pick up any signals, an error message “E3” will show up in the profile display. If it happens, press “START/STOP” key to calculate again. Then, the calculation values of FAT%, BMR, BMI, BODY TYPE, and a designed profile will show up shortly. Press “START/STOP” key to exercise. The profile shown in the display is specially designed for your body type.
Heart Rate Control Programs:
Program 9 to Program 12 are the Heart Rate Control Programs. In program 9, press “Enter” key to select TIME, DISTANCE, and TARGET H.R. Users may setup a target heart rate to exercise in a period of time or a certain distance. In Program 10 to Program 12, press “Enter” key to select TIME, DISTANCE, and AGE. Then, press
or
key to adjust the values. Users may exercise in a period of time or a certain distance with 60% Max Heart Rate in Program10, 75% Max Heart Rate in Program 11, and 85% Max Heart Rate in Program 12. After pressing “START/STOP” key to exercise, please also apply the heart rate detector appropriately. In these programs, the computer will adjust the level of loading according to the heart rate detected. For example, the level of loading may increase while the heart rate detected is lower than TARGET H.R. Also, the level of loading may decrease while the heart rate detected is higher than TARGET H.R. As a result, the user’s heart rate will be adjusted to close the TARGET H.R. in the range of TARGET H.R. 5 and TARGET H.R. +5.
User Setting Programs:
Program 13 to Program 16 are the user-setting programs. Users are free to edit the values in the order of TIME, DISTANCE, AGE, and the level of loading in 10 intervals. The values and profiles will be stored in the memory after setup. After pressing “START/STOP” key to exercise, please also apply the heart rate detector appropriately. Users may also change the ongoing loading in each interval by pressing
or
key, and they will not change the level of loading stored in the memory. With the input of age, the computer may suggest a target heart rate to exercise. The suggested heart rate is 85%(220 age). So, if the heart rate detected equals to or greater than the TARGET H.R., the value of HEART RATE will keep flashing. Please note that it is a warning for users to speed down or to lower the level of loading.
*Speed Independent Program:
Program 17 is a Speed Independent Program. Press “ENTER” key to select the values of TIME, DISTANCE, WATT, and AGE. Then, press
or
key to adjust the values. After pressing “START/STOP” key to exercise, please also apply the heart rate detector appropriately. During the exercise, the level of loading is not adjustable. In this program, computer will adjust the level of loading according to the value of WATT setup. For example, the level of loading may increase while the speed is too slow. Also, the level of loading may decrease while the speed is too fast. As a result, the calculated value of WATT will close to the value of WATT setup by users. With the input of age, the computer may suggest a target heart rate to exercise. The suggested heart rate is 85%(220 age). So, if the heart rate detected equals to or greater than the TARGET H.R., the value of HEART RATE will keep flashing. Please note that it is a warning for users to speed down or to lower the level of loading.
* Pulse Recovery:
It is a function to check the condition of pulse recovery that is scaled from 1.0 to 6.0 while 1.0 means the best and 6.0 means the worst and the increment is 0.1. In order to get rated correctly, users must test it right after the workout finished by pressing “RECOVERY” key and then stop exercising. After the key is pressed, please also apply the heart rate detector appropriately. The test will last for 1 minute and the result will show in the display.
GENERAL EXERCISE RECOMMENDATIONS
Be careful when starting your exercise program, exercise should not take too long, and you should not exercise more than once every two days. Extend the exercise time gradually every week. Do not set unattainable goals. In addition to exercising on stepper, perform other sports activities, such as. swimming, dancing, or cycling.
Always warm up properly before exercising. Stretch or perform gymnastic exercises to warm up for at least 5 minutes to reduce muscle tension and prevent pain.
Breathe regularly and calmly during exercise.
Make sure you drink properly during exercise. Remember that the recommended daily dose of fluids is 2-3 liters and this increases with physical exertion. The fluids you drink should be at room temperature.
Always wear comfortable and light clothing and sports shoes when exercising on the device. Do not wear loose clothing that could get caught in the moving parts of the device during exercise.
Measure your heart rate regularly. If your device does not have a heart rate monitor, consult your doctor about how you can measure your heart rate yourself. Determine the interval in which your heart rate will move, the more effective the training. Consider your age and fitness. The following table is used to determine the optimal heart rate interval:
| Age | Heart rate 50 – 75% (of maximum heart rate) – optimal heart rate | Maximum heart rate 100% |
| 20 years old | 100 – 150 | 200 |
| 25 years old | 98 – 146 | 195 |
| 30 years old | 95 – 142 | 190 |
| 35 years old | 93 – 138 | 185 |
| 40 years old | 90 – 135 | 180 |
| 45 years old | 88 – 131 | 175 |
| 50 years old | 85 – 127 | 170 |
| 55 years old | 83 – 123 | 165 |
| 60 years old | 80 – 120 | 160 |
| 65 years old | 78 – 116 | 155 |
| 70 years old | 75 – 113 | 150 |
16
USE OF STEPPER
Whether you are looking for a nice figure, relaxation, or improved physical condition, the stepper is an aerobic equipment that you can quickly enjoy because of its positive influence on the cardiovascular and circulatory system.
In fact, steppers simulate walking down the stairs. Additionally, compared to just walking down the stairs, they do not burden the joints and are therefore more suitable for overweight people and people with joint problems. Because the body is free to move in space and upright, they are also suitable for people who have some back problems and who do not like, for example, the static position of the exercise bikes.
The Stepper works by putting your feet on two moving platforms, setting up specific features, and then moving the weight of your body alternately from one foot to the other. The basic features you can set for some steppers include step counting, total training time, energy consumption, walking distance or heart rate. These simpler devices do not contain handholds and are more demanding for stability, but of course you can also buy one with the holders.
The main muscles involved in the movement are the thigh muscles (quadriceps and hamstrings), the muscles of the buttocks, but also the calves and some smaller stabilizing muscles. However, the involvement of individual groups also depends on what you are doing on the stepper.
Deeper exercising uses more quadriceps muscles (quadriceps). Shallow exercising uses hamstrings and calves.
When exercising on most types of steppers, you can, to a certain extent, adjust the resistance and intensity of your activity to your performance level, goals, or type of aerobic unit. Take care of the right stance and avoid moving the knees into the sides or inwards.
EXERCISE INSTRUCTIONS
A successful workout starts with the warm-up phase and ends with the cool-down phase (relaxation). At the warm-up phase your muscle should be prepared for strenuous workout. The cool-down phase should protect your body form muscular problems. Follow stretching exercise instructions for warming up and cooling down your body.

Toe Touch
Slowly bend forward from your waist, letting your back and shoulders relax as you stretch toward your toes. Reach down as far as you can and hold for 15 seconds counts.

Tights
With one hand, lean against the wall. Put your other hand down and grasp your foot. Tighten it to the buttocks, do not overextend your thighs. Hold for 30 seconds and repeat with the second leg.

Hamstring Stretch
Sit with your right leg extended. Rest the sole of your left foot against your right inner thigh. Stretch toward your toe as far as possible. Hold for 30-40 seconds. Relax and then repeat with left leg extended.

Inner Thigh Stretch
Sit with the soles of your feet together with your knees pointing outward. Pull your feet as close into your groin as possible. Gently push your knees towards the floor. Hold for 30-40 seconds.
17

Calf-Achilles Stretch
Lean against a wall with your left leg in front of the right and your arms forward. Keep your right leg straight and the left foot on the floor; then bend the left leg and lean forward by moving your hips toward the wall. Hold, then repeat on the other side for 30-40 counts.
MAINTENANCE
- Use only a soft cloth and a mild detergent.
- Do not clean the plastic parts with abrasives or solvents.
- Wipe the sweat after each use.
- Protect the device from moisture and extreme temperatures.
- Protect your device, computer and console from direct sunlight.
- Check the tightening of all bolts and nuts regularly.
- Store in a dry and clean place away from children.
ENVIRONMENT PROTECTION
After the product lifespan expired or if the possible repairing is uneconomic, dispose it according to the local laws and environmentally friendly in the nearest scrapyard.
By proper disposal you will protect the environment and natural sources. Moreover, you can help protect human health. If you are not sure in correct disposing, ask local authorities to avoid law violation or sanctions.
Don’t put the batteries among house waste but hand them in to the recycling place.
TERMS AND CONDITIONS OF WARRANTY, WARRANTY CLAIMS
General Conditions of Warranty and Definition of Terms
All Warranty Conditions stated here under determine Warranty Coverage and Warranty Claim Procedure. Conditions of Warranty and Warranty Claims are governed by Act No. 89/2012 Coll. Civil Code, and Act No. 634/1992 Coll., Consumer Protection, as amended, also in cases that are not specified by these Warranty rules.
The seller is SEVEN SPORT s.r.o. with its registered office in Strakonická street 1151/2c, Prague 150 00, Company Registration Number: 26847264, registered in the Trade Register at Regional Court in Prague, Section C, Insert No. 116888.
According to valid legal regulations it depends whether the Buyer is the End Customer or not.
“The Buyer who is the End Customer” or simply the “End Customer” is the legal entity that does not conclude and execute the Contract in order to run or promote his own trade or business activities.
“The Buyer who is not the End Customer” is a Businessman that buys Goods or uses services for the purpose of using the Goods or services for his own business activities. The Buyer conforms to the General Purchase Agreement and business conditions.
These Conditions of Warranty and Warranty Claims are an integral part of every Purchase Agreement made between the Seller and the Buyer. All Warranty Conditions are valid and binding, unless otherwise specified in the Purchase Agreement, in the Amendment to this Contract or in another written agreement.
Warranty Conditions
Warranty Period
18
The Seller provides the Buyer a 24 months Warranty for Goods Quality, unless otherwise specified in the Certificate of Warranty, Invoice, Bill of Delivery or other documents related to the Goods. The legal warranty period provided to the Consumer is not affected.
By the Warranty for Goods Quality, the Seller guarantees that the delivered Goods shall be, for a certain period of time, suitable for regular or contracted use, and that the Goods shall maintain its regular or contracted features.
The Warranty does not cover defects resulting from (if applicable):
- User’s fault, i.e. product damage caused by unqualified repair work, improper assembly, insufficient insertion of seat post into frame, insufficient tightening of pedals and cranks
- Improper maintenance
- Mechanical damages
- Regular use (e.g. wearing out of rubber and plastic parts, moving mechanisms, joints, wear of brake pads/blocks, chain, tires, cassette/multi wheel etc.)
- Unavoidable event, natural disaster
- Adjustments made by unqualified person
- Improper maintenance, improper placement, damages caused by low or high temperature, water, inappropriate pressure, shocks, intentional changes in design or construction etc.
Warranty Claim Procedure
The Buyer is obliged to check the Goods delivered by the Seller immediately after taking the responsibility for the Goods and its damages, i.e. immediately after its delivery. The Buyer must check the Goods so that he discovers all the defects that can be discovered by such check.
When making a Warranty Claim the Buyer is obliged, on request of the Seller, to prove the purchase and validity of the claim by the Invoice or Bill of Delivery that includes the product’s serial number, or eventually by the documents without the serial number. If the Buyer does not prove the validity of the Warranty Claim by these documents, the Seller has the right to reject the Warranty Claim.
If the Buyer gives notice of a defect that is not covered by the Warranty (e.g. in the case that the Warranty Conditions were not fulfilled or in the case of reporting the defect by mistake etc.), the Seller is eligible to require a compensation for all the costs arising from the repair. The cost shall be calculated according to the valid price list of services and transport costs.
If the Seller finds out (by testing) that the product is not damaged, the Warranty Claim is not accepted. The Seller reserves the right to claim a compensation for costs arising from the false Warranty Claim.
In case the Buyer makes a claim about the Goods that is legally covered by the Warranty provided by the Seller, the Seller shall fix the reported defects by means of repair or by the exchange of the damaged part or product for a new one. Based on the agreement of the Buyer, the Seller has the right to exchange the defected Goods for a fully compatible Goods of the same or better technical characteristics. The Seller is entitled to choose the form of the Warranty Claim Procedures described in this paragraph.
The Seller shall settle the Warranty Claim within 30 days after the delivery of the defective Goods, unless a longer period has been agreed upon. The day when the repaired or exchanged Goods is handed over to the Buyer is considered to be the day of the Warranty Claim settlement. When the Seller is not able to settle the Warranty Claim within the agreed period due to the specific nature of the Goods defect, he and the Buyer shall make an agreement about an alternative solution. In case such agreement is not made, the Seller is obliged to provide the Buyer with a financial compensation in the form of a refund.
CZ
SEVEN SPORT s.r.o.
Registered Office: Strakonická 1151/2c, Praha 5, 150 00, CR
Headquaters: Dlnická 957, Vítkov, 749 01
Warranty & Service: Cermenská 486, Vítkov 749 01
19
CRN: 26847264
VAT ID: CZ26847264
Phone: +420 556 300 970
E-mail: [email protected]
[email protected]
[email protected]
Web: www.inSPORTline.cz
SK
inSPORTline s.r.o.
Headquaters, warranty & service center: Elektricná 6471, Trencín 911 01, SK
CRN: 36311723
VAT ID: SK2020177082
Phone: +421(0)326 526 701
E-mail: [email protected]
[email protected]
[email protected]
Web: www.inSPORTline.sk
20



















