VEVOR BWG-S Commercial Food Warmer Display

Commercial Food Warmer Display BWG-SIBWG-MINB-602


NEED HELP? CONTACT US!
Have product questions? Need technical support? Please feel free to contact us:
This is the original instruction, Please read all manual instructions carefully before operating. VEVOR reserves clear interpretation of our user manual. The appearance of the product shall be subject to the product you received. Please forgive us that we won’t inform you again if there is any technology or software updates on our product.
Important Safety Instruction
Please read this manual carefully before using this product.
Make sure you are familiar with all safety and usage instructions.
Keep this manual in a safe place for future reference.
FOR YOUR SAFETY
Follow these precautions all the time to avoid personal injury to yourself or others.
Do not spray with water or cleaning products.
Do not use the unit with a damaged or modified electric cord.
To reduce the risk of equipment damage and personal injury:
- Only use grounded power outlets that match the rated voltage on the nameplate.
- Only use in a horizontal position.
- Do not use a power strip, surge protector or extension cord with the equipment.
- Unplug the equipment before cleaning or moving.
- Do not use cleaning agents or liquids on the outside of the unit.
- Keep away from open flames and other heat sources.
- Do not operate damaged or malfunctioning equipment.
- Do not leave equipment ON unattended.
- Do not let children or minors touch or use this product.
- Please be careful during use.
- Do not put non food into the product for heating.
- Please use purified water.
Introduction
These Food Warmers are specifically designed to meet the rigorous demands of a busy food service operation. Each Food Warmer has been assembled and tested according to strict quality standards.
Technical Specifications
Model No. Power Voltage Dimension(mm) Plug Type Tricolor lamp

Installation Instructions
Please note this unit must be installed by a qualified person!
- Remove all packaging material, tape and protective plastic.
- Remove any residue that may be left by packaging tape or glue.
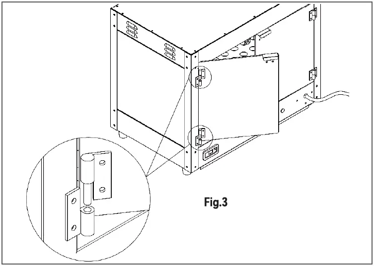
- Door Installation
For model BWG-S and BWG-M ,please refer to Fig.3 below:
There will be two separately packaged doors need to be assembled, take one of them and make sure the upper and lower door bolt can be slid into the corresponding sockets at the same time.
Note: Please make sure the door handle on the top should be facing the outside of food warmer.
- Shelf Installation
For Model BWG-S and BWG-M, the adjustable shelves have been assembled in advance for your convenience. If adjustment is required, loosen the screws of each shelf, position them at your desired height, and tighten the screws again. the layers are tightened by screws, loosen the screws and locate them on the desired height you wish and tight them. Then position the shelves on the brackets. For Model NB-602, Choose your desired location for the adjustable shelves and place the vertical bracket in the corresponding slots, making sure that the flat sides face inward. Then position the shelves on the brackets.
NOTE
Shelves can be placed flat or tilted to improve visibility. - Make sure that the power supply matches the nameplate rating and is properly grounded before plugging the unit in. Incorrect power to the unit may cause damage.
Operation Before the First Use
Clean the unit as described in the “Cleaning Section”. The unit takes 15 minutes to achieve desired temperature before placing prepared food inside. This unit is intended to maintain the proper temperature for food preparation. It is not intended for cooking or heating food. If you notice condensation on the inside of the unit, open the doors gently.
NOTE
Check the temperature of food in the unit regularly. To prevent bacteria growth it is recommended that hot food be kept at a minimum of 140 degrees F. - Adjust thermostat to desired temperature. The indicator light will illuminate when the heating element is energized.
- You can turn on the light switch when in the dark. The light color will change with the “ON-OFF-ON” cycle. 3 colors in all.
- If humidity is required, add water to the water pan. You should check regularly during operation.
- To turn off the unit, set the thermostat to the lowest setting and turn off the light.
- Unplug the unit when not in use.
- If using the water pan, cool the water completely before removing and treating the water.
- After each use, clean the unit as described in the “Cleaning Section”.
Cleaning Your Commercial Food Warmer Display
Clean the equipment after each use in order to maintain appearance and extend its service life.
NOTE
Cleaning agents and products that contain acids, chlorine and other aggressive chemicals may damage the unit. Avoid using these products.
NOTE
Never immerse the unit in water or any other liquid. Do not let the power cord or plug come into contact with water or other liquids.
- Unplug unit.
- Allow sufficient time for the unit to cool.
- Only use a damp sponge or cloth with soapy water to wipe down the unit.
- Non toxic high-quality glass cleaner can be used to clean the unit parts.
- After each cleaning, thoroughly dry all surfaces of the unit.
Wiring Diagram

- HLI: Power light
- HL2: Heating light
- HL3: Flood light EH
- Heating element
- SW: Power switch
- ST: Thermostat
- M:Fan
Trouble Shooting Chart
| Issue | Reason | Solution |
| No lighting in the interior of the cabinet | Unit is not plugged in | Check the power source, ensure power cord is undamaged |
| Defective LED light | Replace LED lights |
|
Unit is not hot enough | Thermostat off | Turn on the thermostat |
| Defective Thermostat or Heating Element | Contact the purchase site or authorized service agent | |
| Insufficient preheating | Preheat 30 minutes to reach operating temperature | |
| Temperature setting is too low | Change the temperature to a higher setting | |
| Door(s) are not closed completely | Make sure door(s) are completely closed | |
|
Unit is too hot | Temperature setting is too high | Change the temperature to a lower setting |
| Unit is connected to incorrect power supply | Contact authorized service agent | |
| Defective Thermostat or Heating Element | Contact The purchase site or authorized service agent | |
|
Food is too dry | Door(s) are open | Make sure door(s) are completely closed |
| Water tank is empty | Fill water tank up | |
|
Unit doesn’t work at all | Unit is not plugged in | Plug unit into proper power supply |
| Unit is not turned on | Turn unit on | |
| Circuit breaker tripped | Reset circuit breaker | |
| Defective control device | Contact the purchase site or authorized service agent | |
| Defective thermostat or heating element | Contact the purchase site or authorized service agent |
E-mail: [email protected]



















