CHEFMASTER HEA887 Double Food Warmer

Thank you for purchasing your Chefmaster Food Warmer. To make full use of the product please read this manual carefully before using the product and keep it safe for future reference.
Safety Tips
- If you find any damage when the product is unpacked, contact your Chefmaster supplier within 24 hours of receipt of goods
- Always position on a flat stable surface
- Repairs should always be carried out by a qualified technician
- Never touch the lamp shade when the product is on or recently after use.
- Do not use this product outside
- Do not carry when hot
- Always switch off and unplug the unit before cleaning
- Always store flat and do no store products on top of it
- If the power cord becomes damaged it must be replaced by a qualified technician
- This product is not designed to be used by persons with reduced physical or mental capabilities, lack of experience or knowledge, unless they are given suitable supervision, this includes children.
Pack Contents
- 1 x Chefmaster Food Warmer
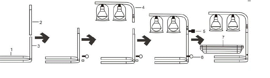
Assembly Instructions
- Remove all packaging including all protective plastic from your Chefmaster Food Warmer
- Position the base (1) on a flat surface
- Insert the middle arm (2) into the base
- Insert the upper arm (4) in the middle arm (2) and fix with the screws provided (5)
- Adjust the height of the arm with the lower screws (6)
- Insert food tray (7)
- Plug your Chefmaster Food Warmer into the mains
- The food warmer will now be ready to turn on

Operation
- Place food into a heat proof tray, a stainless steel or ceramic GN pan is perfect.
- Plug the food warmer into the mains and switch on
- The bulbs will now be on and heating up
Cleaning & Maintenance
- Before cleaning disconnect the food warmer from the electricity supply.
- Remove the food tray and clean as per the cleaning instructions for this product
- Use a soft damp cloth to clean the frame of the food warmer
- DO NOT submerge the food warmer in water or use water sprays to clean it
- Always clean your Chefmaster Food Warmer daily
Troubleshooting
| Fault | Possible Cause | Solution |
| The unit is switched on, the bulb is not heating | The unit is not plugged in The plug or lead are damaged The fuse has blown The bulb is not inserted properly The bulb has failed | Check the unit is plugged in and switched on Contact your Chefmaster distributor Replace the fuse Remove bulb and re-insert Replace the bulb |
Transportation and Storage
Please handle your food warmer with care to prevent any damage to the unit and internal part parts. The food warmer should be stored somewhere which is ventilation and n non -corrosive gas.
Do not store any flammable objects near the equipment.
Technical Information
HEA 887
- Voltage ~230v 50/60Hz
- Power 2 x 275watt
- Weight 4.5 kg
- Dimensions 490 x 355 x 6 10mm
- Chefmaster Food Warmer is supplied with a 3 pin plug and lead with a 13 amp fuse
- Appliance must be earthed
- If in doubt contact a qualified electrician or your Chefmaster distributor
Disposal
Under WEEE regulations this product must not be disposed of as household waste. To prevent damage to the environment and humans this product must be disposed of in an approved and environmentally friendly recycling process. For more information on how to dispose of this correctly please contact your Chefmaster distributor or local authority responsible for waste disposal.
Compliance
All Chefmaster parts and products have under gone a stringent testing process to ensure that comply with all European standards and specifications. All Chefmaster products carry the CE approval symbol.



















