Tamarack UNI-PGRM Series Economy Horizontal Four Module Top of Pole Mount

Introduction
The PGRM series of pole mounts are a sturdy, economical universal pole mounting solution with user adjustable angle settings (0° to 60°).
NOTE: 4-inch Schedule 40 (Sch-40) steel support pipe and 3” Sch-40 Horizontal Beam pipe is user supplied.
Galvanized coated sheet steel used in the MID Clamps and END Clamps will show rust on cut edges. This is normal and will not affect the structure and function of the mount.
Installer Responsibility
The installer is solely responsible for the following:
- Comply with all applicable local or national building codes, including any that may supersede this manual.
- Ensure that Tamarack Solar parts and other products are appropriate for the particular installation and the installation environment.
- Use only Tamarack Solar parts and installer-supplied parts as specified by Tamarack Solar. Substitution parts may void the warranty;
- Ensure safe installation of all electrical aspects of the PV array.
- Ensure correct and appropriate design parameters are used in determining the design loading used for the specific installation.
- Parameters, such as snow loading, wind speed, exposure and topographic factor should be confirmed with the local building official or a licensed professional engineer.
Customer Support
Tamarack Solar makes every effort to ensure your mounting kit is easy to install. If you need assistance at any point in your installation or have suggestions on how we can improve your experience, call customer support at 1-800-819-7236 or email us at [email protected]
Tools Required
Tools that support the following size Hex heads:
NOTE: Anti-seize compound should be used on all stainless steel hardware in order to prevent galling when tightening. The torque values listed below are “dry”, subtract 20% if using anti-seize lubricant.
- 1/2” = 480\40 In\Ft Lbs (8 or 12 point socket for square head set screws)
- 3/8” = 240\20 In\Ft Lbs
- 5/16” = 144\12 In\Ft Lbs
- 1/4 “ = 84\7 In\Ft Lb
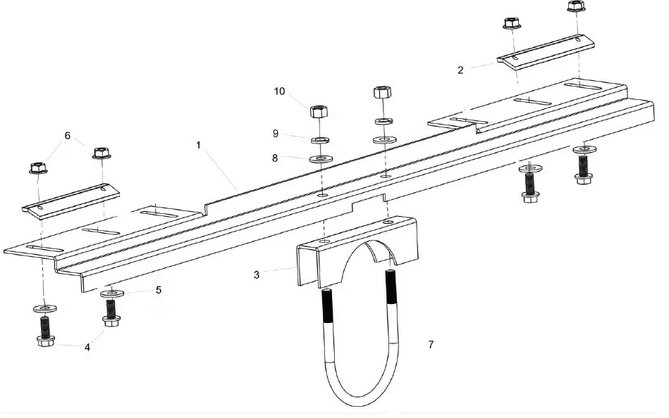
UNI-PGRM-END END CLAMP
NO matter what version of the PGRM Kit you are using, there are two End Clamps per kit, one clamp for each end of the mount. End Clamps are designed to grab the flange on the underside of the solar module frame.
| Item | Part Number | Description | Qty |
| 1 | 51‐0835‐ECB | End Clamp Base | 1 |
| 2 | 51‐0835‐UPC | Panel Frame Clamp | 2 |
| 3 | 51‐0835‐UBC | U‐Bolt Clamp | 1 |
| 4 | 23‐3118‐875 | Bolt, 5/16‐18 x .875 | 4 |
| 5 | 25‐3102‐000 | Washer, Flat 5/16″ | 4 |
| 6 | 25‐2501‐015 | Nut, Flange 5/16″ | 4 |
| 7 | 23‐0100‐033 | U‐Bolt for 3″ Pipe | 1 |
| 8 | 25‐3702‐GLV | Washer, Flat 5/16″ | 2 |
| 9 | 25‐3701‐GLV | Washer, Lock 3.8″ | 2 |
| 10 | 24‐3716‐GLV | Nut. 3/8‐16 | 2 |
UNI-PGRM-MID MID CLAMP
Each PGRM Kit includes one Mid Clamp per two PV modules.
UNI-PGRM/1P1 will not have a Mid Clamp.
| Item | Part Number | Description | Qty |
| 1 | 51‐0835‐UBC | U‐Bolt Clamp | 1 |
| 2 | 51‐0835‐MCT | Mid Clamp Top | 1 |
| 3 | 51‐0835‐MCB | Mid Clamp Bottom | 1 |
| 4 | 23‐2520‐250 | Bolt, 1/4‐20 x 2.5 all thread | 2 |
| 5 | 25‐2502‐000 | Washer, Flat 1/4″ | 2 |
| 6 | 25‐2501‐000 | Washer, Lock 1/4″ | 2 |
| 7 | 23‐0100‐033 | U‐Bolt for 3″ Pipe | 1 |
| 8 | 25‐3702‐GLV | Washer, Flat 5/16″ | 2 |
| 9 | 25‐3701‐GLV | Washer, Lock 3.8″ | 2 |
| 10 | 24‐3716‐GLV | Nut. 3/8‐16 | 2 |
70-0300-PGM POLE CAP
Use one Cap per 1-4 modules and two per 5-6 modules in typical installations. Additional vertical pipes may be needed in some instances. Hardware package contains twelve 1/2-inch nuts. Use 4 as lock nuts on the set screws and 8 on the U-bolts.
| Item | Part Number | Description | Qty |
| 1 | 70-0400-000 | Cap, 4″ Pipe rev E | 1 |
| 2 | 23-0350-GLV | U-Bolt 1/2-13 for 3″ Pipe with 4 Nuts | 2 |
| 3 | 23-5013-150 | Set Screw 1/2-13 x 1.5″ | 4 |
| 4 | 24-513J-GLV | Nut, Jam 1/2-13 | 12 |
Horizontal Beam Length and Post-Placement Calculations
Use a 3-inch Sch-40 pipe (3.5-inch OD) steel pipe. Compute the Horizontal Beam Length with the formula below.
W= Module Width (inches) Q= Quantity of Modules
Beam Length Formula: Length (inches) = 4.82 + (Q x W) + ((Q – 1) x 1.28)
This is the minimum length required. There is no problem if the Main Beam is longer. 6 Module Example with modules that are 39.5-inches wide:
4.82” + (6 x 39.5”) + (5 x 1.28”) = 248.22 inches (or 20′ 8-1/4″)
Pipe generally comes in 21′ lengths
When using a single vertical pole (4” Sch-40 pipe) (1-4 modules) center the beam over the vertical post. When using 2 vertical posts, determine post center to center spacing. (2 posts required for 5 to 6 modules) Mark the placement of the Mid Clamp and End Clamp U-Bolts on the Horizontal Beam.
If you are mounting an even number of modules, there will be a clamp at the center point of the Horizontal Beam. If you are mounting an odd number of modules there will be a clamp on each side of the center of the Horizontal Beam that are W+1.28-inches apart.
Assemble Pipe Cap(s) and Horizontal Beam
- Place Top Cap(s) on 4-inch Schedule 40 vertical post(s) but do not tighten set-screws at this time.
- Place the Horizontal Beam pipe onto the Pipe Cap casting.
- Place the 1/2-inch U-bolts over the Horizontal beam through the holes in the Cap. Loosely attach with 1/2-inch nuts.
- Align the Horizontal Beam approximately east to west and torque the set-screws to 40 ft-lbs.
- Tighten the jam nuts to prevent the screws from backing off over time.
- Tighten the nuts on the U-bolts to keep the Horizontal Beam from rotating as you install the modules. Torque on these nuts after you set the tile angle later in the installation.
- Save the additional 4 nuts to lock the u-bolts after torquing later in the installation.

Install-Module Clamps
Position and place the Mid Clamps and End Clamps onto the Main Beam at the marked locations. See the spacing info on the previous page.
Use a level to put each Mid and End Clamp in a horizontal position before tightening their U-bolts
Tighten the U-bolt nuts just enough to hold the horizontal position as you will be placing solar modules onto them in the next steps. You will need to move the clamps slightly after you place the solar modules between them so that the module frames are tight against the vertical stops on the mid-clamps.

Start in the center of the Main Beam. Lay the first module onto the flat flanges of the clamp bases.
Center the solar module in the north/south direction to overhang equally past the clamps.
Loosen the next mid clamp and move it against the first solar module so that both clamps are firmly against the module frame and re-tighten to hold the position.
Add modules one at a time and repeat this procedure in both directions.
Place each solar module onto the mid clamp base and center the module to overhang equally past the clamps.
Install Mid Clamp tops with the 1/4 x 2.5-inch hex bolts, flat & lock washers after the mid clamps have been moved thight against the module frames.
Be sure that the bolt holes in the top part of each clamp lines up with the threaded hole in the bottom part of the clamp. It is a good idea to use antisieze compound on these bolts. Start the bolts by hand far enough to be sure they are not cross-threaded and torque to 84 inch-lbs (7 ft-Lbs). TO AVOID DAMAGE TO THE BOLT AND FASTENER, DO NOT OVERTIGHTEN. The flanges on the top part of the clamp will pull down on the top of the module frames when the bolts are tightened.
Tighten Mid Clamp U-Bolts
As each module clamp is positioned tight against module frames, thighten the U-Bolt nuts through the square access holes on the top of the top clamps. Torque the U-Bolts nuts to 20 ft-lbs.
End Clamp Installation
- Install an End Clamp at both ends of the mount, tightening the U-bolts just enough to hold them in a horizontal position. Leave an extra 1/4” of space, more than the PV module width, between the End Clamp and the Mid Clamp to allow for easy insertion of the module.
- Starting at one end of the array, place an end PV module tight up against the last Mid Clamp, and rest the other side of the PV module on the bottom tabs of the End Clamp to hold it up.

- Loosen the End Clamp U-Bolts if necessary and move it to fit firmly against the solar module frame and re-tighten to hold position.
Attach Panel Frame Clamps to the end clamp base with the 5/16-18 x 7/8 bolt flange nut and washer as shown, torque to 12ft Lbs. NOTE: The Panel Frame Clamp must be resting on the inside of the solar module frame with bolts against the solar module frame. - Tighten the U-Bolt nuts on the End clamps to 20 Ft-lbs. There are slots in the End Clamp base to use for the module clamp. Choose two of the slots that place the frame clamp closest to the mounting hole in the solar module frame. We provide two possible positions for the module clamps because some modules have cross braces that interfere with placing the clamp.

Set Final Angle
All of the modules should be horizontal at this point.
Check to make sure that all of the module clamp bolts and U-bolts are tightened to the proper torque specifications before proceeding.
Loosen all the U-Bolt nuts on the PGRM Cap(s). Use both hands to rotate the entire array to the desired angle and re-tighten the U-Bolt nuts on the PGRM Cap(s). Torque these bolts to 40 ft-lbs to lock the angle.
After all nuts on the Cap U-bolts are fully torqued, add a second nut to each U-bolt below the first and tighten firmly to lock the first nut in place.
Foundation Hole Guidelines
The suggestions below are recommendations only. It is the installer’s responsibility to validate foundation parameters prior to installation, as local geotechnical report may be required to assess ground conditions. We recommend consulting with a local engineer familiar with local regulations and build site requirements, including soil conditions, terrain and load criteria (wind, snow, seismic). All of these parameters may impact foundation requirements.
| PGRM Foundation hole guidelines ‐ Exposure Category C | |||||
| Module Area Square Feet | One Vertical 4‐inch Schedule 40 Pole | Two Vertical 4‐inch Schedule 40 Poles | |||
| Min. Hole Diameter | Min Hole Depth | Min. Hole Diameter | Min Hole Depth | ||
| 40 | 20 inches | 45 inches | |||
| 50 | 24 inches | 40 inches | |||
| 60 | 24 inches | 45 inches | |||
| 70 | 24 inches | 60 inches | |||
| 80 | 24 inches | 66 inches | 20 inches | 45 inches | |
| 92 | 24 inches | 74 inches | 24 inches | 40 inches | |
| 120 | 24 inches | 45 inches | |||
Installation Recommendations
Auger hole to the minumum depth shown in the table above
The bottom of the hole should be filled with crushed rock or equivalent to prevent the pipe from touching the base of the hole.
The pipe should be installed vertically and braced to remain in position until the concrete has cured at least 24 hours.
Warranty Information
Tamarack Solar warrants each Mounting Structure to be free from defects in materials and workmanship for ten (10) years from the date of first purchase (“Warranty Period”), when installed properly and used for the purpose for which it is designed, except for the finish, which shall be free from visible peeling, or cracking or chalking under normal atmospheric conditions for a period of three (3) years, from the earlier of 1) the date the installation of the Product is completed, or 2) 30 days after the purchase of the Product by the original Purchaser (“Finish Warranty”). The Finish Warranty does not apply to any foreign residue deposited on the finish.
Galvanized coated sheet steel components will show rust on cut edges and is normal and will not affect the structure and function of the mount.
All installations in corrosive atmospheric conditions are excluded. The Finish Warranty is VOID if the practices specified by AAMA 609 & 610-02 – “Cleaning and Maintenance for Architecturally Finished Aluminum” (www. aamanet.org) are not followed by Purchaser for Tamarack Solar’s aluminum-based products.
The warranty covers the replacement cost of parts to repair the product to proper working condition. Transportation and incidental costs associated with warranty items are not reimbursable. The warranty does not cover normal wear, or damage resulting from misuse, abuse, improper installation, negligence, or accident, or typographical errors in instruction manuals. The Warranty does not cover any defect that has not been reported in writing to Tamarack Solar within ten (10) days after discovery of such defect. Furthermore, it does not cover units that have been altered, modified or repaired without written authorization from the manufacturer or its authorized representative, or units used in a manner or for a purpose other than that specified by the manufacturer. Tamarack Solar’s entire liability and Purchaser exclusive remedy, whether in contract, tort or otherwise, for any claim related to or arising out of breach of the warranty covering the Mounting Structures shall be correction of defects by repair, replacement, or credit, at Tamarack Solar’s discretion. Refurbished Mounting Structures may be used to repair or replace the Mounting Structures
Tamarack Solar shall have no liability for any injuries or damages to persons or property resulting from any cause, whatsoever, or any claims or demands brought against Tamarack Solar by Purchaser, any employee of Purchaser, client of Purchaser, end-user of the Product or other party, even if Tamarack Solar has been advised of the possibility of such claims or demands (collectively, “Third Party Claims”). This limitation applies to all materials provided by Tamarack Solar during and after the Warranty Period.
Tamarack UNI-PGRM Series Economy Horizontal Four Module Top of Pole Mount



















