HUAWEI 31509029 SUN2000P-375 W Smart PV Optimizer

Overview

Model Naming Conventions
SUN2000P-375 W
- SUN2000P: smart PV optimizer
- 375 W: maximum input power 375 W
Port Definition

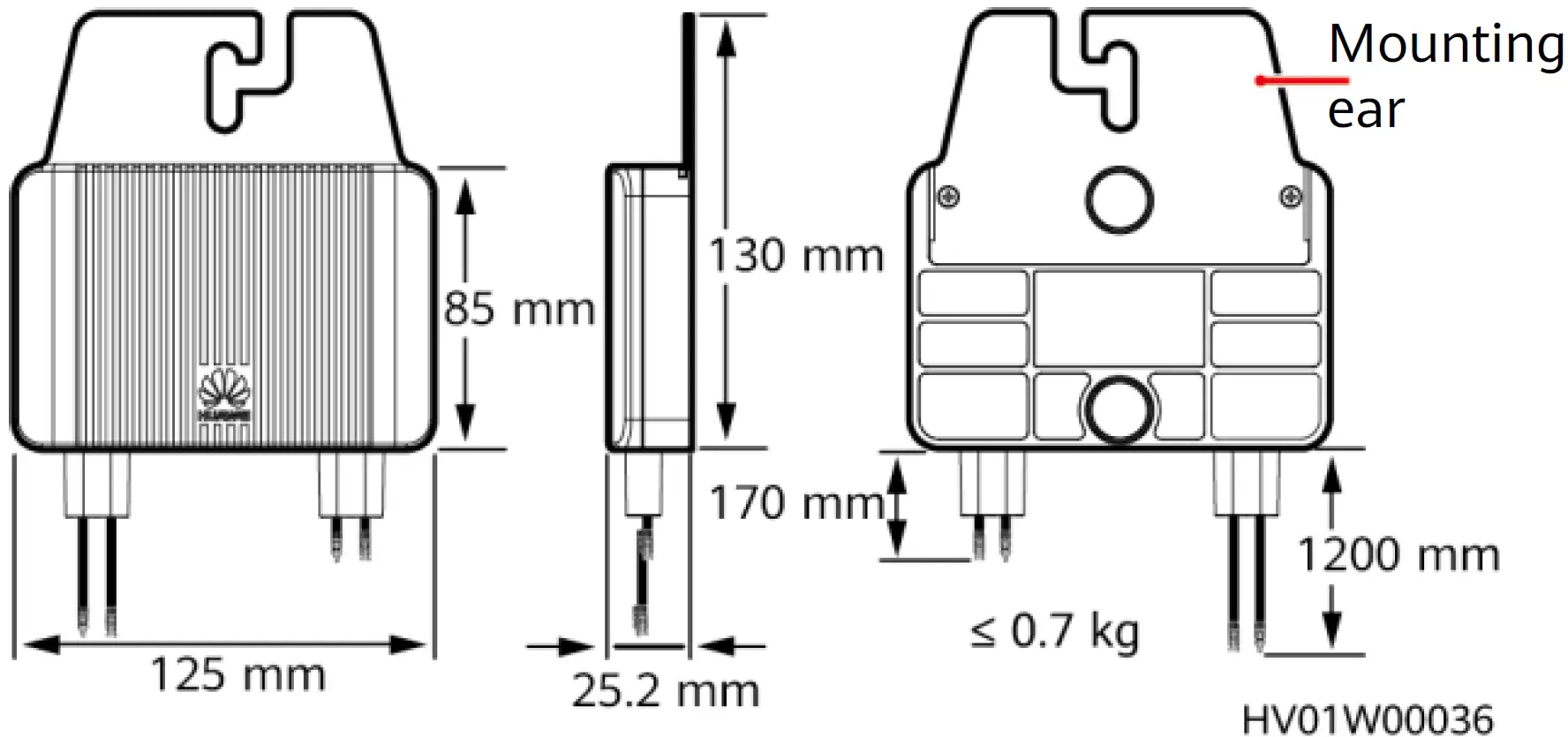
Installing the SUN2000P
Secure the SUN2000P to a PV module support or PV module frame. The fittings required depend on the installation position.
Installing the SUN2000P on the Extruded Aluminum Profile of a PV Module Support
- Assemble the flange nut and SUN2000P.

- Install the SUN2000P on the extruded aluminum profile.

- Tighten the nut.

Installing the SUN2000P (Front Outwards) on a PV Module Frame
- Install the frame mounting bracket on the back of the PV module frame.

- Assemble the SUN2000P and the frame mounting bracket.

- Secure the frame mounting bracket.

Note:
- The front of the SUN2000P should be at least 20 mm away from the rooftop.
- Do not press the SUN2000P mounting ear against the positioning pole of the frame mounting bracket.
Installing the SUN2000P (Back Outwards) on a PV Module Frame
- Install the frame mounting bracket on the back of the PV module frame.

- Assemble the SUN2000P and the frame mounting bracket.

- Secure the frame mounting bracket.

Note:
The front of the SUN2000P should be at least 10 mm away from the back of the PV module. The frame mounting bracket should be at least 20 mm away from the rooftop.
Installing the SUN2000P on the Steel Channel of a PV Module Support (Through a Slot)
- Install the T-shaped nut on the steel channel.

- Assemble the T-shaped nut and SUN2000P.

- Tighten the nut.

Note:
The mounting bracket applies to a 40 mm or 41 mm thick steel channel.
Installing the SUN2000P on the Steel Channel of a PV Module Support (Through a Hole)
- Install the T-shaped nut on the steel channel.

- Assemble the T-shaped nut and SUN2000P.

- Tighten the nut.

Note:
The mounting bracket applies to a slotted hole with a width of no less than 11 mm and length of no less than 32 mm, and the steel channel is 40 mm or 41 mm thick.
Installing the SUN2000P Cable
Warning:
- Install SUN2000P cables as shown in the following figure. Failing to do so may damage the SUN2000P or PV module.
- If a SUN2000P does not connect to any other device, connect the OUT+ and OUT- ports of the SUN2000P respectively to the IN+ and IN– ports to protect the terminals from water.
Note:
- The SUN2000Ps in the same PV string can be installed in various orientations and tilts, and on various types of PV modules. The following figure shows how SUN2000Ps are installed on the same side of PV module frames.
- A SUN2000P should be less than 0.8 meter away from the connection box, and less than 2 meters away from the next SUN2000P.
- A SUN2000P should be 1-350 meters away from the inverter.
- Connect the IN+ port and IN- port on the first SUN2000P respectively to the positive and negative wiring terminals in the PV module connection box.
- Connect the OUT- port on the first SUN2000P to the OUT+ port on the next SUN2000P.
- Connect other SUN2000P cables in turn by following steps 1 and 2.
- Connect the OUT- port on the last SUN2000P to the IN- port on the smart PV safety box or the PV- port on the inverter.
- Connect the OUT+ port on the first SUN2000P to the IN+ port on the smart PV safety box or the PV+ port on the inverter.
Full Configuration of Optimizers

Optional Configuration of Optimizers

Note:
It is recommended that positive and negative cables (IN+/IN– or PV+/PV–) between the SUN2000P and the smart PV safety box or inverter be pulled straight, placed in parallel, and do not tangle.
Verifying the Installation
- Check that all mounting brackets are securely installed and all screws are tightened.
- Check that all cables are reliably connected with correct polarity and no short circuit.
Powering On the System
For details, see the description about inverter power-on.
Huawei Technologies Co., Ltd.
Huawei Industrial Base, Bantian, Longgang
Shenzhen 518129 People’s Republic of China
www.huawei.com



































