BLAUBERG Ventilation SHM 100 DK Wall Ventilator User Manual
This user’s manual is a main operating document intended for technical, maintenance, and operating staff.
The manual contains information about purpose, technical details, operating principle, design, and installation of the SHM 100 DK unit and all its modifications.
Technical and maintenance staff must have theoretical and practical training in the field of ventilation systems and should be able to work in accordance with workplace safety rules as well as construction norms and standards applicable in the territory of the country.
SAFETY REQUIREMENTS
This unit is not intended for use by persons (including children) with reduced physical, sensory or mental capabilities, or lack of experience and knowledge, unless they have been given supervision or instruction concerning use of the unit by a person responsible for their safety.
Children should be supervised to ensure that they do not play with the unit.
This appliance can be used by children aged from 8 years and above and persons with reduced physical, sensory or mental capabilities or lack of experience and knowledge if they have been given supervision or instruction concerning use of the appliance in a safe way and understand the hazards involved.
Cleaning and user maintenance shall not be made by children without supervision.
Children shall not play with the appliance.
Precautions must be taken to avoid the back-flow of gases into the room from the open flue of gas or other fuel-burning appliances.
Do not attach the product to the support using glue or adhesives. Use only the fastening method specified in the «User’s manual».
All user’s manual requirements as well as the provisions of all the applicable local and national construction, electrical, and technical norms and standards must be observed when installing and operating the unit.
Disconnect the fan from power supply prior to any connection, servicing and repair operations.
Check the unit for any visible damages of the impeller and the casing before starting installation.
The casing internals must be free of any foreign objects which can damage the impeller blades.
While mounting the unit, avoid compression of the casing!|
Deformation of the casing may result in the motor jam and excessive noise.
Misuse of the unit and any unauthorized modifications are not allowed.
Do not expose the unit to adverse atmospheric agents (rain, sun, etc.).
Transported air must not contain any dust or other solid impurities, sticky substances, or fibrous materials.
Do not use the unit in a hazardous or explosive environment containing spirits, gasoline, insecticides, etc.
Do not close or block the intake or extract vents in order to ensure the efficient air flow.
Do not sit on the unit and do not put objects on it.
The information in this user’s manual was correct at the time of the document’s preparation.
The Company reserves the right to modify the technical characteristics, design, or configuration of its products at any time in order to incorporate the latest technological developments.

THE PRODUCT MUST BE DISPOSED SEPARATELY AT THE END OF ITS SERVICE LIFE.
DO NOT DISPOSE THE UNIT AS UNSORTED DOMESTIC WASTE.
PURPOSE
The ventilator is designed to ensure continuous mechanical air exchange in flats, cottages, hotels, cafés and other domestic and public premises. Designed for in-wall installation. In sunny weather, the ventilator provides ventilation due to the built-in fan, which is powered by a solar battery. In cloudy weather and at night, natural ventilation is created due to the difference in pressure in the room and outside.
DELIVERY SET
| Name | Number |
| Internal grille with a built-in fan | 1 pc. |
| Outer ventilation hood with a built-in solar battery | 1 pc. |
| Telescopic air duct | 1 pc. |
| Screws with dowels | 8 pcs. |
| User’s manual | 1 pc. |
| Packing box | 1 pc. |
TECHNICAL DATA
The temperature in the room where the indoor unit of the ventilator is installed must be in the range from +5 °C to + 40 °C with relative humidity up to 65 % (no condensation build-up). If the conditions of using the ventilator exceed the specified limits, ensure the flow of fresh air through the windows.
The solar battery should be installed in a place with the maximum intensity of sunlight, for example, on the south side of the building.
Protect the surface of the photocells against possible damage, including scratches, as this reduces the amount of light that reaches the photocells and therefore the output current.
The temperature of the transported air should be in the range from -15 ˚С to +40 ˚С.
The unit is rated as a Class III electrical appliance.
Ingress protection rating against access to hazardous parts and water ingress is IP24.
The ventilator design is constantly being improved, thus some models may be slightly different from those described in this manual.
| Voltage [V] | Current [A] | Impeller RPM [min-¹] | Air flow [m³/h] |
| 9 | 0.064 | 1390 | 13 |
| 12 | 0.073 | 1754 | 15 |
| 15 | 0.083 | 2140 | 17 |
| 18 | 0.092 | 2490 | 20 |
The dimensions of the ventilator are shown below.

DESIGN AND OPERATING PRINCIPLE
The ventilator consists of an internal grille, telescopic air duct, and external grille.
The internal grille is made of high quality ABS plastic and is equipped with a dust filter (G3 class). The built-in regulator allows you to change the supply air volume or completely close the ventilation duct. The fan is installed on the flange of the grille. The length of the telescopic PVC air duct is adjustable.
The outer grille is made of high-quality UV-resistant ASA plastic. The solar panel is attached to the surface of the hood to power the motor.

The solar battery provides autonomous power for the fan motor. The fan creates a more intense air exchange than with conventional passive ventilation.
The electrical parameters of the battery vary according to the intensity of the solar flux.
In the dark, the ventilator functions as a passive ventilation element.
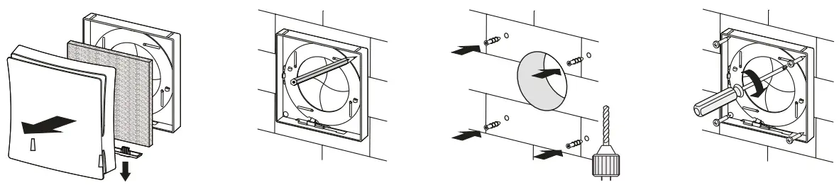
MOUNTING AND SET-UP
READ THE USER’S MANUAL BEFORE INSTALLING THE UNIT.
BEFORE INSTALLING ADDITIONAL EXTERNAL DEVICES, READ THE RELEVANT USER MANUALS.
DO NOT BLOCK THE AIR DUCT OF THE INSTALLED VENTILATOR WITH DUST ACCUMULATING MATERIALS, SUCH AS CURTAINS, CLOTH SHUTTERS, ETC.
AS IT PREVENTS AIR CIRCULATION IN THE ROOM.
To install an external ventilation hood or grille, it is necessary to have access to the external surface of the wall at the place of installation.
- Prepare a round core hole in the outer wall.
The diameter of the hole depends on the specific model of the ventilator and is indicated in the table of overall dimensions in the «Technical data» section.
- Install the telescopic air duct in the hole in such a way that its sections coincide with the outer and inner surface of the wall. For ease of installation, use mounting wedges.
Install the air duct with the minimum slope of 3 mm downwards from the outer wall side.
- Install the outdoor grille, connecting the power from the solar battery to the fan.

- Install the internal grille.

- Adjust the airflow regulator.

- Assemble the internal grille.

![]()
ALL THE COMPONENTS OF THE UNIT ARE ITS INTEGRAL PARTS.
MAINTAINING THE FACTORY CONFIGURATION AND FORM FACTOR IS ABSOLUTELY ESSENTIAL FOR THE PROPER AND CONSISTENT FUNCTIONING OF THE UNIT
ANY UNAUTHORISED ALTERATIONS TO THE UNIT FORM FACTOR OR FAILURE TO ADHERE TO THE ELECTRICAL CONNECTIONS DIAGRAM SHALL RELIEVE THE MANUFACTURER FROM LIABILITY FOR ANY RESULTING MALFUNCTIONS AND VOID THE UNIT WARRANTY.
TECHNICAL MAINTENANCE
The technical maintenance includes periodic cleaning of the grille and solar battery surfaces from accumulated dust and dirt, as well as washing the built-in filter as it becomes dirty, but at least once every 6 months.
To clean the unit, wipe its surfaces with a cloth or a brush wetted in a mild soap solution, then wipe the surfaces dry.
Avoid penetration of water inside the electric motor and other electric parts.

TROUBLESHOOTING
POSSIBLE REASONS AND TROUBLESHOOTING
| Problem | Possible reasons | Troubleshooting |
| When switching on the ventilator, the fan does not start. | No power supply. | Make sure the power supply line is connected correctly, otherwise troubleshoot a connection error. |
| The motor is jammed, the impeller blades are soiled. | Turn the ventilator off. Troubleshoot the motor jam and impeller clogging. Clean the blades. Turn the ventilator on. | |
| Low air flow. | The filter or the fan is clogged. | Clean or replace the filter, clean the fan. |
| The solar battery is dirty. | Clean the solar battery. | |
| Noise, vibration. | The impeller is clogged. | Clean the impeller. |
| Loose screw connection of the unit casing or the outer ventilation hood. | Tighten the screws of the ventilator or the outer ventilation hood. |
STORAGE AND TRANSPORTATION REGULATIONS
- Store the unit in the manufacturer’s original packaging box in a dry closed ventilated premise with temperature range from +5 °C to + 40 °C and relative humidity up to 70 %.
- Storage environment must not contain aggressive vapors and chemical mixtures provoking corrosion, insulation, and sealing deformation.
- Use suitable hoist machinery for handling and storage operations to prevent possible damage to the unit.
- Follow the handling requirements applicable for the particular type of cargo.
- The unit can be carried in the original packaging by any mode of transport provided proper protection against precipitation and mechanical damage. The unit must be transported only in the working position.
- Avoid sharp blows, scratches, or rough handling during loading and unloading.
- Prior to the initial power-up after transportation at low temperatures, allow the unit to warm up at operating temperature for at least 3-4 hours.
MANUFACTURER’S WARRANTY
The product is in compliance with EU norms and standards on low voltage guidelines and electromagnetic compatibility. We hereby declare that the product complies with the provisions of Electromagnetic Compatibility (EMC) Directive 2014/30/EU of the European Parliament and of the Council, Low Voltage Directive (LVD) 2014/35/EU of the European Parliament and of the Council and CE-marking Council Directive 93/68/EEC. This certificate is issued following test carried out on samples of the product referred to above.
The manufacturer hereby warrants normal operation of the unit for 24 months after the retail sale date provided the user’s observance of the transportation, storage, installation, and operation regulations. Should any malfunctions occur in the course of the unit operation through the Manufacturer’s fault during the guaranteed period of operation, the user is entitled to get all the faults eliminated by the manufacturer by means of warranty repair at the factory free of charge. The warranty repair includes work specific to elimination of faults in the unit operation to ensure its intended use by the user within the guaranteed period of operation. The faults are eliminated by means of replacement or repair of the unit components or a specific part of such unit component.
The warranty repair does not include:
- routine technical maintenance
- unit installation/dismantling
- unit setup
To benefit from warranty repair, the user must provide the unit, the user’s manual with the purchase date stamp, and the payment paperwork certifying the purchase. The unit model must comply with the one stated in the user’s manual. Contact the Seller for warranty service.
The manufacturer’s warranty does not apply to the following cases:
- User’s failure to submit the unit with the entire delivery package as stated in the user’s manual including submission with missing component parts previously dismounted by the user.
- Mismatch of the unit model and the brand name with the information stated on the unit packaging and in the user’s manual.
- User’s failure to ensure timely technical maintenance of the unit.
- External damage to the unit casing (excluding external modifications as required for installation) and internal components caused by the user.
- Redesign or engineering changes to the unit.
- Replacement and use of any assemblies, parts and components not approved by the manufacturer.
- Unit misuse.
- Violation of the unit installation regulations by the user.
- Violation of the unit control regulations by the user.
- Unit connection to power mains with a voltage different from the one stated in the user’s manual.
- Unit breakdown due to voltage surges in power mains.
- Discretionary repair of the unit by the user.
- Unit repair by any persons without the manufacturer’s authorization.
- Expiration of the unit warranty period.
- Violation of the unit transportation regulations by the user.
- Violation of the unit storage regulations by the user.
- Wrongful actions against the unit committed by third parties.
- Unit breakdown due to circumstances of insuperable force (fire, flood, earthquake, war, hostilities of any kind, blockades).
- Missing seals if provided by the user’s manual.
- Failure to submit the user’s manual with the unit purchase date stamp.
- Missing payment paperwork certifying the unit purchase.
FOLLOWING THE REGULATIONS STIPULATED HEREIN WILL ENSURE A LONG AND TROUBLE-FREE OPERATION OF THE UNIT.
USER’S WARRANTY CLAIMS SHALL BE SUBJECT TO REVIEW ONLY UPON PRESENTATION OF THE UNIT, THE PAYMENT DOCUMENT AND THE USER’S MANUAL WITH THE PURCHASE DATE STAMP.
CERTIFICATE OF ACCEPTANCE
| Unit Type | Wall ventilator |
| Model | |
| Serial Number | |
| Manufacture Date | |
| Quality Inspector’s Stamp |
SELLER INFORMATION
| Seller | |
| Address | |
| Phone Number | |
| Purchase Date | |
| This is to certify acceptance of the complete unit delivery with the user’s manual. The warranty terms are acknowledged and accepted. | |
| Customer’s Signature | |

Seller’s Stamp
INSTALLATION CERTIFICATE
| The unit is installed pursuant to the requirements stated in the present user’s manual. | ||
| Company name | ||
| Address | ||
| Phone Number | ||
| Installation Technician’s Full Name | ||
| Installation Date: | Signature: | |
| The unit has been installed in accordance with the provisions of all the applicable local and national construction, electrical and technical codes and standards. The unit operates normally as intended by the manufacturer. | ||
| Signature: | ||

Installation Stamp
WARRANTY CARD
| Unit Type | Wall ventilator |
| Model | |
| Serial Number | |
| Manufacture Date | |
| Purchase Date | |
| Warranty Period | |
| Seller |

Seller’s Stamp
www.blaubergventilatoren.de
B227EN-01






















